Каталог запасных частей к технике: МЗКТ-74296. Распределитель 742952-3416010
1
2
2
3
4
4
5
5
6
6
7
8
9
10
10
11
11
12
12
13
13
14
14
15
16
17
17
18
19
20
21
22
23
24
25
26
27
28
29
30
31
32
33
34
35
36
37
38
39
40
41
42
43
44
45
46
47
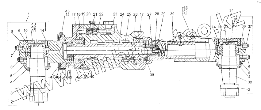
| Позиция на иллюстрации | Заводской номер детали | Название детали | |
|---|---|---|---|
| 1 | 7922-3416066-10 | Наконечник | |
| 2 | 375064 | Гайка М27х2-5Н6Н | |
| 3 | 7922-3416094-10 | Палец | |
| 4 | 547А-3416116 | Уплотнитель | |
| 5 | 258285 | Шплинт 1.6х275 | |
| 6 | 367116 | Клапан предохранительный | |
| 7 | 264040 | Масленка 2.3.90.Ц6 | |
| 8 | 7922-3416070-10 | Наконечник | |
| 9 | 7911-3414076 | Крышка | |
| 10 | 0000-3405205 | Подшипник ШСР-35 | |
| 11 | 69237-3414146 | Диск стопорный | |
| 12 | 370730 | Болт 3М8-6gх18 | |
| 13 | 258278 | Шплинт 1,6х100 | |
| 14 | 233039 | Винт 2М5-6gх14 | |
| 15 | 220077 | Винт М5-6gх10 | |
| 16 | 252133 | Шайба 5Т | |
| 17 | 543-3405122-Б | Корпус уплотнения | |
| 18 | 0000-1716728 | Кольцо 018-022-25-2-2 | |
| 19 | 543-3405034 | Упор | |
| 20 | 525-3405032 | Пружина | |
| 21 | 262541 | Пробка КГ 1/8" | |
| 22 | 0000-3416201 | Шарик 11,112-60 (469116738) | |
| 23 | 378609 | Пробка М22х1,5-6h | |
| 24 | 7922-3416032-10 | Стержень стяжной | |
| 25 | 7922-3416030 | Золотник | |
| 26 | 7414-3416020 | Корпус распределителя | |
| 27 | 250691 | Гайка М16х1,5-5Н6Н | |
| 28 | 375848 | Шайба 12 | |
| 29 | 250615 | Гайка М12х1,25-6Н | |
| 30 | 742952-3416061 | Тяга | |
| 31 | 201571 | Болт М12х1,25-6gх50 | |
| 32 | 250515 | Гайка М12х1,25-6Н | |
| 33 | 252137 | Шайба 12 ОТ | |
| 34 | 79301-3416072 | Наконечник | |
| 35 | 7911-3414076 | Крышка | |
| 36 | 79301-3416074 | Наконечник | |
| 37 | 264020 | Масленка 1.3.Ц6 | |
| 38 | 7922-3416094 | Палец | |
| 39 | 7922-3416090 | Ограничитель хода | |
| 40 | 0000-3405845 | Кольцо У-50х45-2 | |
| 41 | 0000-3405858 | Кольцо Н1-42х35-2 | |
| 42 | 7922-3416034 | Втулка | |
| 43 | 7922-3416024 | Сухарь | |
| 44 | 0000-3416771 | Кольцо 050-056-36-2-2 | |
| 45 | 7922-3416076-10 | Стакан наконечника | |
| 46 | 7922-3416096 | Скребок | |
| 47 | 7922-3416092 | Обойма |
Содержащиеся в справочниках-каталогах запасные части и детали не предлагаются к продаже, а носят исключительно информационный характер