Вернуться на главную
Поиск
Каталоги запчастей к технике
Грузовые автомобили и прицепы
МЗКТ
МЗКТ-74296
Дифференциал межосевой 7919-2326010-01
Каталог запасных частей к технике: МЗКТ-74296. Дифференциал межосевой 7919-2326010-01
zoom-in
zoom-out
enlarge
shrink
circle-right
circle-left
file-text2
info
cart
Тип техники
Не выбрано
Легковые автомобили
Грузовые автомобили и прицепы
Автобусы
Сельхозтехника
Спецтехника
Двигатели
Мототехника
Марка
Не выбрано
BAW
DAF
DongFeng
FAW
Foton
HOWO
Hyundai
IVECO
JAC Motors
LGMG
MAN
Shaanxi
SITRAK
Studebaker
Tata
Volvo
Автокомпонент Плюс
БелАЗ
Брянский Арсенал
ГАЗ
ЗИЛ
КАЗ
Камский автозавод
КрАЗ
Мадара
МАЗ
МЗКТ
МоАЗ
Нефтекамский автозавод
Ставропольский Завод АвтоПрицепов
ТАТРА
Тонар
УралАЗ
ЧМЗАП
Модель
Не выбрано
МЗКТ-65151 "Волат" (2010)
МЗКТ-65158 (1999)
МЗКТ-652511 (2010)
МЗКТ-6527 (2010)
МЗКТ-700600-011 (2013)
МЗКТ-7401 (2010)
МЗКТ-7402 (2010)
МЗКТ-74131 (1996)
МЗКТ-74171 (2010)
МЗКТ-7429 (2005)
МЗКТ-74296 (2010)
МЗКТ-75165 (2005)
МЗКТ-751652 (2005)
МЗКТ-79011 (2010)
МЗКТ-79091 (2005)
МЗКТ-79092 (2005)
МЗКТ-79092 (нов.) (2005)
МЗКТ-79096 (2005)
МЗКТ-79097 (2005)
МЗКТ-7930-200 (2005)
МЗКТ-93782 (2010)
Схема
>
Не выбрано
Установка кабины
Установка ветровых окон и стеклоочистителя
Установка омывателя
Механизм подъёма кабины
Цилиндр гидравлический 79092-5003010-10
Насос опрокидывающего механизма 79092-5004010
Установка дверей
Установка стеклоподъёмника передней двери
Установка стеклоподъёмника задней двери
Установка и пневмопитания сидений
Трубопроводы системы вентиляции агрегатов
Установка отопителя
Установка трубопроводов отопителя кабины
Кран управления отопителем
Установка системы управления отопителем кабины
Установка держателей зеркал и зеркал
Установка трапа
Установка противосолнечного козырька
Установка крыльев и подножек
Установка ограждения и крыльев задних
Установка защитных листов
Установка крыльев
Установка двигателя
Установка агрегатов системы смазки двигателя
Пробка заливной горловины 543-1018270
Установка топливопроводов
Установка переднего топливного бака
Бак топливный передний 74296-1101008
Установка топливного бака
Бак топливный 7930-1101010
Установка воздухоочистителя
Пробка перепускного крана 652712-1104608
Установка охладителя наддува
Установка агрегатов топливной системы
Привод управления подачей топлива
Педаль с кронштейном 74296-1108005
Привод гибкий 74296-1108292
Привод останова двигателя
Установка насосов БЦН
Насос БЦН 79111-1133030, 7908-1139016
Установка системы выпуска отработавших газов
Установка трубопроводов моторного тормоза
Установка радиатора
Радиатор 79095-1301010, 79095-1301011
Вентилятор с приводом 74296-1308006
Вентилятор 74296-1308010
Коробка клапанная 8021-1915010
Фильтр 80211-1910050-10
Фильтр 80211-1910050-11
Фильтр 80211-1910050-12
Установка дефлектора радиатора
Установка трубопроводов системы охлаждения
Установка бачка расширительного
Бачок расширительный 79092-1311010-20
Установка клапана редукционного
Клапан редукционный 6525-1304010
Установка гидромеханической передачи
Установка теплообменника ГМП
Установка трубопроводов ГМП
Привод силового регулятора
Установка трубопроводов управления тормозом-замедлителем ГМП
Установка раздаточной коробки
Картерные детали и узлы раздаточной коробки
Валы и шестерни раздаточной коробки
Картер раздаточной коробки 7930-1802010-10
Привод масляного насоса раздаточной коробки
Пневмопереключатель 7930-1803100-10
Крышка 7930-1802190-01
Картер блокировки 7930-1802230-01
Hacoc 79097-1808010
Механизм отбора мощности 74952-1810010
Установка управления раздаточной коробкой
Установка трубопроводов
Установка бака
Бак 8021-1917010
Установка валов трансмиссионных
Вал карданный 547A-2201010-01
Валы карданные 547A-2205010, 7911-2206010-01, 74296-2218010, 79092-2218010
Вал карданный 79092-2201010
Опора промежуточная 7929-2220010-10
Подвеска редуктора моста 7930-2301025
Редуктор переднего и заднего моста 742952-2302010, 742952-2422010
Шестерня ведущая 547A-2302021
Дифференциал межколесный 543-2303010-01
Полуось 547A-2403069
Редуктор 2-ого переднего моста 74295-2322010-11
Редукторы главной передачи 7917-2322004, 7929-2402004
Редуктор привода 74131-2322007
Hacoc 543-2312400
Шестерня коническая ведущая 7911-2322021-01
Дифференциал межосевой 7919-2326010-01
Опора промежуточная 74295-2322260-10
Вал карданный полуосевой 7909-2303100
Редуктор 1-ого заднего моста 74295-2402010-11
Редуктор привода 74133-2402007-10
Дифференциал межколесный 7911-2403010-01
Комплект дифференциала 7911-2403004-03
Шестерня коническая ведущая 79092-2422021
Привод управления блокировкой дифференциалов
Рама 74296-2800001
Подвеска передняя 742953-2901010
Рычаги подвески
Рессора задняя 74131-2912012
Подвеска задняя 74131-2910010
Амортизатор 543-2905306-21
Колесо 74296-3101011
Ступицы колеса передние и задняя 742953-3103002,742953-3103003, 742953-3104002
Ступицы передние и задние 742953-3103006, 742953-3104006
Ступица с горловиной 74295-3103008
Суппорт тормоза передний и задний 7930-3501010, 7908-3502010-01
Цилиндр колесного тормоза 7917-3501050
Колодка тормоза 543-3501090-A
Поворотное устройство правое, поворотное устройство левое
Вентиль с корпусом 547A-3106048-01
Головка подвода воздуха 74295-4224010
Установка крана накачки шин
Присоединительная арматура и крепление клапана-ограничителя
Присоединительная арматура к крану накачки шин
Трубопроводы системы накачки шин
Кран накачки шин 543-4222010-21
Привод управления краном 7930-3122110
Клапан пылезащитный 547A-8005230
Клапан-ограничитель 7410-3515010
Узлы привода поворота колес
Узлы привода и гидросистемы рулевого управления
Рулевой механизм 79092-3401004
Кронштейн с колонкой 64221-3403008
Распределитель 742952-3416010
Цилиндр 7930-3405005-02
Колонка рулевая 64221-3444010
Кронштейн с рычагом 7930-3414010, 7930-3414011, 7930-3414100-10
Кронштейн 7930-3414700
Тяги и наконечники
Вал карданный 742953-3422030, 74131-3444050
Опора промежуточная 742953-3422080
Установка кожухов рулевой колонки
Установка масляного бака
Бак масляный 742952-3410010-10
Блок клапанов 79092-3420010
Насос 74295-3407010
Установка насоса гидроусилителя руля
Установка фильтра воздушного
Установка аппаратов систеты обезвоживания воздуха
Установка клапана защитного
Установка воздушных баллонов
Установка воздушных баллонов
Присоединительная арматура к главным тормозным цилиндрам
Установка главного тормозного цилиндра
Главный тормозной цилиндр 742952-3505010
Клапан ускорительный 7908-3518010
Клапан обратный 543M-3515075
Трубопроводы гидравлической системы тормозов
Установка тормозного крана
Установка клапана двухмагистрального
Установка воздушного баллона потребителей
Установка воздушного баллона стояночного тормоза
Присоединительная арматура к тормозной камере и клапану включения
Управление стояночным тормозом
Установка крана стояночного тормоза
Клапан включения 74295-3537120
Кронштейн 74131-3508082
Кронштейн с энергоаккумулятором 74295-3508006
Установка клапана управления тормозами прицепа с двухпроводным приводом
Установка соединительных головок
Тормоз стояночный
Установка головного освещения
Установка аккумуляторных батарей и контейнера
Установка задних фонарей
Установка электрооборудования на шасси
Установка решеток на бампере
Установка пневмосигнала
Установка электрооборудования двигателя
Установка электрооборудования на кабине
Установка электрооборудования в кабине
Панель приборов основная
Панель приборов дополнительная
Установка блоков электронного управления
Установка седельного устройства
Установка подрамника и лебедки
Установка трубопроводов привода лебедки
Установка запасного колеса
Установка инструментального ящика
Установка бака для воды
Инструмент из комплекта ЗИ
Принадлежности из комплекта ЗИ
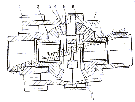
1
2
3
4
5
6
7
8
9
Позиция на иллюстрации
Заводской номер детали
Название детали
1
7919-2326120
Шестерня ведомая
2
543-2403051
Шайба опорная
3
543-2303058-01
Шайба сателлита
4
543-2303054
Сателлит со втулкой
5
543-2303060-01
Крестовина
6
7413-2326018-01
Чашка
7
535A-2303050
Шестерня полуоси
8
258254
Шплинт 1,2х200
9
371687
Болт 3М10-6gх50
Содержащиеся в справочниках-каталогах запасные части и детали не предлагаются к продаже, а носят исключительно информационный характер
Дополнительная информация
×
Название:
Номер:
Примечание: