Вернуться на главную
Поиск
Каталоги запчастей к технике
Грузовые автомобили и прицепы
МЗКТ
МЗКТ-74131
Цилиндр механизма усилителя
Каталог запасных частей к технике: МЗКТ-74131. Цилиндр механизма усилителя
zoom-in
zoom-out
enlarge
shrink
circle-right
circle-left
file-text2
info
cart
Тип техники
Не выбрано
Легковые автомобили
Грузовые автомобили и прицепы
Автобусы
Сельхозтехника
Спецтехника
Двигатели
Мототехника
Марка
Не выбрано
BAW
DAF
DongFeng
FAW
Foton
HOWO
Hyundai
IVECO
JAC Motors
LGMG
MAN
Shaanxi
SITRAK
Studebaker
Tata
Volvo
Автокомпонент Плюс
БелАЗ
Брянский Арсенал
ГАЗ
ЗИЛ
КАЗ
Камский автозавод
КрАЗ
Мадара
МАЗ
МЗКТ
МоАЗ
Нефтекамский автозавод
Ставропольский Завод АвтоПрицепов
ТАТРА
Тонар
УралАЗ
ЧМЗАП
Модель
Не выбрано
МЗКТ-65151 "Волат" (2010)
МЗКТ-65158 (1999)
МЗКТ-652511 (2010)
МЗКТ-6527 (2010)
МЗКТ-700600-011 (2013)
МЗКТ-7401 (2010)
МЗКТ-7402 (2010)
МЗКТ-74131 (1996)
МЗКТ-74171 (2010)
МЗКТ-7429 (2005)
МЗКТ-74296 (2010)
МЗКТ-75165 (2005)
МЗКТ-751652 (2005)
МЗКТ-79011 (2010)
МЗКТ-79091 (2005)
МЗКТ-79092 (2005)
МЗКТ-79092 (нов.) (2005)
МЗКТ-79096 (2005)
МЗКТ-79097 (2005)
МЗКТ-7930-200 (2005)
МЗКТ-93782 (2010)
Схема
>
Не выбрано
Установка кабины
Балка опоры 74131-5001660
Механизм запорный 5336-5001550
Механизм подъёма кабины
Цилиндр гидравлический 79092-5003010-10
Насос подъёма кабины 79092-5004010
Установка трубопроводов отопителя кабины
Установка отопителя независимого действия
Блок управления 74131-8109512
Установка топливопроводов независимого отопителя
Установка трубопроводов отопителя кабины
Двигатель
Подвеска двигателя
Система питания
Бак топливный
Управление подачей топлива, трубы выхлопные
Фильтр грубой очистки топлива
Кран топливораспределительный
Система охлаждения двигателя
Клапан редукционный, жалюзи радиатора, бачок расширительный
Установка радиатора
Радиатор с балкой 74131-1301006
Радиатор 74131-1301010, 74131-1301011
Установка бачка расширительного и редукционного клапана
Бачки расширительные 69234-1311010
Клапаны редукционные 7929-1304010
Кран сливной 547A-1305010-01
Установка редукторов привода вентиляторов
Редуктор входной привода вентилятора 74131-1315310
Якорь 7919-1317070
Щеткодержатель со щетками и кронштейном 7919-1317110
Муфта электромагнитная 7919-1317010
Вал-шестерня 7919-1315570
Шестерня ведущая 7919-1315330
Вал-шестерня 7919-1315340
Редуктор привода вентилятора 7919-1315311
Вал-шестерня 7919-1315440
Редуктор привода вентилятора 7919-1315312
Вал-шестерня 7919-1315420
Насос водяной 547A-1754010-10
Корпус с валом и крыльчаткой
Корпус с валом 547А-1754030
Вал карданный
Установка жалюзи
Демпферное соединение
Гидротрансформатор, механизмы редуктора и переключения коробки передач, подвеска ГМП
Гидротрансформатор, механизмы редуктора и переключения коробки передач, подвеска ГМП
Гидротрансформатор, механизмы редуктора и переключения коробки передач, подвеска ГМП
Гидротрансформатор, механизмы редуктора и переключения коробки передач, подвеска ГМП
Гидротрансформатор, механизмы редуктора и переключения коробки передач, подвеска ГМП
Гидротрансформатор, механизмы редуктора и переключения коробки передач, подвеска ГМП
Гидротрансформатор, механизмы редуктора и переключения коробки передач, подвеска ГМП
Гидротрансформатор, механизмы редуктора и переключения коробки передач, подвеска ГМП
Гидротрансформатор, механизмы редуктора и переключения коробки передач, подвеска ГМП
Гидротрансформатор, механизмы редуктора и переключения коробки передач, подвеска ГМП
Гидротрансформатор, механизмы редуктора и переключения коробки передач, подвеска ГМП
Гидротрансформатор, механизмы редуктора и переключения коробки передач, подвеска ГМП
Гидротрансформатор, механизмы редуктора и переключения коробки передач, подвеска ГМП
Гидротрансформатор, механизмы редуктора и переключения коробки передач, подвеска ГМП
Гидротрансформатор, механизмы редуктора и переключения коробки передач, подвеска ГМП
Насосы масляные
Гидротрансформатор, механизмы редуктора и переключения коробки передач, подвеска ГМП
Гидротрансформатор, механизмы редуктора и переключения коробки передач, подвеска ГМП
Управление переключением передач электрическое
Гидротрансформатор, механизмы редуктора и переключения коробки передач, подвеска ГМП
Гидротрансформатор, механизмы редуктора и переключения коробки передач, подвеска ГМП
Раздаточная коробка
Раздаточная коробка
Трубопроводы, привод управления механизмом включения повышающей передачи
Раздаточная коробка
Передача карданная трансмиссии
Редуктор 1-го моста
Редуктор привода
Мосты передние и задние
Мосты передние и задние
Вал карданный полуосевой
Шестерня коническая
Поворотное устройство
Насос
Шестерня коническая ведущая
Дифференциал межосевой
Дифференциал
Полуось и передача планетарная
Дифференциал межмостовой
Передача главная заднего первого моста
Передача главная заднего первого моста
Редуктор привода
Редуктор 2-го заднего моста
Передача главная заднего второго моста
Комплект дифференциала
Полуось
Шестерня
Опора промежуточная
Рама 74131-2800001
Рама 74131-2800012
Рама 741331-2800001
Рама 741331-2800012
Крюк буксирный 535-2805012
Подвеска передняя
Рычаги подвески нижние передние 543-2902818-21, 543-2902819-21
Рычаги подвески верхние 543-2902790-11, 543-2902796-11
Амортизатор 543-2905306-21
Поршень 543-2905350-20
Крышка нижняя 543-2905380-10
Подвеска задняя
Установка задних рычагов подвески
Рессора с кронштейном 74131-2912010
Рессора задняя 74131-2912012
Колесо
Ступица с горловиной
Рулевое управление
Рулевой механизм
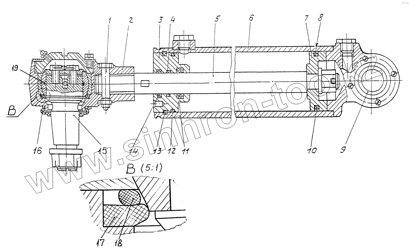
Цилиндр механизма усилителя
Трубопроводы и шланги рулевого управления
Бак масляный
Распределитель рулевого управления
Передача угловая рулевого управления
Тормоза
Главный тормозной цилиндр
Тормоз стояночный и его привод
Электрооборудование
Установка фар и передних фонарей
Установка аккумуляторных батарей и контайнера
Установка задних фонарей
Установка электрооборудования на шасси
Установка электрооборудования на шасси
Установка электрооборудования систем запуска и питания
Установка электрооборудования систем запуска и питания
Установка электрооборудования системы обогрева аккумуляторных батарей
Установка реле-регулятора
Установка стеклоочистителя: фонарей знака автопоезда: антенны
Установка электрооборудования двигателя
Установка электрооборудования на кабине
Установка электрооборудования в кабине
Установка электрооборудования в кабине
Установка радиооборудования
Установка отсека коммутационной аппаратуры
Установка отсека коммутационной аппаратуры
Установка электрооборудования подогревателя
Панель приборов основная
Панель приборов основная
Панель приборов освещения
Панель приборов освещения
Панель переключателей
Привод спидометра
Установка электрооборудования на ГМП
Установка автономного источника питания
1
2
3
4
5
6
7
8
9
10
11
12
13
14
15
Позиция на иллюстрации
Заводской номер детали
Название детали
0000-3518778
0000-3518778
Кольцо 059-065-36-2-2
0000-3414205
0000-3414205
Подшипник ШС-50
1
7930-3405068
Стяжка
2
7930-3405086-10
Наконечник
3
ЦГ80360-3405058-20
Крышка
4
0000-1308744
Кольцо 028-033-030-2-2
5
ЦГ80360-3405046-20
Шток
6
ЦГ80360-3405023-20
Труба
7
ЦГ80280-3405042-10
Поршень
8
ЦГ80280-3405044
Шайба
9
0000-3508203
Подшипник ШС-30
10
0000-1803782
Кольцо 067-075-46-2-2
11
ЦГ80280-3405087
Манжета
12
0000-3423785
Кольцо 072-080-46-2-3
13
ЦГ80280-3405305
Штифт
14
ЦГ80280-3405120-10
Грязесьемник
15
7930-3414138
Палец
Содержащиеся в справочниках-каталогах запасные части и детали не предлагаются к продаже, а носят исключительно информационный характер
Дополнительная информация
×
Название:
Номер:
Примечание: