Каталог запасных частей к технике: МЗКТ-74131. Система питания
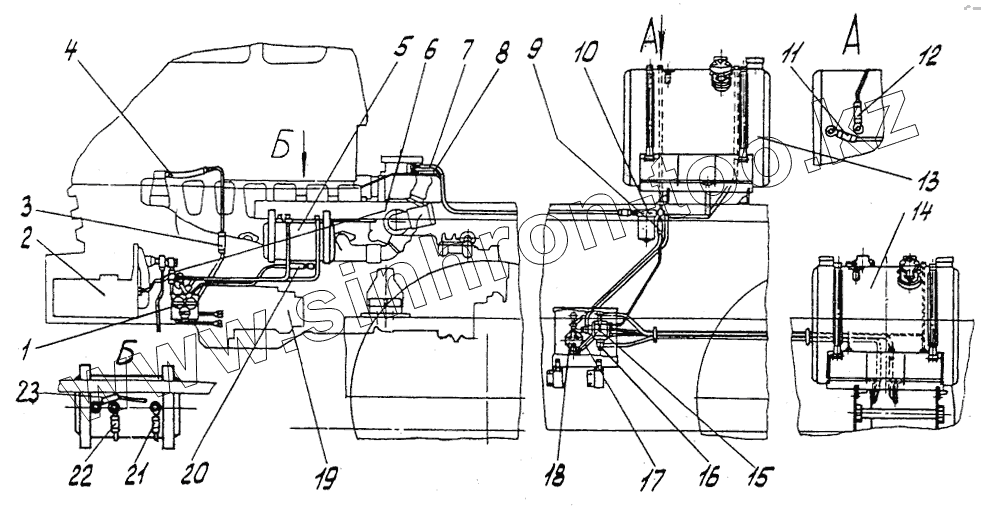
1
2
3
4
5
7
8
9
10
11
12
14
14
15
16
16
17
18
19
21
21
22
23
| Позиция на иллюстрации | Заводской номер детали | Название детали | |
|---|---|---|---|
| 375-1104014-Б | 375-1104014-Б | Кран ВП-6 | |
| 7413-1015308 | 7413-1015308 | Труба топливная | |
| 7413-1015450 | 7413-1015450 | Уровень | |
| 543-1018552 | 543-1018552 | Прокладка | |
| 547В-1101348-01 | 547В-1101348-01 | Пробка сливная | |
| 7413-1015460 | 7413-1015460 | Лента крепления | |
| 7922-1104046 | 7922-1104046 | Угольник поворотный | |
| 537-1104530 | 537-1104530 | Угольник поворотный с патрубком | |
| 547А-1315364 | 547А-1315364 | Угольник поворотный | |
| 7413-1015088 | 7413-1015088 | Прокладка | |
| 535А-1104237 | 535А-1104237 | Прокладка | |
| 500-1104541-Б | 500-1104541-Б | Втулка | |
| 500-1104542 | 500-1104542 | Втулка | |
| 543-3506226-А | 543-3506226-А | Прокладка резиновая Д4101.545 | |
| 547А-3724876 | 547А-3724876 | Втулка | |
| 547А-1015390 | 547А-1015390 | Кран отключения подогревателя | |
| 547А-1015442 | 547А-1015442 | Рукоятка | |
| 543-1015410 | 543-1015410 | Кольцо 8,6х2,4 | |
| 74131-1015612 | 74131-1015612 | Труба выхлопная | |
| 74131-1015634 | 74131-1015634 | Труба выхлопная | |
| 79092-1015634 | 79092-1015634 | Труба выхлопная подогревателя | |
| 74131-1015734 | 74131-1015734 | Поддон | |
| 74131-1015740 | 74131-1015740 | Труба выхлопная | |
| 74131-1015748 | 74131-1015748 | Труба задняя | |
| 74131-1015750 | 74131-1015750 | Патрубок | |
| 543-1015188 | 543-1015188 | Прокладка | |
| 543-1015189 | 543-1015189 | Прокладка | |
| 543-1714384 | 543-1714384 | Подушка | |
| 0000-1015739 | 0000-1015739 | Кольцо 025-029-25-2-2 | |
| 0000-1015754 | 0000-1015754 | Кольцо 034-040-36-2-2 | |
| 0000-1015908 | 0000-1015908 | Болт М8-6gх20 | |
| 0000-2911201 | 0000-2911201 | Шарик 7.938-100 | |
| 0000-2911201 | 0000-2911201 | Шарик 7.938-100 | |
| 314802 | 314802 | Муфта конусная 10 | |
| 315412 | 315412 | Кляммер | |
| 370829 | 370829 | Болт 3М8-6gх35 | |
| 370907 | 370907 | Болт М10х1.25-6gх25 | |
| 372613 | 372613 | Болт М16х1,5-6gх55 | |
| 374634 | 374634 | Гайка М16х1,5-6Н | |
| 375451 | 375451 | Шайба 8 | |
| 376193 | 376193 | Шайба 27 | |
| 376200 | 376200 | Шайба 22 | |
| 378631 | 378631 | Пробка М20х1,5-6h | |
| 379053 | 379053 | Угольник | |
| 379185 | 379185 | Кляммер двойной | |
| 379225 | 379225 | Гайка накидная 2В8 | |
| 379275 | 379275 | Муфта конусная 8 | |
| 379277 | 379277 | Муфта конусная 6 | |
| 379322 | 379322 | Скоба 80 | |
| 379323 | 379323 | Скоба 85 | |
| 379497 | 379497 | Ниппель | |
| 379675 | 379675 | Кляммер | |
| 379713 | 379713 | Гайка накидная | |
| 401120 | 401120 | Гайка накидная | |
| 401461 | 401461 | Тройник | |
| 401878 | 401878 | Кляммер | |
| 401884 | 401884 | Кляммер | |
| 405625 | 405625 | Гайка упорная 8 | |
| 405641 | 405641 | Гайка накидная 10 | |
| 74131-1100000 | 74131-1100000 | Система питания | |
| 74131-1100001 | 74131-1100001 | Установка топливопроводов | |
| 74131-1100002 | 74131-1100002 | Установка задних топливных баков | |
| 74131-1100005 | 74131-1100005 | Установка воздухоочистителей | |
| 74131-1100008 | 74131-1100008 | Установка переднего топливного бака | |
| 74131-1100013 | 74131-1100013 | Установка агрегатов топливной системы | |
| 74131-1100015 | 74131-1100015 | Привод управления двигателя | |
| 74131-1100020 | 74131-1100020 | Привод останова двигателя | |
| 74131-1100021 | 74131-1100021 | Установка топливного фильтра грубой очистки | |
| 535А-1018157 | 535А-1018157 | Кольцо уплотнительное | |
| 547В-1104373 | 547В-1104373 | Прокладка | |
| 74131-1104430 | 74131-1104430 | Заборник | |
| 500-1104542 | 500-1104542 | Втулка | |
| 7413-1303106 | 7413-1303106 | Прокладка М14х1,5 | |
| 547А-1303408 | 547А-1303408 | Втулка | |
| 543-1804397 | 543-1804397 | Прокладка | |
| 543-3506222 | 543-3506222 | Прокладка резиновая | |
| 543-3506226-А | 543-3506226-А | Прокладка резиновая Д4101.545 | |
| 547А -3724872 | 547А -3724872 | Втулка | |
| 543-4216151-А2 | 543-4216151-А2 | Прокладка кляммера | |
| 297580 | 297580 | Пряжка | |
| 297582 | 297582 | Лента | |
| 297584 | 297584 | Лента | |
| 297588 | 297588 | Лента | |
| 310122 | 310122 | Болт М10х1-6gх21 | |
| 312434 | 312434 | Прокладка 10 | |
| 314708 | 314708 | Гайка накидная 2Н10 | |
| 314802 | 314802 | Муфта конусная 10 | |
| 315412 | 315412 | Кляммер | |
| 371016 | 371016 | Болт 1-1-10 | |
| 379168 | 379168 | Кляммер | |
| 379173 | 379173 | Кляммер | |
| 379202 | 379202 | Кляммер | |
| 379267 | 379267 | Муфта конусная 16 | |
| 379665 | 379665 | Кляммер | |
| 379921 | 379921 | Хомут 18 | |
| 379952 | 379952 | Хомут 30 | |
| 535А-1104224 | 535А-1104224 | Болт угольника поворотного | |
| 200-3724015 | 200-3724015 | Втулка | |
| 371343-01 | 371343-01 | Болт М16х1,5х55 | |
| 371343-01 | 371343-01 | Болт М16х1,5х55 | |
| 1 | 7413-1015150 | Кран с переходником | |
| 2 | ПЖД600И-1015008 | Подогреватель ПЖД-600И | |
| 3 | 79112-1101692 | Рукав | |
| 4 | 79092-1015402 | Шланг | |
| 5 | 7413-1015420 | Бачок топливный | |
| 7 | 79092-1303206 | Рукав | |
| 8 | 543-3506114 | Рукав | |
| 9 | 543-1104211 | Шланг | |
| 10 | 7908-1105010 | Фильтр топливный грубой очистки | |
| 11 | 535А-1015818 | Шланг | |
| 12 | 7413-1104180 | Рукав | |
| 14 | 7930-1101008 | Бак топливный | |
| 15 | 74131-1116010 | Кран топливораспределительный | |
| 16 | 543-3506226-А | Прокладка резиновая Д4101.545 | |
| 16 | 535А-1104226-А | Прокладка | |
| 17 | 543-1104213 | Шланг соединительный | |
| 18 | 0000-1133084 | Ручной топливоподкачивающий насос РНМ-1КУ2-АНМ-01ТУ | |
| 19 | 14.8106000 | Подогреватель жидкостной | |
| 21 | 500-3509265 | Рукав | |
| 21 | 500-3509265 | Рукав | |
| 22 | 543-1104212 | Шланг соединительный | |
| 23 | 535А-1015818 | Шланг |
Содержащиеся в справочниках-каталогах запасные части и детали не предлагаются к продаже, а носят исключительно информационный характер