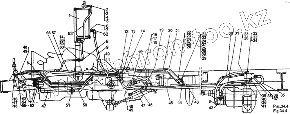
Каталог запасных частей к технике: МЗКТ-65158. Установка шлангов и трубопроводов
1
3
4
5
6
7
8
9
10
11
12
13
14
15
16
17
18
19
20
21
22
24
25
26
27
28
29
30
31
32
33
34
35
36
37
38
39
40
41
42
43
44
45
46
47
48
49
50
51
52
53
54
55
56
57
62
63
| Позиция на иллюстрации | Заводской номер детали | Название детали | |
|---|---|---|---|
| 201501 | 201501 | Болт М10-6gх60 | |
| 201495 | 201495 | Болт М10-6gх20 | |
| 252155 | 252155 | Шайба 8Л | |
| 252154 | 252154 | Шайба 6Л | |
| 252004 | 252004 | Шайба 6 | |
| 252156 | 252156 | Шайба 10Л | |
| 250510 | 250510 | Гайка М8х1-6Н | |
| 250508 | 250508 | Гайка М6-6Н | |
| 200263 | 200263 | Болт М8-6gх35 | |
| 201458 | 201458 | Болт М8-6gх25 | |
| 201456 | 201456 | Болт М8-6gх20 | |
| 200219 | 200219 | Болт М6-6gх50 | |
| 200317 | 200317 | Болт М10-6gх45 | |
| 250512 | 250512 | Гайка М10-6Н | |
| 1 | 69237-3400030 | Установка масляного бака | |
| 3 | 7930-3408038 | Ниппель переходника | |
| 4 | 377351 | Штифт 3,9х97 | |
| 5 | 401181 | Гайка М33х2-5Н6Н | |
| 6 | 543-1116056 | Прокладка | |
| 7 | 535А-1504225 | Штуцер | |
| 8 | 7917-3408080 | Переходник угловой | |
| 9 | 543-1719265 | Шланг | |
| 10 | 69237-3408140 | Соединитель тройной | |
| 11 | 69237-3408296-10 | Кронштейн | |
| 12 | 69237-3408104 | Трубопровод | |
| 13 | 69237-3408106 | Трубопровод | |
| 14 | 535А-3408037 | Переходник | |
| 15 | 6923-3408194 | Соединитель | |
| 16 | 7922-3408016 | Наконечник | |
| 17 | 7930-3408017 | Болт наконечника | |
| 18 | 0000-3408731 | Кольцо 019-023-25-2-2 | |
| 19 | 547А-1713201 | Шланг нижний | |
| 20 | 69237-3408092 | Трубопровод | |
| 21 | 69237-3408089 | Трубопровод | |
| 22 | 7413-3408142 | Втулка переходная | |
| 24 | 375079 | Гайка М33х1,5-6Н | |
| 25 | 376217 | Шайба 33 | |
| 26 | 379884 | Штуцер | |
| 27 | 376210 | Шайба фторопластовая 22 | |
| 28 | 402804 | Угольник | |
| 29 | 405670 | Гайка М22х1,5-22 | |
| 30 | 543-3408040 | Шланг усилителя | |
| 31 | 547А-1719065-01 | Шланг | |
| 32 | 79191-3408017 | Болт наконечника | |
| 33 | 0000-1015739 | Кольцо 025-029-25-2-2 | |
| 34 | 79191-3408016 | Наконечник | |
| 35 | 547А-1719245-01 | Шланг | |
| 36 | 0000-1903747 | Кольцо 030-034-25-2-2 | |
| 37 | 404332 | Штуцер | |
| 38 | 6923-3420010-10 | Блок клапанов | |
| 39 | 69237-3408080 | Угольник ввертной | |
| 40 | 69237-3408094 | Шайба фторопластовая | |
| 41 | 375048 | Гайка М33х1,5-6Н | |
| 42 | 69237-3400028 | Установка насоса гидроусилителя | |
| 43 | 69237-3408086 | Трубопровод | |
| 44 | 69237-3408071 | Трубопровод | |
| 45 | 69237-3408108-20 | Трубопровод | |
| 46 | 543-3408031 | Шланг усилителя | |
| 47 | 547А-1719195 | Шланг | |
| 48 | 6923-3408037 | Переходник | |
| 49 | 0000-3408723 | Кольцо 013-016-19-2-2 | |
| 50 | 543М-1719165 | Шланг | |
| 51 | 7929-3408037 | Переходник | |
| 52 | 6923-3400026-10 | Установка насоса | |
| 53 | 69237-3408016 | Наконечник | |
| 54 | 69237-3408017 | Болт | |
| 55 | 0000-1105738 | Кольцо 024-028-25-2-2 | |
| 56 | 69237-3408102 | Трубопровод | |
| 57 | 79111-3408040-01 | Шланг | |
| 62 | 543А-1719164-10 | Патрубок | |
| 63 | 543-1719565-11 | Шланг |
Содержащиеся в справочниках-каталогах запасные части и детали не предлагаются к продаже, а носят исключительно информационный характер