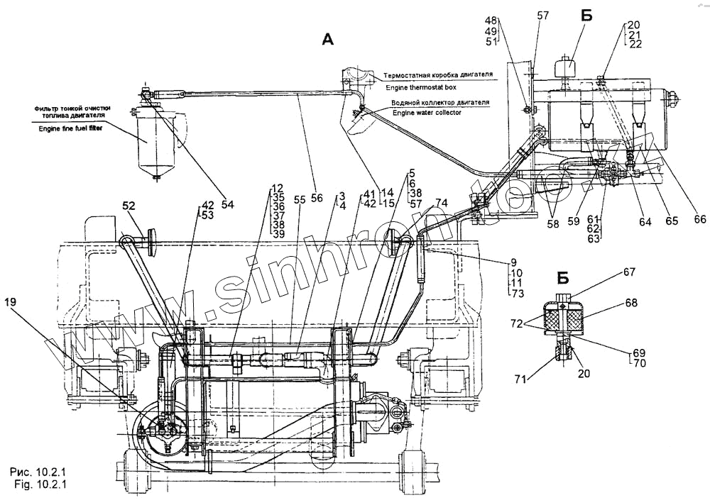
Каталог запасных частей к технике: МЗКТ-65158. Установка подогревателя
4
5
6
9
10
11
12
14
15
19
20
21
22
35
36
37
38
39
41
42
48
49
51
52
53
54
55
56
57
57
58
59
61
62
63
64
65
66
67
68
69
70
71
72
73
74
| Позиция на иллюстрации | Заводской номер детали | Название детали | |
|---|---|---|---|
| 79092-1015560 | 79092-1015560 | Сапун | |
| 1 | 65158-1015005 | Подогреватель в состоянии установки | |
| 2 | 65158-1015192 | Труба | |
| 4 | 543-1303099 | Шланг 25 | |
| 5 | 315406 | Кляммер | |
| 6 | 500-1104542 | Втулка | |
| 7 | 69237-1015686 | Топливопровод | |
| 8 | 79112-1101692 | Рукав | |
| 9 | 297575 | Шплинт 5,6х22 | |
| 10 | 297580 | Пряжка | |
| 11 | 297582 | Лента | |
| 12 | 543-3506226-А | Прокладка резиновая Д4101.545 | |
| 13 | 297584 | Лента | |
| 14 | 547А-3724870 | Втулка | |
| 15 | 401878 | Кляммер | |
| 16 | 201458 | Болт М8-6gх25 | |
| 17 | 250510 | Гайка М8х1-6Н | |
| 18 | 252135 | Шайба 8Т | |
| 19 | 537-1104530 | Угольник поворотный с патрубком | |
| 20 | 543-3506013 | Прокладка 12М3 | |
| 21 | 537-3509276 | Штуцер | |
| 22 | 258250 | Шплинт 1,2х100 | |
| 23 | 65158-1015691 | Топливопровод | |
| 24 | 7413-8105036 | Рукав 8 | |
| 25 | 405625 | Гайка упорная 8 | |
| 26 | 379275 | Муфта конусная 8 | |
| 27 | 65158-1015694 | Топливопровод | |
| 28 | 79092-3903068 | Табличка | |
| 29 | 65158-1015476 | Кронштейн | |
| 30 | 6923-1015088 | Прокладка | |
| 31 | 201456 | Болт М8-6gх20 | |
| 32 | 65158-1015262 | Труба | |
| 33 | 65158-1015314 | Труба | |
| 34 | 65158-1015734 | Поддон | |
| 35 | 201418 | Болт М6-6gх16 | |
| 36 | 250508 | Гайка М6-6Н | |
| 37 | 252004 | Шайба 6 | |
| 38 | 252134 | Шайба 6Т | |
| 39 | 379202 | Кляммер | |
| 40 | 65158-1015356 | Труба | |
| 41 | 5320-1311049 | Рукав | |
| 42 | 64229-1303506 | Хомут | |
| 43 | 65158-1015740 | Труб а выхлопная | |
| 44 | 201422 | Болт М6-6gх25 | |
| 45 | 69237-1015230 | Защитный лист | |
| 46 | 251513 | Гайка М8-6Н | |
| 47 | 252005 | Шайба 8 | |
| 48 | 201499 | Болт М10-6gх30 | |
| 49 | 250512 | Гайка М10-6Н | |
| 50 | 252007 | Шайба 12 | |
| 51 | 252136 | Шайба 10 ОТ | |
| 52 | 65158-1015280 | Патрубок | |
| 53 | 7917-1303024 | Рукав | |
| 54 | 65158-1015154 | Переходник | |
| 55 | 69237-1015688 | Топливопровод | |
| 56 | 65158-1015690 | Топливопровод | |
| 57 | 201416 | Болт М6-6gх12 | |
| 57 | 69237-1015468 | Кронштейн | |
| 58 | 79092-1015402 | Шланг | |
| 59 | 547А-1315364 | Угольник поворотный | |
| 61 | 250640 | Гайка М20х1,5-6Н | |
| 62 | 252019-10 | Шайба 20 | |
| 63 | 252161 | Шайба 20Л | |
| 64 | 7413-1015150 | Кран с переходником | |
| 65 | 5336-1015620 | Хомут | |
| 66 | 65158-1015420 | Бачок топливный | |
| 67 | 7413-1711564 | Корпус | |
| 68 | 543-1018323-Б | Фильтрующий элемент | |
| 69 | 252006 | Шайба 10 | |
| 70 | 252136 | Шайба 10 ОТ | |
| 71 | 79092-1015562 | Переходник | |
| 72 | 543В-1101710 | Решетка суфлера | |
| 73 | 547А-1104576 | Шланг | |
| 74 | 6923-1015290 | Патрубок |
Содержащиеся в справочниках-каталогах запасные части и детали не предлагаются к продаже, а носят исключительно информационный характер