Вернуться на главную
Поиск
Каталоги запчастей к технике
Грузовые автомобили и прицепы
МЗКТ
МЗКТ-65151 "Волат"
Педаль c кронштейном
Каталог запасных частей к технике: МЗКТ-65151 "Волат". Педаль c кронштейном
zoom-in
zoom-out
enlarge
shrink
circle-right
circle-left
file-text2
info
cart
Тип техники
Не выбрано
Легковые автомобили
Грузовые автомобили и прицепы
Автобусы
Сельхозтехника
Спецтехника
Двигатели
Мототехника
Марка
Не выбрано
BAW
DAF
DongFeng
FAW
Foton
HOWO
Hyundai
IVECO
JAC Motors
LGMG
MAN
Shaanxi
SITRAK
Studebaker
Tata
Volvo
Автокомпонент Плюс
БелАЗ
Брянский Арсенал
ГАЗ
ЗИЛ
КАЗ
Камский автозавод
КрАЗ
Мадара
МАЗ
МЗКТ
МоАЗ
Нефтекамский автозавод
Ставропольский Завод АвтоПрицепов
ТАТРА
Тонар
УралАЗ
ЧМЗАП
Модель
Не выбрано
МЗКТ-65151 "Волат" (2010)
МЗКТ-65158 (1999)
МЗКТ-652511 (2010)
МЗКТ-6527 (2010)
МЗКТ-700600-011 (2013)
МЗКТ-7401 (2010)
МЗКТ-7402 (2010)
МЗКТ-74131 (1996)
МЗКТ-74171 (2010)
МЗКТ-7429 (2005)
МЗКТ-74296 (2010)
МЗКТ-75165 (2005)
МЗКТ-751652 (2005)
МЗКТ-79011 (2010)
МЗКТ-79091 (2005)
МЗКТ-79092 (2005)
МЗКТ-79092 (нов.) (2005)
МЗКТ-79096 (2005)
МЗКТ-79097 (2005)
МЗКТ-7930-200 (2005)
МЗКТ-93782 (2010)
Схема
>
Не выбрано
Подрессоривание кабины переднее (Кабина с пневмоподвеской)
Подрессоривание кабины заднее (Кабина с пневмоподвеской)
Установка регуляторов (Кабина с пневмоподвеской)
Укладка трубопроводов пневмоподвески кабины
Установка кабины. Переднее подрессоривание (Пружинная подвеска кабины)
Установка кабины. Заднее подрессоривание (Пружинная подвеска кабины)
Механизм подъёма кабины
Цилиндр гидравлический 79092-5003010-10
Насос опрокидывающего механизма 79092-5004010
Двери
Установка сидений (Торсионная подвеска сидений)
Установка сидений (Пневмоподвеска сидений МАЗ)
Установка сидений (ППневмоподвеска сидений (C.I.E.B.Чехия))
Установка трубопроводов отопителя
Установка трубопроводов отопителя
Кран управления отопителем 64221-8101150
Установка отопителя независимого действия
Установка топливопроводов независимого отопителя
Установка компрессора
Установка зеркал, стеклоочистителя и омывателя
Установка подножек
Установка крыльев (крылья из стеклопластика или полиэтиленовые)
Установка крыльев (крылья металлические)
Установка платформы
Платформа 65151-8500020
Платформа 65151-8500020-20
Цилиндр 6515-8505300
Привод механизма подъёма борта
Гидроцилиндр 6515-8530010
Установка деталей крепления тента
Установка подножки
Трубопроводы механизма подьема борта
Установка козырька
Установка трубопроводов
Установка трубопроводов системы управления
Установка электромагнитных клапанов
Установка бака
Бак 65151-8608010
Гидроцилиндр с кронштейнами 6515-8603008-01
Гидроцилиндр 6515-8603010-04
Гидроцилиндр 6515-8603010-05
Гидроцилиндр 6515-8603010-08
Гидроцилиндр 6515-8603010-09
Установка насоса
Установка карданного вала
Установка клапанной коробки
Установка выключателя
Установка надpамника
Установка двигателя
Подогреватель ПЖД 65151-1015005
Крепление подогревателя (ПЖД)
Система охлаждения подогревателя (ПЖД)
Система питания подогревателя (ПЖД)
Система выхлопа подогревателя (ПЖД)
Защитные листы подогревателя (ПЖД)
Установка агрегатов системы смазки
Пробка заливной горловины 543-1018270
Установка топливопроводов
Установка топливопроводов
Установка топливопроводов
Установка топливного бака
Бак топливный 6525-1101010
Бак топливный 65151-1101010-10
Установка воздухоочистителя
Установка охладителя наддува
Привод управления двигателем 65151-1108005
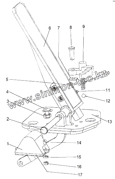
Педаль c кронштейном
Педаль с втулкой и рычагом 65151-1108006
Привод останова двигателя
Установка подкачивающего насоса
Насос подкачивающий 79092-11332
Привод выключателя двигателя дублирующий
Установка топливных фильтров грубой очистки
Установка фильтра топливного «Separ»
Установка системы выпуска газов
Заслонка 69237-3570010
Распределитель выхлопных газов 65158-1203830
Устройство обогревательное 6515-8515010
Установка трубопроводов системы охлаждения двигателя
Установка радиатора
Радиатор 65151-1301008
Установка бачка расширительного и редукционного клапана
Клапан редукционный 7929-1304010
Установка механизма управления сцеплением
Механизм управления сцеплением 69237-1602010
Подпедальный цилиндр 69237-1602300
Бачок 6923-1602250
Усилитель пневмогидравлический 65151-1609200-10
Установка привода управления сцеплением
Установка коробки передач
Коробка передач с деталями выключения сцепления
Коробка передач 202-1700050-11
Установка выходного вала
Установка первичного и вторичного валов
Установка воздухопроводов
Установка клапана электромагнитного
Установка вала отбора мощности
Механизм переключения передач 202-1702010
Установка вилок переключения передач
Нижняя часть картера Э202-1701014-10
Картер понижающей передачи 201-1721014
Нижняя часть картера коробки передач 201-1701016
Вал первичный коробки передач 202-1701025-40
Вал вторичный коробки передач 202-1701100-30
Вал промежуточный 202-1701047-30
Вал выходной 202-1721300
Опора рычага переключения передач 201-1702200
Масляный насос 202-1704010
Крышка заднего подшипника выходного вала 202-1721200
Цилиндр с поршнем 201-1722020
Воздухораспределитель управления механизмом переключения понижающей передачи
Клапан редукционный 201-1723080
Муфта выключения сцепления с подшипником 184-1601180-10
Шестерня коронная 202-1721350
Шестерни 2-й, 3-й, 5-й передачи 202-1701126, 202-1701128-30, 202-1701129-30
Вика механизма переключения понижающей передачи 201-1722049
Привод управления механизмом переключения передач
Механизм промежуточный 69237-1703325
Тяга 69237-1703490
Цилиндр 692374-1703610
Тяга 65151-1703620
Распределитель 652511-1703640
Воздухопроводы и шланги управления механизмом переключения передач
Установка карданных валов
Вал карданный 6923-2201010
Валы карданные 69237-2202010-10, 79191-2204010
Опора промежуточная 69237-2220010
Мост задний
Картер моста 6923-2401010, 6923-2401010-10
Крепление редуктора
Детали колесной передачи
Тормоз заднего моста
Колодка тормоза 9919-3501090, 9919-3501091
Привод тормозов
Редуктор 6923-2402010
Шестерня ведущая 6923-2402021
Дифференциалы 6923-2403010,6923-2503010
Мост средний
Крепление редуктора
Картер моста 6923-2501010
Вал задний
Картер редуктора с дифференциалом
Межосевой дифференциал с картером шестерен
Механизм блокировки 6923-2509010-10
Шестерня ведущая 69237-2502021-10
Дифференциал межосевой 6923-2506010-10
Привод тормозов
Привод управления блокировкой дифференциалов
Стакан 6923-3502018
Кронштейн 69237-3519268, 69237-3519269
Тормоз среднего моста
Рама
Рама 65151-2800012-10
Подвеска передняя
Подвеска задняя
Подвеска балансирная 69237-2910012-11
Рессора 69237-2912012
Ось 1-ая перeдняя
Ось 2-ая перeдняя
Ось передняя
Балка оси передней с поворотными кулаками
Установка ступиц колес
Тормоз 692301-3501004-01, 692301-3501005-01
Установка передних колес
Установка задних колес
Колесо 69237-3101011-20
Ступица задняя 6923-3104010-10
Ступица задняя 6923-3104010-01
Установка рулевого управления
Кронштейн с колонкой 64221-3403008
Цилиндр 69237-3405005-11
Установка насоса
Кронштейн 69237-3414010-10
Насосы 6923-3407008-10, 65151-3407008
Блок клапанов 6923-3420010-10
Колонка рулевая 64221-3444010
Вал нижний 65151-3444050
Установка кожухов рулевой колонки
Тяги и наконечники рулевого привода
Установка масляного бака
Бак масляный 65158-3410010-20
Установка насоса гидроусилителя
Насос 6923-3407010-20
Насос 69237-3431010-01
Насос 69237-3407310
Установка трубопроводов рулевого механизма, бака и цилиндра
Установка трубопроводов блока клапанов
Установка трубопроводов насоса
Установка головного освещения
Установка аккумуляторных батарей и контейнера
Установка задних фонарей
Установка электрооборудования на шасси
Установка электрооборудования двигателя
Установка электрооборудования подогревателя
Установка электрооборудования в кабине
Панель приборов двигателя 65151-3800001-10
Панель приборов шасси 65151-3800009
Колодки, контакты
Резино-технические изделия электрооборудования
Панель переключателей 65151-3800015-10
Панель управления платформой 6515-3800010
Жгут проводов в кабине
Жгут проводов в кабине
Жгут проводов в кабине
Жгут проводов в кабине
Установка переключателей на рулевой колонке
Установка электрооборудования фильтра Separ
Установка электрооборудования АБС в кабине
Установка электрооборудования воздушного отопителя
Установка электрооборудования подогревателя
Установка магнитолы
Установка электрооборудования кондиционера
Аккумуляторный контейнер 8007-3748002, 8007-3748002-10
Установка коробки отбора мощности
Коробка отбора мощности 75165-4201010
Корпус 75165-4201020
Детали включения коробки отбора мощности
Шестерня ведущая
Шестерня ведомая
Установка подъемника запасного колеса
Редуктор 5247Б-3925220-А2
Установка инструментального ящика
Инструмент и принадлежности
1
2
3
4
5
6
7
8
9
10
11
12
13
14
15
16
17
Позиция на иллюстрации
Заводской номер детали
Название детали
1
5336-1108058
Крышка
2
377931
Палец 10х75
3
250510
Гайка М8х1-6Н
4
210381
Болт М8-6gх30
5
258024
Шплинт 2,5х16
6
65151-1108006
Педаль с втулкой и рычагом
7
252005
Шайба 8
8
260033
Палец 8х22
9
64221-1108432
Защелка
10
220-8604028
Пружина
11
258038
Шплинт 3,2х16
12
0000-2911201
Шарик 7.938-100
13
64221-1108025
Кронштейн педали
14
220080
Винт М5-6gх16
15
252133
Шайба 5Т
16
250464
Гайка М5-6Н
17
5336-1108059
Прокладка
Содержащиеся в справочниках-каталогах запасные части и детали не предлагаются к продаже, а носят исключительно информационный характер
Дополнительная информация
×
Название:
Номер:
Примечание: