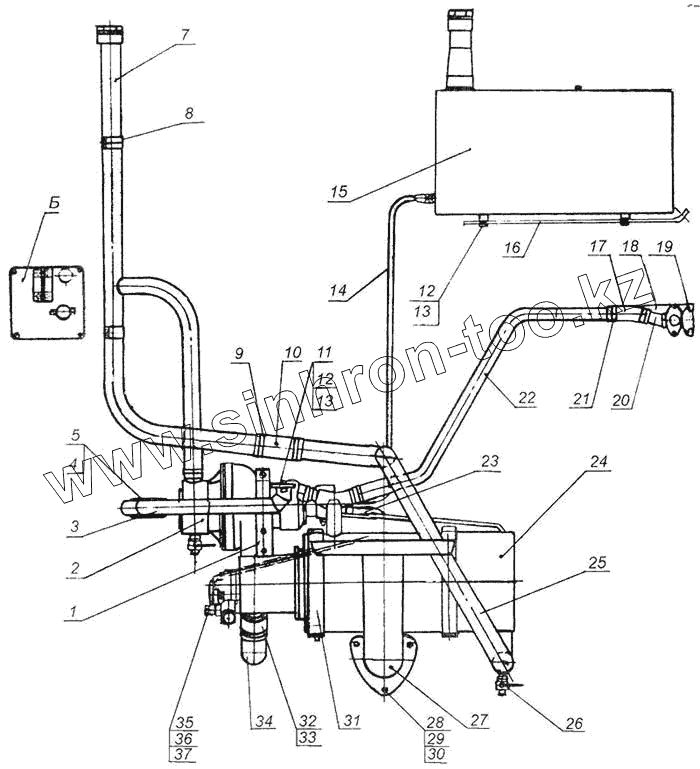
Каталог запасных частей к технике: МоАЗ 7505. Установка подогревателя
1
2
3
4
5
6
7
8
9
10
11
12
12
13
13
14
15
16
17
18
19
20
21
22
23
24
25
26
27
28
29
30
31
32
33
34
35
36
37
| Позиция на иллюстрации | Заводской номер детали | Название детали | |
|---|---|---|---|
| 546П-1015671 | 546П-1015671 | Штуцер | |
| 546П-1015092 | 546П-1015092 | Хомут | |
| 1 | 75051-1015290 | Кронштейн нагнетателя | |
| 2 | 75051-1015200 | Нагнетатель | |
| 3 | 75051-1015280 | Труба подводящая | |
| 4 | 529Б-1109292 | Рукав | |
| 5 | 64229-1303506 | Хомут | |
| 6 | ПЖД44-1015410 | Щиток управления | |
| 7 | 75051-1015025 | Стояк заливной | |
| 8 | 448933 | Кляммер | |
| 9 | 64229-1303514 | Хомут | |
| 10 | 546П-1015294 | Рукав | |
| 11 | 546П-1015030-А | Прокладка | |
| 12 | 201454 | Болт | |
| 13 | 252135 | Шайба | |
| 14 | 75051-1015524 | Трубка топливная | |
| 15 | 75051-1015263 | Бачок подогревателя | |
| 16 | 75051-1015080 | Кронштейн бачка | |
| 17 | 529В-1015095 | Рукав | |
| 18 | 522А-1015095 | Рукав | |
| 19 | 522А-1015162-10 | Патрубок левый | |
| 20 | 75051-1015160-01 | Патрубок правый | |
| 21 | 64229-1303650 | Хомут | |
| 22 | 75051-1015178 | Труба | |
| 23 | 75051-1015520 | Трубка топливная | |
| 24 | ПЖД44-1015010 | Котел подогревателя в сборе | |
| 25 | 75051-1015032 | Труба заливная | |
| 26 | Кр2-1305000 | Кран | |
| 27 | 75051-1015190 | Направляющая газов | |
| 28 | 201499 | Болт | |
| 29 | 250512 | Гайка | |
| 30 | 252136 | Шайба | |
| 31 | 529И-1015022-Б | Хомут | |
| 32 | 75051-1015540 | Хомут 63 | |
| 33 | 204-1303010 | Рукав | |
| 34 | 75051-1015102 | Патрубок воздушный | |
| 35 | 546П-1015526 | Прокладка | |
| 36 | 546П-1015530 | Штуцер | |
| 37 | 546П-3408128 | Прокладка ниппеля |
Содержащиеся в справочниках-каталогах запасные части и детали не предлагаются к продаже, а носят исключительно информационный характер