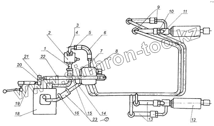
Каталог запасных частей к технике: МоАЗ 7505. Установка гидросистемы 7505-8600003
7505-8600003-114
1
2
3
4
5
6
7
8
9
10
11
12
13
14
15
16
18
19
20
21
22
23
| Позиция на иллюстрации | Заводской номер детали | Название детали | |
|---|---|---|---|
| 7505-8600003-114 | 7505-8600003-114 | Установка гидросистемы | |
| 1 | 7505-3407014-СБ | Патрубок | |
| 2 | НШ100А-3 | Насос шестеренный | |
| 3 | 065-075-58-2-2 | Кольцо | |
| 4 | 7505-8609200 | Трубопровод | |
| 5 | 024-030-36-2-2 | Кольцо | |
| 6 | 9586-8609010 | Рукав высокого давления | |
| 7 | 7505-8609180 | Трубопровод | |
| 8 | 5401-8607010 | Гидрораспределитель | |
| 9 | 018-022-25-2-2 | Кольцо | |
| 10 | 9585-8609076-10 | Штуцер | |
| 11 | 027-032-30-2-2 | Кольцо ГОСТ 18829-73 | |
| 12 | 540А-8603009-20 | Цилиндр | |
| 13 | Д357П-4617010-10 | Рукав высокого давления | |
| 14 | 7505-8609162 | Трубопровод сливной | |
| 15 | 7405-3408010 | Рукав всасывающий | |
| 16 | 6507-8609026 | Хомут | |
| 18 | 7505-8608010-10 | Гидробак | |
| 19 | 7505-8606024 | Тяга передняя | |
| 20 | 7505-8606020 | Вал | |
| 21 | 529-4216032 | Рычаг | |
| 22 | 7505-8606070 | Тяга задняя | |
| 23 | Д357Г-10954 | Рукав всасывающий |
Содержащиеся в справочниках-каталогах запасные части и детали не предлагаются к продаже, а носят исключительно информационный характер