Каталог запасных частей к технике: МоАЗ 7505. Цилиндр опрокидывающего механизма 540А-8603009-20
540А-8603009-20
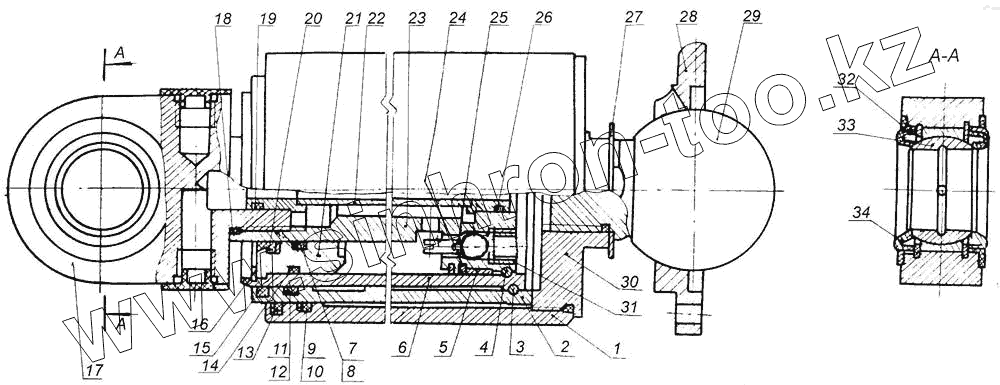
1
2
3
4
5
6
7
8
9
10
11
12
13
14
15
16
17
18
19
20
21
22
23
24
25
26
27
28
29
30
31
32
33
34
| Позиция на иллюстрации | Заводской номер детали | Название детали | |
|---|---|---|---|
| 540А-8603009-20 | 540А-8603009-20 | Цилиндр | |
| 1 | 540-8603014-20 | Труба цилиндра правая | |
| 2 | 540-8603030-20 | Труба цилиндра вторая | |
| 3 | 540-8603548 | Кольцо ограничительное | |
| 4 | 540-8603085 | Кольцо ограничительное | |
| 5 | 540-8603046-10 | Кольцо направляющее | |
| 6 | 540-8603064-20 | Труба цилиндра третья | |
| 7 | 540-8603089 | Шайба защитная | |
| 8 | 080-090-58-2-2 | Кольцо ГОСТ 18829-73 | |
| 9 | 540-8603091 | Шайба защитная | |
| 10 | 170-180-58-2-2 | Кольцо ГОСТ 18829-73 | |
| 11 | 540-8603090 | Шайба защитная | |
| 12 | 145-155-58-2-2 | Кольцо ГОСТ 18829-73 | |
| 13 | 540-8603569-10 | Кольцо предохранительное | |
| 14 | 115-125-58-2-2 | Кольцо | |
| 15 | 540-8603546-10 | Кольцо предохранительное | |
| 16 | 540-8603076-10 | Кольцо стопорное | |
| 17 | 540А-8603026 | Головка цилиндра нижняя | |
| 18 | 056-062-36-2-2 | Кольцо ГОСТ 18829-73 | |
| 19 | 027-032-30-2-2 | Кольцо ГОСТ 18829-73 | |
| 20 | 540-8603517-10 | Кольцо предохранительное | |
| 21 | 540-8603071-20 | Втулка штока | |
| 22 | 540-8603100-20 | Труба цилиндра внутрен. | |
| 23 | 540А-8603043-11 | Шток с поршнем | |
| 24 | 14.04.109-А | Кольцо поршневое 2 | |
| 25 | 540-8603051-20 | Толкатель | |
| 26 | 027-032-30-2-2 | Кольцо ГОСТ 18829-73 | |
| 27 | 540-8603126 | Кольцо головки стопорное | |
| 28 | 540-8603225-10 | Крышка верхней опоры | |
| 29 | 540-8603025-20 | Головка цилиндра верхняя | |
| 30 | 540-8603058 | Крышка цилиндра | |
| 31 | 540-8603050-10 | Гнездо клапана | |
| 32 | 540-2917454-12 | Сальник | |
| 33 | ШСЛ-60К | Подшипник ГОСТ 3635-78 | |
| 34 | 6441-2907459 | Кольцо опорное |
Содержащиеся в справочниках-каталогах запасные части и детали не предлагаются к продаже, а носят исключительно информационный характер