Вернуться на главную
Поиск
Каталоги запчастей к технике
Грузовые автомобили и прицепы
МоАЗ
7505
Привод тормозного крана 7505-3500032
Каталог запасных частей к технике: МоАЗ 7505. Привод тормозного крана 7505-3500032
zoom-in
zoom-out
enlarge
shrink
circle-right
circle-left
file-text2
info
cart
Тип техники
Не выбрано
Легковые автомобили
Грузовые автомобили и прицепы
Автобусы
Сельхозтехника
Спецтехника
Двигатели
Мототехника
Марка
Не выбрано
BAW
DAF
DongFeng
FAW
Foton
HOWO
Hyundai
IVECO
JAC Motors
LGMG
MAN
Shaanxi
SITRAK
Studebaker
Tata
Volvo
Автокомпонент Плюс
БелАЗ
Брянский Арсенал
ГАЗ
ЗИЛ
КАЗ
Камский автозавод
КрАЗ
Мадара
МАЗ
МЗКТ
МоАЗ
Нефтекамский автозавод
Ставропольский Завод АвтоПрицепов
ТАТРА
Тонар
УралАЗ
ЧМЗАП
Модель
Не выбрано
7505
75051
75054-22
Схема
>
Не выбрано
Кабина и оперение
Люк крыши вентиляционный
Дверь
Сиденье водителя
Отопление кабины
Вентилятор
Кузов 7505-8500010
Установка гидросистемы 7505-8600003
Управление опрокидывающим механизмом 7505-8600004
Тяга передняя 7505-8606024, тяга задняя 7505-8606070
Гидрораспределитель 6401-8607010
Цилиндр опрокидывающего механизма 540А-8603009-20
Гидробак 7505-8608010-10
Заборник 7505-8608060
Установка двигателя
Установка подогревателя
Бак топливный. Монтаж трубопроводов
Привод управления двигателем
Установка воздушных фильтров
Система выпуска газов
Система охлаждения
Рамка радиатора и кожух
Привод вентилятора 546-1300012
Привод вентилятора 546-1300012
Ролик натяжной 7405-1308110
Гидромеханическая передача 75051-1700020
Гидромеханическая передача 75051-1700020
Редуктор 75051-1701005
Редуктор 75051-1701005
Редуктор 7505-1701005, 75051-1701005
Вал первичный 7405-1701023
Вал первичный 7405-1701025
Вал промежуточный 6507-1701047
Вал реверса 6507-1701081
Вал вторичный 6507-1701100
Полуось правая 7505-1701265
Фильтр ГМП 7405-170431-01
Клапан подпорный 6507-1704350
Клапан предохранительный 6507-1704350
Фильтр 6507-1704500СБ
Гидротрансформатор 6507-1709010-10
Гидротрансформатор 6507-1709010
Фрикцион малый 7505-1711010
Фрикцион большой 7505-1711070
Клапан 6507-1712200-10
Коробка золотниковая 7505-1712252-20
Клапан 7505-1712300-20
Коробка клапанная 7505-1712510
Коробка золотниковая 7505-1712252
Клапан 7505-1712300
Коробка клапанная 546В-1712510
Механизм блокировки дифференциала 7505-1729010СБ
Дифференциал 6507-1729030
Маслоохладитель 7505-1714010
Установка карданных валов 7505-2200001,75051-2200001,75051-2200001-10
Установка гибкой муфты 7505-2208001, 75051-2208001
Передний мост 7505-2300010
Редуктор 7505-2302010
Шарнир поворотного кулака 522А-2304060-10
Мост задний 7505-2400010
Редуктор 75051-2402010
Дифференциал 522А-2403012-А, 546А-2403012-А
Водило 6908-2405018
Рама, щиты и буксирный палец 7505-2800003-10
Подвеска управляемого моста 7505-2900001
Подвеска ведущего моста 7505-2900002
Цилиндр подвески 7505-2907020
Установка колес 7505-3101001
Схема установки рулевого управления 7505-3400001-10
Гидроцилиндр 7505-3405005
Вал карданный 7918-3401300
Клапан предохранительный 7505-3406005
Тяга рулевой трапеции 6507-3414050
Пневмогидроаккумулятор с арматурой 7406-3415005
Устройство зарядное
Блок зарядки с арматурой
Клапан приоритетный 7505-3435005-10
Фильтр 7505-3410080
Тормоз колесный передний 7505-3501000
Тормоз колесный задний 7505-3502000
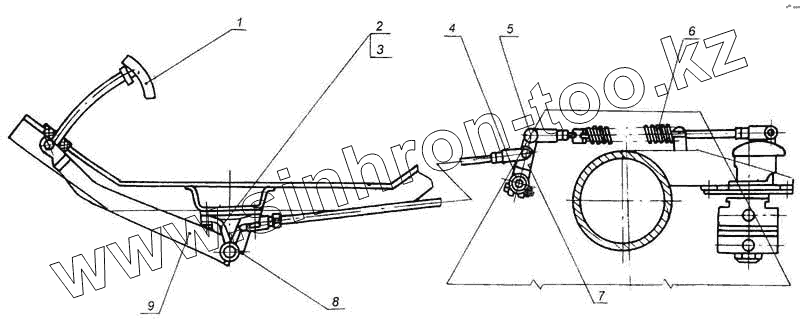
Привод тормозного крана 7505-3500032
Пневмосистема тормозов 7505-3500003
Тормоз стояночный 7505-3507006
Установка компрессора 6441-3500009
Компрессор 13.3509012
Компрессор 500-3509015-Б1
Цилиндр с пружинным энергоаккумулятором 7505-3519010
Цилиндр тормозной 6441-35190110
Коробка клапанная 6507-3573015-01
Клапан управления 7505-3573050
Установка электрооборудования 7505-3700002
Установка электрооборудования на панели приборов 7505-3800001-10
Инструмент шоферский
Инструмент шоферский
1
2
3
4
5
6
7
8
9
Позиция на иллюстрации
Заводской номер детали
Название детали
1
5335-3504015
Педаль
2
3504048
Кронштейн
3
546В-3504050
Кронштейн
4
7505-3504058
Рычаг с валиком
5
260088
Палец
6
546П-1602094
Пружина
7
6401-3504060
Рычаг
8
7505-3504020
Ось
9
7505-3504013
Основание педалей
Содержащиеся в справочниках-каталогах запасные части и детали не предлагаются к продаже, а носят исключительно информационный характер
Дополнительная информация
×
Название:
Номер:
Примечание: