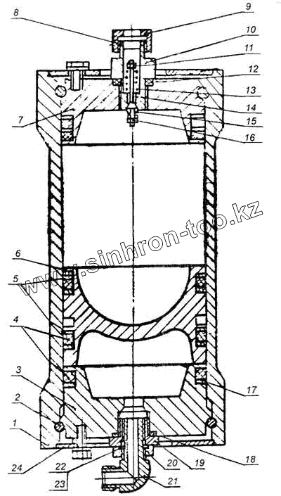
Каталог запасных частей к технике: МоАЗ 7505. Пневмогидроаккумулятор с арматурой 7406-3415005
1
2
3
4
5
6
7
8
9
10
11
12
13
14
15
16
17
18
19
20
21
22
23
24
| Позиция на иллюстрации | Заводской номер детали | Название детали | |
|---|---|---|---|
| 1 | 7406-3415035 | Гильза | |
| 2 | 7406-3415064 | Кольцо | |
| 3 | 7406-3415034 | Крышка | |
| 4 | 170-180-58-2-2 | Кольцо ГОСТ 18829-73 | |
| 5 | 7406-3415061 | Кольцо защитное см. 7406-3415060 | |
| 6 | 7406-3415042 | Поршень | |
| 7 | 7406-3415033 | Крышка | |
| 8 | 012-016-25-2-2 | Кольцо | |
| 9 | 546П-3821025 | Гайка М20х1,5-6Н | |
| 10 | 7406-3415052 | Корпус | |
| 11 | 250508 | Гайка | |
| 12 | 014-018-25-2-2 | Кольцо | |
| 13 | 7406-3415058 | Пружина | |
| 14 | 7406-3415054 | Клапан | |
| 15 | 7406-3415056 | Уплотнение | |
| 16 | 252004 | Шайба | |
| 17 | 7406-3415060 | Кольцо защитное | |
| 18 | 045-050-30-2-2 | Кольцо ГОСТ 18829-73 | |
| 19 | 6908-3415020 | Переходник | |
| 20 | 7505-3405278 | Гайка стопорная | |
| 21 | 7505-3405270 | Угольник | |
| 22 | 505-3405286 | Кольцо ГОСТ 18829-73 | |
| 23 | 4535294001 | Кольцо защитное | |
| 24 | 7406-3415094 | Фланец | |
| 30 | 7406-3415005 | Пневмогидроаккумулятор с арматурой |
Содержащиеся в справочниках-каталогах запасные части и детали не предлагаются к продаже, а носят исключительно информационный характер