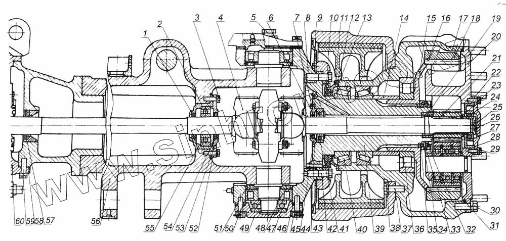
Каталог запасных частей к технике: МоАЗ 7505. Передний мост 7505-2300010
1
2
3
4
5
6
7
8
9
10
11
12
13
14
15
16
17
18
19
20
21
22
23
24
25
26
27
28
29
30
31
32
33
34
35
36
37
38
39
40
41
42
43
44
45
46
46
47
48
49
50
51
52
53
54
55
56
57
58
59
60
| Позиция на иллюстрации | Заводской номер детали | Название детали | |
|---|---|---|---|
| 264020 | 264020 | Масленка | |
| 252138 | 252138 | Шайба | |
| 252137 | 252137 | Шайба | |
| 252135 | 252135 | Шайба | |
| 298430 | 298430 | Сапун | |
| Пробка магнитная | Пробка магнитная | Пробка магнитная | |
| 262522 | 262522 | Пробка | |
| 264072 | 264072 | Масленка | |
| 264020 | 264020 | Масленка | |
| 252139 | 252139 | Шайба | |
| 306746 | 306746 | Клапан предохранительный | |
| 445826 | 445826 | Гайка М27х1,5-6Н | |
| 445013 | 445013 | Болт М24х2х115 | |
| 546-2405013-01 | 546-2405013-01 | Кожух в сборе с шестерней | |
| 7505-2304041-СБ | 7505-2304041-СБ | Кулак левый | |
| 7505-2300010-10 | 7505-2300010-10 | Мост передний | |
| 7505-2300010-11 | 7505-2300010-11 | Мост передний | |
| 252141 | 252141 | Шайба | |
| 373679 | 373679 | Шпилька | |
| 216320 | 216320 | Шпилька М16х50 ОСТ 37.001.166-81 | |
| 448016 | 448016 | Штифт 15х35 | |
| 448004 | 448004 | Штифт | |
| 258293 | 258293 | Шплинт | |
| 258290 | 258290 | Шплинт | |
| 258284 | 258284 | Шплинт | |
| 258282 | 258282 | Шплинт | |
| 258278 | 258278 | Шплинт | |
| 258250 | 258250 | Шплинт 12х100 ОСТ 37.001.172-75 | |
| 258071 | 258071 | Шплинт | |
| 258086 | 258086 | Шплинт | |
| 258053 | 258053 | Шплинт | |
| 446567 | 446567 | Шайба уплотнительная | |
| 1 | 1,2-55х80-2 | Манжета ГОСТ 8752-79 | |
| 2 | 311К5 | Подшипник ГОСТ 8338-57 | |
| 3 | 201544 | Болт | |
| 4 | 522А-2304060-10СБ | Шарнир | |
| 5 | 445071 | Болт М27х1,5-6gх52 | |
| 6 | 2,2-55х80-2 | Манжета ГОСТ 8752-79 | |
| 7 | 201418 | Болт М6-6gх16 ОСТ 37.001.123-75 | |
| 8 | 7505-2304040-СБ | Кулак правый | |
| 9 | 201454 | Болт | |
| 10 | 22-130х220-2 | Манжета ГОСТ 8752-79 | |
| 11 | 201456 | Болт | |
| 12 | 6507-3103036 | Обойма | |
| 13 | 6507-3103094 | Прокладка | |
| 14 | 6507-3103030 | Втулка | |
| 15 | 7405-2405015 | Кожух | |
| 16 | 7405-2405053 | Кольцо | |
| 17 | 7505-3103015-11 | Ступица | |
| 18 | 7405-2405050 | Шестерня | |
| 19 | 546-2405073 | Ограничитель | |
| 20 | 6908-2405018 | Водило в сборе | |
| 21 | 546-2405028 | Шестерня | |
| 22 | 542-2305078 | Прокладка | |
| 23 | 449679 | Кольцо | |
| 24 | 210К5 | Подшипник ГОСТ 8338-57 | |
| 25 | 542-2305065 | Шайба упорная | |
| 26 | 206496 | Болт | |
| 27 | 542-2305067 | Крышка | |
| 28 | 542-2305045-Б | Стакан | |
| 29 | 201460 | Болт | |
| 30 | 445078 | Болт | |
| 31 | 546-2405012 | Уплотнитель | |
| 32 | 546-3104077 | Гайка | |
| 33 | 546-3104082 | Шайба стопорная | |
| 34 | 546-3104079 | Шайба | |
| 35 | 546-3104080 | Гайка со штифтом | |
| 36 | 2232М | Подшипник ГОСТ 8328-75 | |
| 37 | 7505-3501202 | Болт М20х2,5х65 | |
| 38 | 7505-3501082 | Пластина | |
| 39 | 7505-2301018 | Цапфы в сборе | |
| 40 | 2007132 | Подшипник ГОСТ 333-79 | |
| 41 | 80211 | Подшипник ГОСТ 7242-81 | |
| 42 | 7505-2301103 | Болт М22-6gх70 | |
| 43 | 7502-2301053 | Прокладка | |
| 44 | 7502-2301051 | Крышка | |
| 45 | 206968 | Болт 3М16х1,5-6gх50 | |
| 46 | 542-2304081 | Прокладка регулировочная | |
| 46 | 542-2304080 | Прокладка регулировочная | |
| 47 | 8311 | Подшипник ГОСТ 6874-54 | |
| 48 | 42313М | Подшипник ГОСТ 8328-75 | |
| 49 | 542-2304046-62 | Крышка нижняя | |
| 50 | 542-2304025-61 | Обойма | |
| 51 | 130-140-58-2-2 | Кольцо ГОСТ 18829-73 | |
| 52 | 522А-2304055 | Прокладка | |
| 53 | 522А-2304048 | Крышка | |
| 54 | 2,2-55х80-2 | Манжета ГОСТ 8752-79 | |
| 55 | 522А-2304017-10 | Картер подшипника | |
| 56 | 7505-2301010-10 | Картер моста с кронштейнами в сборе | |
| 57 | 1,2-55х80-2 | Манжета ГОСТ 8752-79 | |
| 58 | 7405-2402034 | Прокладка | |
| 59 | 201593 | Болт | |
| 60 | 75051-2302010 | Редуктор переднего моста в сборе |
Содержащиеся в справочниках-каталогах запасные части и детали не предлагаются к продаже, а носят исключительно информационный характер