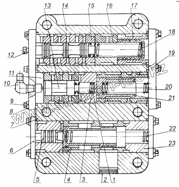
Каталог запасных частей к технике: МоАЗ 7505. Коробка клапанная 546В-1712510
1
3
4
5
6
6
7
8
9
10
11
12
13
14
15
16
17
18
19
20
21
22
23
| Позиция на иллюстрации | Заводской номер детали | Название детали | |
|---|---|---|---|
| 1 | 546В-1712545 | Пружина | |
| 3 | 546В-1712540 | Стакан пружины | |
| 4 | 546В-1712516-СБ | Пара золотниковая | |
| 5 | 546В-1712517-СБ | Пара золотниковая | |
| 6 | 6507-1712026 | Крышка | |
| 6 | 546В-1712526 | Крышка | |
| 7 | 045-050-30-2-2 | Кольцо ГОСТ 18829-73 | |
| 8 | 252135 | Шайба | |
| 9 | 201458 | Болт | |
| 10 | 379055 | Угольник | |
| 11 | 546В-1712531 | Пробка | |
| 12 | 262541 | Пробка | |
| 13 | 546В-1712523-СБ | Пара золотниковая | |
| 14 | 546В-1712512-01 | Корпус | |
| 15 | 546В-1712547-СБ | Пара золотниковая | |
| 16 | 546-1712554 | Втулка | |
| 17 | 540В1712553-СБ | Пара золотниковая | |
| 18 | 6507-1712071 | Пружина | |
| 19 | 546В-1712529 | Крышка | |
| 20 | 546В-1712557 | Пружина | |
| 21 | 546В-1712527-СБ | Пара золотниковая | |
| 22 | 546В-1712524 | Пружина | |
| 23 | 546В-1712535 | Втулка |
Содержащиеся в справочниках-каталогах запасные части и детали не предлагаются к продаже, а носят исключительно информационный характер