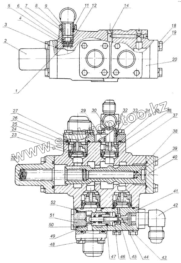
Каталог запасных частей к технике: МоАЗ 7505. Клапан приоритетный 7505-3435005-10
1
2
3
4
5
6
7
8
9
11
12
14
18
19
20
22
23
24
25
26
27
29
30
32
33
35
36
37
38
39
40
41
42
43
44
45
46
47
48
49
50
51
52
| Позиция на иллюстрации | Заводской номер детали | Название детали | |
|---|---|---|---|
| 1 | 7406-3435038 | Шайба | |
| 2 | 7406-3435032 | Крышка задняя | |
| 3 | 045-050-30-2-2 | Кольцо ГОСТ 18829-73 | |
| 4 | 7406-3435040 | Втулка | |
| 5 | 7406-3435044 | Седло | |
| 6 | 7406-3435046 | Винт | |
| 7 | 015-019-25-2-2 | Кольцо ГОСТ 18829-73 | |
| 8 | 7406-3435174 | Кольцо защитное | |
| 9 | 7505-3435170 | Угольник | |
| 11 | 7406-3435172 | Гайка стопорная | |
| 12 | 7406-3435042 | Клапан | |
| 14 | 262531 | Пробка КГ1/8 | |
| 18 | 252136 | Шайба | |
| 19 | 201561 | Болт М10-6gх35 ОСТ 37.001.123-75 | |
| 20 | 7406-3435015 | Корпус | |
| 22 | 7406-3435024 | Пружина | |
| 23 | 7406-3435048 | Седло обратного клапана | |
| 24 | 7406-3435052 | Клапан обратный | |
| 25 | 7406-3435054 | Пружина | |
| 26 | 7406-3435058 | Втулка распорная | |
| 27 | 7505-3435160 | Фланец | |
| 29 | 7505-3435162 | Фланец | |
| 30 | 7505-3435180-10 | Тройник | |
| 32 | 7505-3405278 | Гайка стопорная | |
| 33 | 7505-3405286 | Кольцо защитное | |
| 35 | 040-045-30-2-2 | Кольцо | |
| 36 | 7406-3435056 | Втулка обратного клапана | |
| 37 | 030-034-25-2-2 | Кольцо ГОСТ 18829-73 | |
| 38 | 7406-3435026 | Пружина | |
| 39 | 7406-3435020 | Золотник | |
| 40 | 7406-3435030 | Крышка передняя | |
| 41 | 7505-3435102 | Корпус | |
| 42 | 7505-3405270 | Угольник | |
| 43 | 201510 | Болт М10-6gх65 ОСТ 37.001.123-75 | |
| 44 | 7505-3435106 | Седло | |
| 45 | 7505-3439104 | Клапан | |
| 46 | 7505-3428054 | Пружина клапана | |
| 47 | 020-025-30-2-2 | Кольцо | |
| 48 | 200325 | Болт М10-6gх80 ОСТ 37.001.122-75 | |
| 49 | 009-012-19-2-2 | Кольцо | |
| 50 | 027-032-30-2-2 | Кольцо ГОСТ 18829-73 | |
| 51 | 7505-3435108 | Пробка | |
| 52 | 7505-3435110 | Поршень |
Содержащиеся в справочниках-каталогах запасные части и детали не предлагаются к продаже, а носят исключительно информационный характер