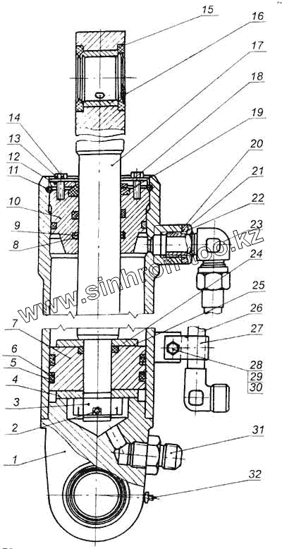
Каталог запасных частей к технике: МоАЗ 7505. Гидроцилиндр 7505-3405005
1
2
3
4
5
6
7
8
9
10
11
12
13
14
15
16
17
18
19
20
21
22
23
24
25
26
27
28
29
30
31
32
| Позиция на иллюстрации | Заводской номер детали | Название детали | |
|---|---|---|---|
| 1 | 7505-3405018 | Цилиндр с крышкой | |
| 2 | 258086 | Шплинт | |
| 3 | 251043 | Гайка | |
| 4 | 6507-3405048 | Кольцо упорное | |
| 5 | 090-100-58-2-2 | Кольцо ГОСТ 18829-73 | |
| 6 | 542-3405060 | Кольцо защитное | |
| 7 | 6507-3405042 | Поршень | |
| 8 | 045-053-46-2-2 | Кольцо | |
| 9 | 6507-3405055 | Кольцо защитное | |
| 10 | 6507-3405058 | Крышка передняя | |
| 11 | 6507-3405064 | Кольцо ограничительное | |
| 12 | 6507-3405094-10 | Шайба упорная | |
| 13 | 201457 | Болт | |
| 14 | 252135 | Шайба | |
| 15 | 522А-3405100 | Уплотнитель | |
| 16 | 522А-3405030-10 | Втулка | |
| 17 | 6507-3405040 | Шток с втулкой | |
| 18 | 6507-3405085 | Скребок | |
| 19 | 6507-3405030 | Грязесъемник | |
| 20 | 021-025-25-2-2 | Кольцо ГОСТ 18829-73 | |
| 21 | 7505-3405286 | Кольцо защитное | |
| 22 | 7505-3405278 | Гайка стопорная | |
| 23 | 7505-3405270 | Угольник | |
| 24 | 6507-3405057 | Кольцо защитное | |
| 25 | 030-038-46-2-2 | Кольцо ГОСТ 18829-73 | |
| 26 | 7505-3405290 | Гидропровод | |
| 27 | 6507-3405284 | Хомут | |
| 28 | 201457 | Болт | |
| 29 | 250510 | Гайка | |
| 30 | 252135 | Шайба | |
| 31 | 7505-3405276 | Штуцер | |
| 32 | 264020 | Масленка |
Содержащиеся в справочниках-каталогах запасные части и детали не предлагаются к продаже, а носят исключительно информационный характер