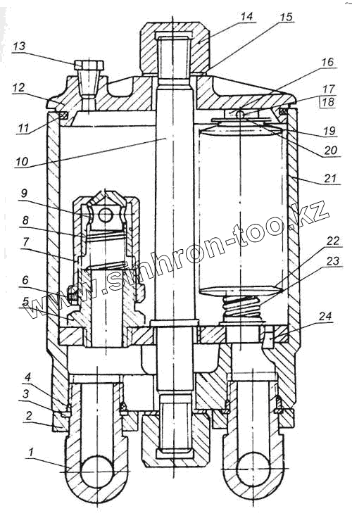
Каталог запасных частей к технике: МоАЗ 7505. Фильтр ГМП 7405-170431-01
1
2
3
4
5
6
7
8
9
10
11
12
13
14
15
16
17
18
19
20
21
22
23
24
| Позиция на иллюстрации | Заводской номер детали | Название детали | |
|---|---|---|---|
| 1 | 7405-1704341 | Переходник | |
| 2 | 7405-1704343 | Гайка стопорная | |
| 3 | 7405-1704345 | Кольцо защитное | |
| 4 | 034-040-36-2-2 | Кольцо ГОСТ 18829-73 | |
| 5 | 6401-1704322-10 | Держатель клапана | |
| 6 | 242200 | Винт М4-6gх6 ОСТ 37.001.131-82 | |
| 7 | 6401-1704323 | Корпус | |
| 8 | 546А-3401126 | Пружина | |
| 9 | 546А-3401125 | Клапан | |
| 10 | 7405-1704324 | Винт стяжной | |
| 11 | 155-160-36-2-2 | Кольцо ГОСТ 18829-73 | |
| 12 | 7405-1704318 | Крышка | |
| 13 | 262543 | Пробка | |
| 14 | 6401-1704340-10 | Гайка М24 | |
| 15 | Д357П-4612036 | Прокладка | |
| 16 | 7405-1704331 | Стержень | |
| 17 | 258041 | Шплинт | |
| 18 | 260307 | Заглушка 20 ОСТ 37.001.173-75 | |
| 19 | 020-025-30-2-2 | Кольцо | |
| 20 | 252021 | Шайба 24 ОСТ 37.001.144-75 | |
| 21 | 6401-1704315-10 | Корпус фильтра | |
| 22 | 54.57.020А | Фильтрующий элемент | |
| 23 | 7405-1704330 | Пружина | |
| 24 | 448007 | Штифт 14х30 |
Содержащиеся в справочниках-каталогах запасные части и детали не предлагаются к продаже, а носят исключительно информационный характер