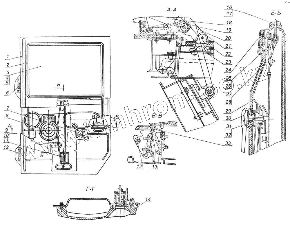
Каталог запасных частей к технике: МоАЗ 7505. Дверь
1
2
3
4
5
6
7
8
9
10
11
12
12
13
14
15
16
17
18
19
20
21
22
23
24
25
26
27
28
29
30
31
32
33
| Позиция на иллюстрации | Заводской номер детали | Название детали | |
|---|---|---|---|
| 5336-6104069 | 5336-6104069 | Облицовка ручки | |
| 21011-6104064 | 21011-6104064 | Ручка стеклоподъемника | |
| 7406-6103214 | 7406-6103214 | Стекло | |
| 1 | 7406-6100030 | Дверь | |
| 2 | 7406-8202010 | Поручень передний | |
| 3 | 7406-6103210 | Стекло | |
| 4 | 7406-6103252 | Желобок | |
| 5 | 7406-6103256 | Желобок | |
| 6 | 7406-6106010 | Петля верхняя | |
| 7 | 5320-6105081 | Привод замка левый | |
| 8 | 7406-6104011 | Стеклоподъемник | |
| 9 | 205-4202203-Б | Пружина | |
| 10 | 6422-6104076 | Ролик нижний | |
| 11 | 5336-6104082 | Ось натяжная | |
| 12 | 5336-6106013-01 | Петля левая | |
| 13 | 5320-6105035-10 | Фиксатор левый | |
| 14 | 5320-6105021-10 | Замок левый | |
| 15 | 5320-6105040-М | Ручка наружная | |
| 16 | 7406-6103274 | Окантовка | |
| 17 | 7406-6103280 | Уплотнитель | |
| 18 | 5336-6106038-10 | Кронштейн | |
| 19 | 5336-6106097-10 | Буфер | |
| 20 | 5336-6106082 | Ограничитель | |
| 21 | 5336-6106144 | Крышка | |
| 22 | 5336-6106086 | Кронштейн | |
| 23 | 5336-6106148 | Пружина | |
| 24 | 7406-6102027 | Панель накладная | |
| 25 | 529В-6103218 | Прокладка | |
| 26 | 7406-6103220 | Обойма | |
| 27 | 5336-6104126 | Ролик верхний | |
| 28 | 5336-6104138 | Планка троса | |
| 29 | 7406-6102010 | Обивка двери | |
| 30 | 5336-6105182 | Ручка привода замка | |
| 31 | 5336-6104074 | Пружина стопорная | |
| 32 | 5336-6105184-10 | Розетка ручки | |
| 33 | 7406-6107026 | Уплотнитель |
Содержащиеся в справочниках-каталогах запасные части и детали не предлагаются к продаже, а носят исключительно информационный характер