Каталог запасных частей к технике: МоАЗ 7505. Блок зарядки с арматурой
7505-3428005-10
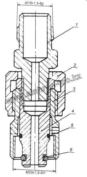
1
2
3
4
5
6
| Позиция на иллюстрации | Заводской номер детали | Название детали | |
|---|---|---|---|
| 7505-3428048 | 7505-3428048 | Седло обратного клапана | |
| 7505-3428056 | 7505-3428056 | Втулка обратного клапана | |
| 7505-3428053 | 7505-3428053 | Клапан обратный | |
| 7505-3428 | 7505-3428 | Пружина | |
| 7505-3428030 | 7505-3428030 | Втулка распорная | |
| 030-034-25-2-2 | 030-034-25-2-2 | Кольцо ГОСТ 18829-73 | |
| 7505-3428005-10 | 7505-3428005-10 | Блок зарядки с арматурой | |
| 1 | 7406-3415112 | Штуцер | |
| 2 | 7406-3415115 | Гайка накидная | |
| 3 | 7406-3415114 | Корпус | |
| 4 | 7406-3415112 | Штуцер | |
| 5 | 7406-3415116 | Кольцо стопорное | |
| 6 | 008-012-25-2-2 | Кольцо | |
| 7 | 7505-3435162 | Фланец | |
| 8 | 040-045-30-2-2 | Кольцо | |
| 9 | 201501 | Болт | |
| 10 | 252136 | Шайба | |
| 11 | 7505-3428180 | Тройник | |
| 12 | 7505-3405286 | Кольцо защитное | |
| 13 | 021-085-25-2-2 | Кольцо ГОСТ 18829-73 | |
| 14 | 009-012-19-2-2 | Кольцо | |
| 15 | 7505-3428068 | Заглушка | |
| 16 | 018-022-25-2-2 | Кольцо | |
| 17 | 7505-3428060 | Седло | |
| 18 | 7505-3428050 | Корпус клапана | |
| 19 | 7505-3428052 | Стержень | |
| 21 | 012-016-25-2-2 | Кольцо | |
| 22 | 7505-3428172 | Кольцо защитное | |
| 23 | 7406-3435172 | Гайка стопорная | |
| 24 | 7505-3435170 | Угольник | |
| 25 | 7505-3428064 | Шайба | |
| 26 | 7505-3428054 | Пружина клапана | |
| 27 | 7505-3428062 | Клапан настройки | |
| 28 | 546П-2915408 | Винт стопорный | |
| 29 | 379432 | Пломба 4-12 ГОСТ 18677-73 | |
| 30 | 258252 | Шплинт | |
| 31 | 206502 | Болт М8-6gх30 ОСТ 37.001.122-75 | |
| 32 | 250510 | Гайка | |
| 33 | 7505-3428070 | Заглушка | |
| 34 | 7505-3428058 | Поршень | |
| 35 | 040-045-30-2-2 | Кольцо | |
| 36 | 9585-8609076-10 | Штуцер | |
| 37 | 7406-4612022 | Пружина | |
| 38 | 7505-3428025-10 | Клапан обратный | |
| 39 | 7505-3428035-10 | Седло | |
| 40 | 7505-3428015-10 | Корпус блока зарядки | |
| 41 | 027-032-30-2-2 | Кольцо ГОСТ 18829-73 | |
| 42 | 546В-3416080 | Кольцо защитное | |
| 43 | 546В-3416078 | Гайка стопорная | |
| 44 | 010-014-25-2-2 | Кольцо ГОСТ 18829-73 |
Содержащиеся в справочниках-каталогах запасные части и детали не предлагаются к продаже, а носят исключительно информационный характер