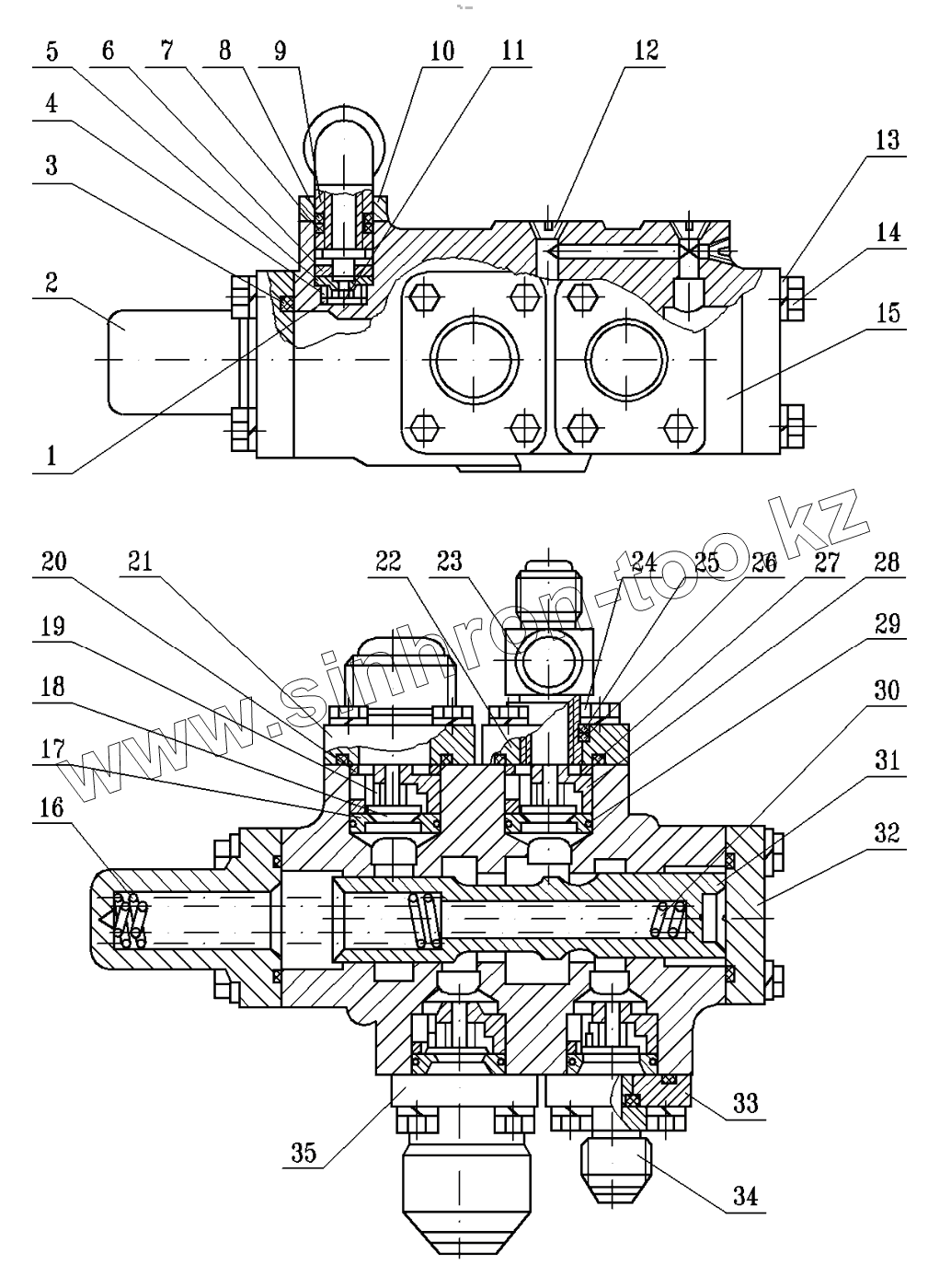
Каталог запасных частей к технике: МоАЗ 75054-22. Клапан приоритетный с арматурой
1
2
3
4
5
6
7
8
9
10
11
12
13
14
15
16
17
18
19
20
21
22
23
24
25
26
27
28
29
30
31
32
33
34
35
| Позиция на иллюстрации | Заводской номер детали | Название детали | |
|---|---|---|---|
| 1 | 7406-3435038 | Шайба | |
| 2 | 7406-3435032 | Крышка задняя | |
| 3 | 045-050-30-2-2 | Кольцо ГОСТ 18829-73 | |
| 4 | 7406-3435040 | Втулка | |
| 5 | 7406-3435044 | Седло | |
| 6 | 7406-3435046 | Винт | |
| 7 | 015-019-25-2-2 | Кольцо ГОСТ 18829-73 | |
| 8 | 7406-3435174 | Кольцо защитное | |
| 9 | 7505-3435170 | Угольник | |
| 10 | 7406-3435172 | Гайка стопорная | |
| 11 | 7405-3435042 | Клапан | |
| 12 | 262531 | Пробка КГ1/8 | |
| 13 | 252136 | Шайба | |
| 14 | 201561 | Болт М10-6gх35 ОСТ 37.001.123-75 | |
| 15 | 7406-3435015 | Корпус | |
| 16 | 7406-3435024 | Пружина | |
| 17 | 7406-3435048 | Седло обратного клапана | |
| 18 | 7406-3435052 | Клапан обратный | |
| 19 | 7406-3435054 | Пружина | |
| 20 | 7406-3435058 | Втулка распорная | |
| 21 | 7405-3436160 | Фланец | |
| 22 | 7505-3435162 | Фланец | |
| 23 | 7505-3435180-01 | Тройник | |
| 24 | 7505-3405278 | Гайка стопорная | |
| 25 | 7505-3405286 | Кольцо защитное | |
| 26 | 021-025-25-2-2 | Кольцо ГОСТ 18829-73 | |
| 27 | 040-045-30-2-2 | Кольцо | |
| 28 | 7406-3435056 | Втулка обратного клапана | |
| 29 | 030-034-25-2-2 | Кольцо ГОСТ 18829-73 | |
| 30 | 7406-3435026 | Пружина | |
| 31 | 7406-3435020 | Золотник | |
| 32 | 7406-3435030 | Крышка передняя | |
| 33 | 7508-3435070 | Фланец | |
| 34 | 7505-3405276 | Штуцер | |
| 35 | 7505-3435100 | Клапан запорный |
Содержащиеся в справочниках-каталогах запасные части и детали не предлагаются к продаже, а носят исключительно информационный характер