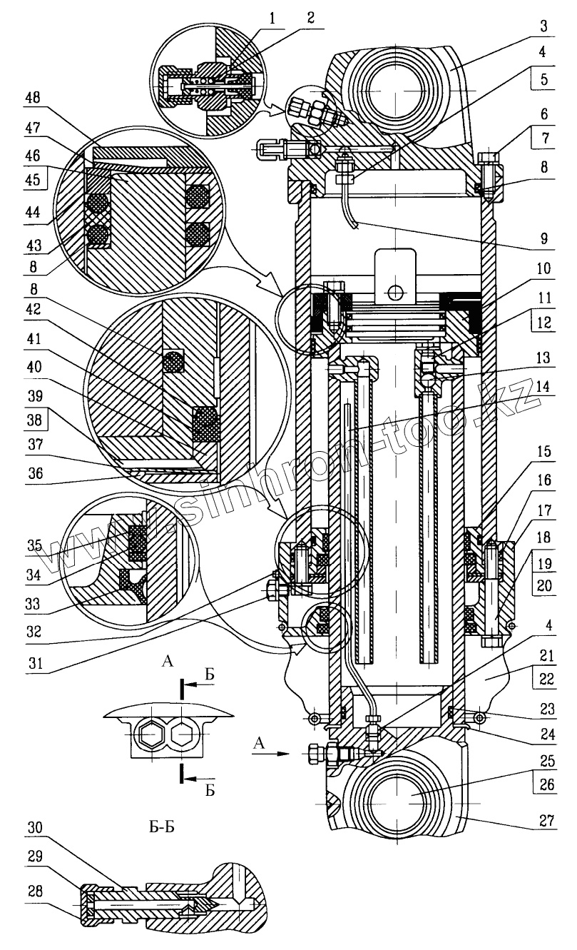
Каталог запасных частей к технике: МоАЗ 75051. Цилиндр подвески
1
2
3
4
4
5
6
7
8
8
8
9
10
11
12
13
14
15
16
17
18
19
20
21
22
23
24
25
26
27
28
29
30
31
32
33
34
35
36
37
38
39
40
41
42
43
44
45
46
47
48
| Позиция на иллюстрации | Заводской номер детали | Название детали | |
|---|---|---|---|
| 1 | 75405-2917360 | Клапан заправочный | |
| 2 | 540-2917362 | Прокладка уплотнительная | |
| 3 | 540-2917130 | Крышка верхняя | |
| 4 | 344867 | Штуцер | |
| 5 | 008-012-25-2-2 | Кольцо | |
| 6 | 340279 | Болт | |
| 7 | 252137 | Шайба | |
| 8 | 540-2917064-Б | Кольцо распорное | |
| 9 | 540-2917123 | Трубка заправочная | |
| 10 | 540-2917056-10 | Цилиндр противодавления | |
| 11 | 540-2917186-Б | Пробка клапана | |
| 12 | 540-1712534 | Прокладка | |
| 13 | Ш 11,113 мм Н | Шарик | |
| 14 | 540-2917130-01 | Крышка верхняя | |
| 15 | 7540-2917076 | Корпус манжеты | |
| 16 | 200-210-58-2-2 | Кольцо | |
| 17 | 7540-2917040 | Картер маслосборника | |
| 18 | 340320 | Болт М12х1,25-6Нх75 | |
| 19 | 540-2917393 | Крышка прижимная | |
| 20 | 012-016-25-2-2 | Кольцо | |
| 21 | 540-2917125-10 | Чехол защитный | |
| 22 | 258299 | Шплинт | |
| 23 | 100-110-58-2-2 | Кольцо | |
| 24 | 540-2917109-Б | Шайба стопорная | |
| 25 | ШСЛ-60К | Подшипник ГОСТ 3635-78 | |
| 26 | 6411-2907459 | Кольцо опорное | |
| 27 | 540-2917118-11 | Крышка нижняя | |
| 28 | 540-2917392-А | Крышка | |
| 29 | 540-2917390 | Прокладка уплотнительная | |
| 30 | 540-2917396 | Штуцер заправочный | |
| 31 | 262541 | Пробка | |
| 32 | 340279-02 | Болт М12х1,25-6Нх35 | |
| 33 | 540-2917104-Б | Кольцо предохранительное | |
| 34 | 130-140-58-2-2 | Кольцо ГОСТ 18829-73 | |
| 35 | 540-2917103 | Шайба защитная | |
| 36 | 7540-2917087 | Диск прижимной | |
| 37 | 7540-2917086 | Пружина | |
| 38 | 7540-2917088 | Прокладка регулировочная | |
| 39 | 7540-2917089 | Прокладка регулировочная | |
| 40 | 540-2917085 | Кольцо нажимное | |
| 41 | 540-2917080-02 | Манжета | |
| 42 | 540-2917082-Б | Кольцо распорное | |
| 43 | 540-2917062-01 | Манжета поршня | |
| 44 | 540-2917067 | Кольцо нажимное | |
| 45 | 540-2917070-Б | Прокладка регулировочная | |
| 46 | 540-2917071-10 | Прокладка регулировочная | |
| 47 | 540-2917068 | Пружина | |
| 48 | 540-2917069 | Диск прижимной |
Содержащиеся в справочниках-каталогах запасные части и детали не предлагаются к продаже, а носят исключительно информационный характер