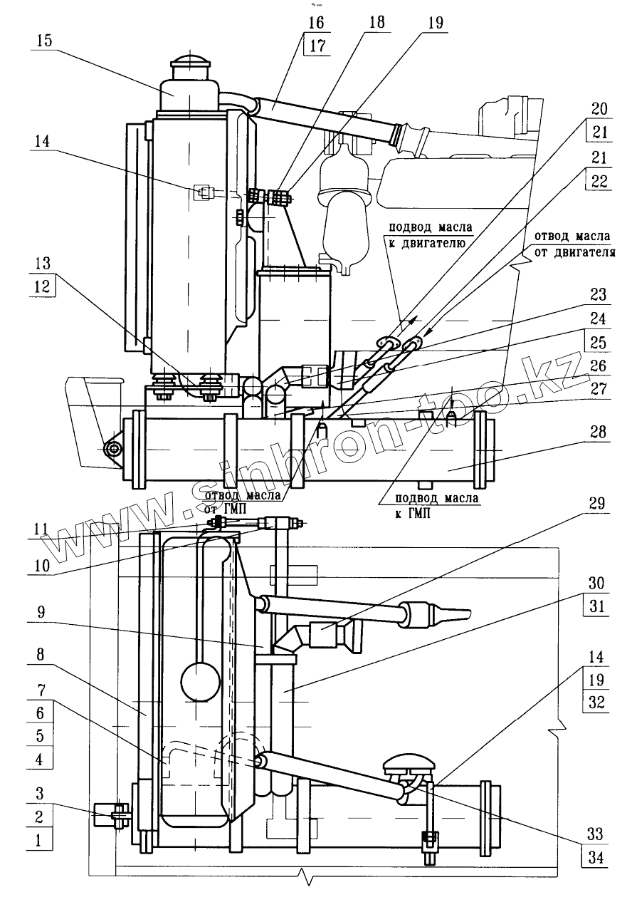
Каталог запасных частей к технике: МоАЗ 75051. Система охлаждения двигателя
1
2
3
4
5
6
7
8
9
10
11
12
13
14
14
15
16
17
18
19
19
20
21
21
22
23
24
25
26
27
28
29
30
31
32
33
34
| Позиция на иллюстрации | Заводской номер детали | Название детали | |
|---|---|---|---|
| 1 | 260138 | Палец 16х55 | |
| 2 | 252017 | Шайба 16 | |
| 3 | 258052 | Шплинт | |
| 4 | 546П-1013013 | Рукав соединительный | |
| 5 | 297580 | Пряжка | |
| 6 | 297584 | Лента | |
| 7 | 297575 | Шплинт | |
| 8 | 546П-1310110 | Жалюзи | |
| 9 | 75051-1303060 | Труба | |
| 10 | 546П-5205025 | Прокладка | |
| 11 | 6401-1302035 | Тяга радиатора | |
| 12 | 529К-1303049 | Прокладка | |
| 13 | 75051-1301089 | Патрубок | |
| 14 | 252137 | Шайба | |
| 15 | 546П-1301010-10 | Радиатор | |
| 16 | 6401-1303032 | Рукав | |
| 17 | 75051-1015300 | Хомут 56 | |
| 18 | 252007 | Шайба | |
| 19 | 250514 | Гайка | |
| 20 | 75051-1013110 | Патрубок сливной | |
| 21 | 546П-1013117 | Прокладка | |
| 22 | 75051-1013122 | Патрубок | |
| 23 | 75051-1303070-01 | Труба | |
| 24 | 546П-1303049 | Прокладка | |
| 25 | 6401-1303050 | Патрубок впускной | |
| 26 | 75051-1013115 | Трубопровод | |
| 27 | 75051-1013116 | Трубопровод | |
| 28 | 75051-1013310-01 | Маслоохладитель | |
| 29 | 546А-1303010 | Рукав | |
| 30 | 6401-1303010 | Рукав | |
| 31 | 75051-1303040 | Хомут | |
| 32 | 75051-1013401 | Хомут | |
| 33 | 250512 | Гайка | |
| 34 | 252136 | Шайба |
Содержащиеся в справочниках-каталогах запасные части и детали не предлагаются к продаже, а носят исключительно информационный характер