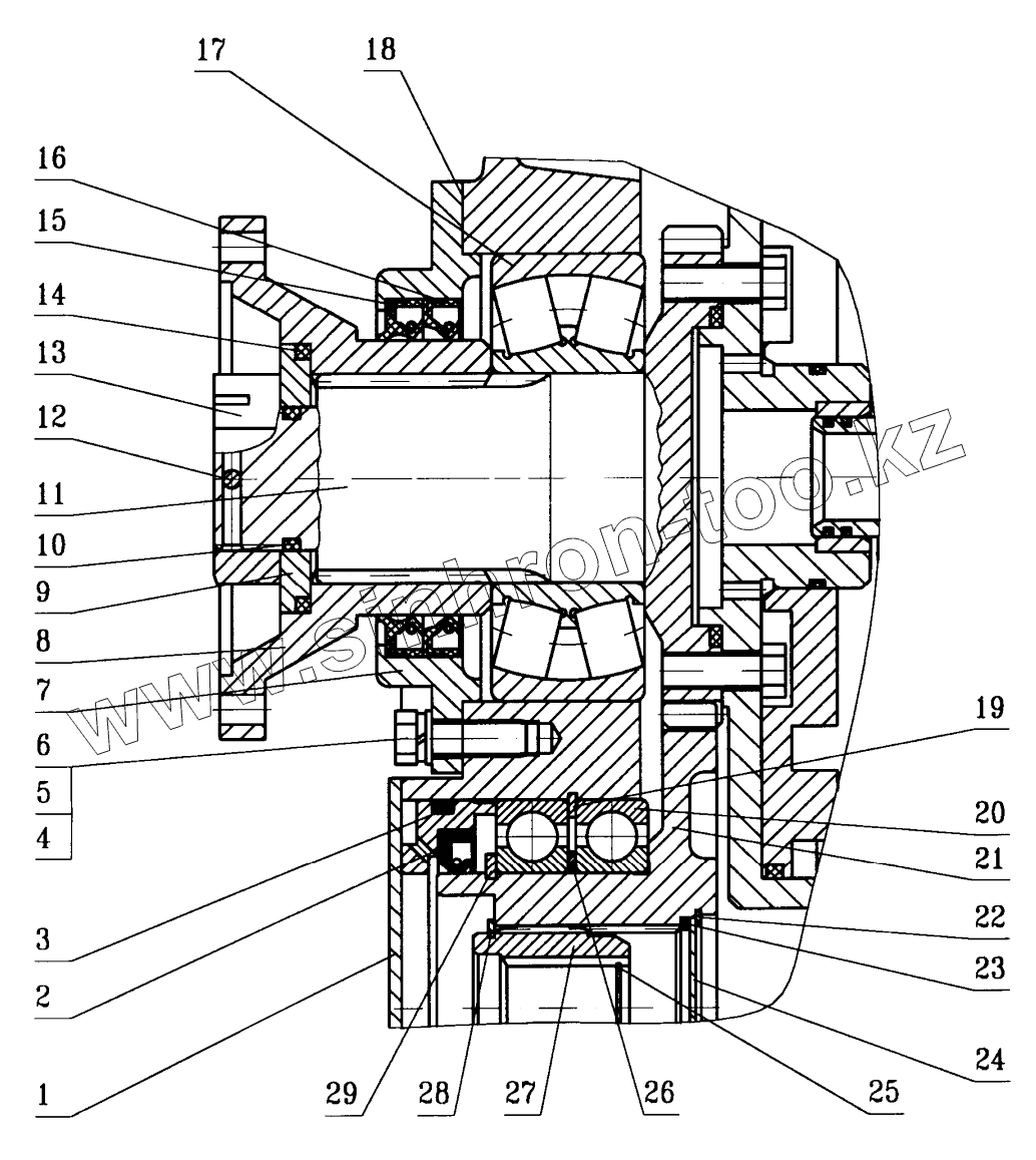
Каталог запасных частей к технике: МоАЗ 75051. Привод насосов гидросистемы
1
2
3
4
5
6
7
8
9
10
11
12
13
14
15
16
17
18
19
20
21
22
23
24
25
26
27
28
29
| Позиция на иллюстрации | Заводской номер детали | Название детали | |
|---|---|---|---|
| 1 | 549Б-4202272 | Крышка | |
| 2 | 1.2-90х120-3 | Манжета | |
| 3 | 130-140-58-2-2 | Кольцо ГОСТ 18829-73 | |
| 4 | 252137 | Шайба | |
| 5 | 252007 | Шайба | |
| 6 | 201540 | Болт | |
| 7 | 7806-1709272 | Крышка | |
| 8 | 69081-1709742 | Фланец ведущего вала | |
| 9 | 7806-1729334 | Шайба упорная | |
| 10 | 040-048-46-2-3 | Кольцо | |
| 11 | 7405-1709682-10 | Вал ведущий | |
| 12 | 258086 | Шплинт | |
| 13 | 342491 | Гайка М48х2-6Н | |
| 14 | 080-090-58-2-3 | Кольцо | |
| 15 | I.2-92х120-2 | Манжета | |
| 16 | II.2-92х120-2 | Манжета | |
| 17 | 53614 | Подшипник | |
| 18 | 7806-1709278 | Прокладка | |
| 19 | 7405-1767546 | Кольцо 16140 | |
| 20 | 118 | Подшипник ГОСТ 8338-75 | |
| 21 | 7405-1767532-10 | Шестерня привода насоса НШ-100 | |
| 22 | 7405-1767544 | Кольцо 1630 | |
| 23 | 070-080-58-2-2 | Кольцо | |
| 24 | 7405-1767534 | Втулка | |
| 25 | 449741 | Кольцо В28 ГОСТ 13941-86 | |
| 26 | 7405-1767538 | Кольцо распорное | |
| 27 | 7505-1709198 | Муфта | |
| 28 | 449676 | Кольцо В50 ГОСТ 3940-86 | |
| 29 | 540М-1701294 | Кольцо 1690 |
Содержащиеся в справочниках-каталогах запасные части и детали не предлагаются к продаже, а носят исключительно информационный характер