Вернуться на главную
Поиск
Каталоги запчастей к технике
Грузовые автомобили и прицепы
МоАЗ
75051
Дифференциал редуктора переднего моста
Каталог запасных частей к технике: МоАЗ 75051. Дифференциал редуктора переднего моста
zoom-in
zoom-out
enlarge
shrink
circle-right
circle-left
file-text2
info
cart
Тип техники
Не выбрано
Легковые автомобили
Грузовые автомобили и прицепы
Автобусы
Сельхозтехника
Спецтехника
Двигатели
Мототехника
Марка
Не выбрано
BAW
DAF
DongFeng
FAW
Foton
HOWO
Hyundai
IVECO
JAC Motors
LGMG
MAN
Shaanxi
SITRAK
Studebaker
Tata
Volvo
Автокомпонент Плюс
БелАЗ
Брянский Арсенал
ГАЗ
ЗИЛ
КАЗ
Камский автозавод
КрАЗ
Мадара
МАЗ
МЗКТ
МоАЗ
Нефтекамский автозавод
Ставропольский Завод АвтоПрицепов
ТАТРА
Тонар
УралАЗ
ЧМЗАП
Модель
Не выбрано
7505
75051
75054-22
Схема
>
Не выбрано
Схема деления автомобиля-самосвала МоАЗ-75051 на составные части
Подвеска двигателя
Установка пускового подогревателя ПЖД44 ХЛ1
Установка пускового подогревателя ПЖД-30
Маслоохладитель
Система питания двигателя топливом
Управление подачей топлива
Установка воздушного фильтра
Система выпуска отработавших газов (до 10.07.1997 г.)
Система выпуска отработавших газов (с 10.07.1997 г.)
Система охлаждения двигателя
Рамка радиатора. Кожух вентилятора
Установка вентилятора
Привод вентилятора
Ролик натяжной
Передача гидромеханическая
Гидротрансформатор и механизм управления дифференциалом в сборе
Картер гидротрансформатора
Насос масляный
Клапан блокировки дифференциала
Гидротрансформатор
Привод насоса масляного
Механизм управления дифференциалом
Коробка передач
Вал реверсивный
Фрикцион
Тормоз гидравлический
Вал ведомый
Клапан подпорный и трубопроводы гидравлического тормоза
Механизм управления гидравлическим тормозом
Маслозаборник и полнопоточный фильтр
Картер коробки передач
Фильтр тонкой очистки
Картер гидромеханической передачи
Коробка золотниковая
Клапан корректирующий
Механизм управления ГМП
Механизм привода управления тормоза гидравлического
Дифференциал
Вал диапазонный
Вал ведущий
Привод насосов гидросистемы
Передача карданная
Установка муфты гибкой и механизма отключения (до 01.05.2003 г.)
Установка муфты и механизма отключения (с 01.05.2003 г.)
Муфта гибкая (до 01.05.2003 г.)
Муфта (с 01.05.2003 г.)
Механизм отключения трансмиссии
Мост передний
Шарнир
Водило
Редуктор переднего моста
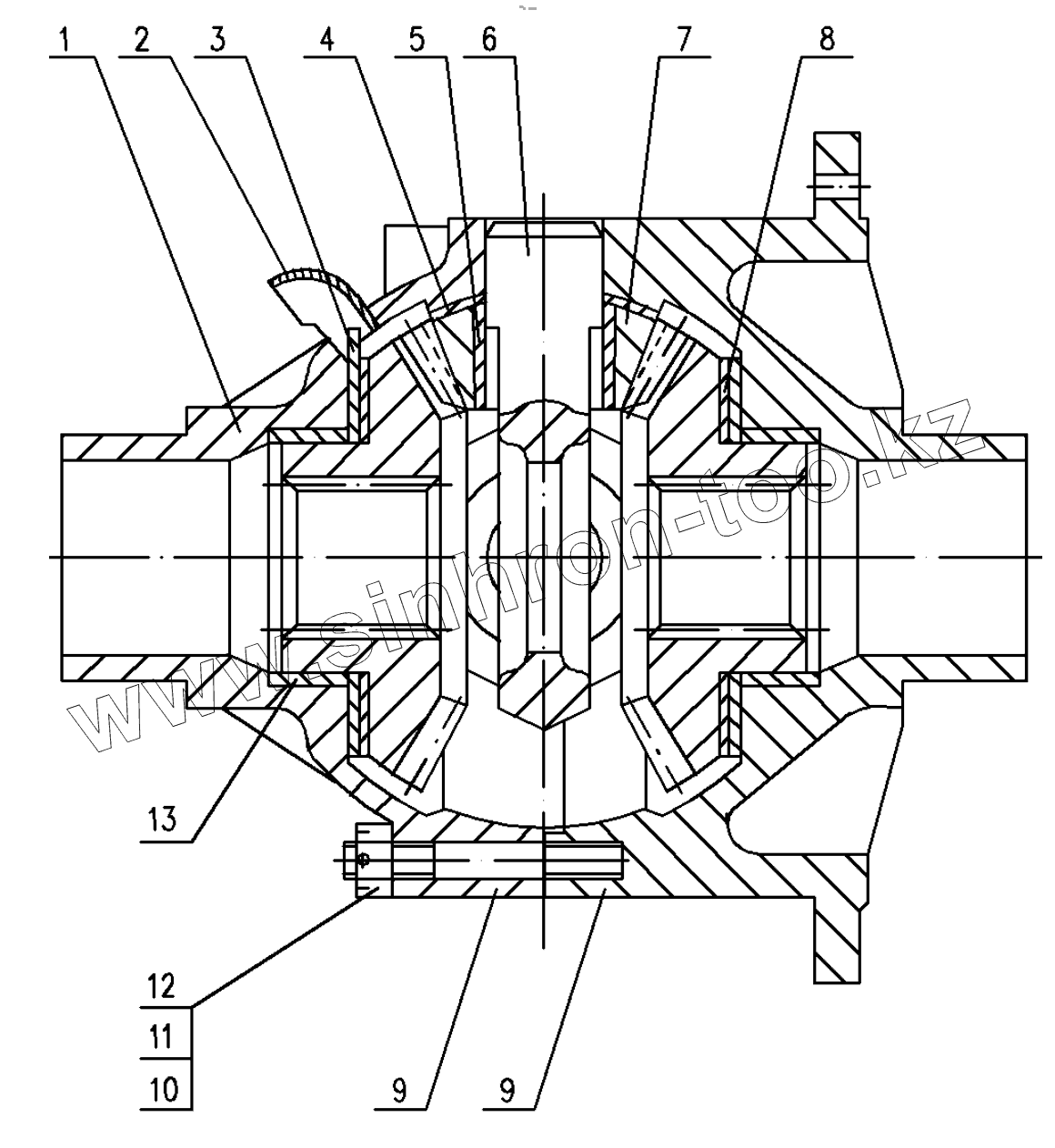
Дифференциал редуктора переднего моста
Мост задний (до 01.05.2003 г.)
Мост задний (с 01.05.2003 г.)
Редуктор заднего моста
Дифференциал редуктора заднего моста
Пневмопривод блокировки дифференциала заднего моста
Рама, щиты и буксирный палец
Подвеска управляемого моста
Цилиндр подвески
Подвеска заднего моста
Установка колес
Схема установки рулевого управления
Руль гидравлический с арматурой
Вал карданный
Гидроцилиндр с арматурой
Клапан предохранительный
Клапан приоритетный с арматурой
Фильтр
Электродвигатель с насосом
Тяга рулевой трапеции
Тормоз колесный передний
Тормоз колесный задний
Тормоз стояночный с редуктором заднего моста
Схема пневмопривода тормозов
Установка компрессора и его привода
Энергоаккумулятор пружинный
Цилиндр тормозной
Привод тормозного крана
Установка электрооборудования
Установка электрооборудования на панели приборов
Кабина и оперение
Люк крыши вентиляционный
Дверь
Установка сиденья водителя
Вентилятор
Отопление кабины (МоАЗ-75051)
Отопление кабины (МоАЗ-750511 до 04.2001 г)
Отопление кабины (МоАЗ-750511 с 04.2001 г)
Установка кузова
Установка кузова для перевозки угля
Механизм фиксации борта
Схема установки гидросистемы
Схема установки гидросистемы
Гидробак
Сапун
Фильтр
Заборник
Гидрораспределитель
Гидроцилиндр опрокидывающего механизма
Схема установки подшипников
1
2
3
4
5
6
7
8
9
9
10
11
12
13
Позиция на иллюстрации
Заводской номер детали
Название детали
546А-24030012-А
546А-24030012-А
Дифференциал редуктора переднего моста
1
546-2403050-Б
Шестерня
2
5336-2403027
Маслоуловитель
3
6908-2403063
Шайба 65Г
4
546-2403058-Б
Шайба
5
546-2403057-Б
Втулка
6
546-2403060-Б
Крестовина дифференциала
7
546-2403055-Б
Сателлит дифференциала
8
546-2403051-В
Шайба
9
546А-2403016
Дифференциал в сборе
10
446216
Шпилька
11
250871
Гайка
12
258284
Шплинт
13
546-2403020-10
Втулка
Содержащиеся в справочниках-каталогах запасные части и детали не предлагаются к продаже, а носят исключительно информационный характер
Дополнительная информация
×
Название:
Номер:
Примечание: