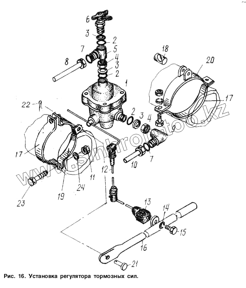
Каталог запасных частей к технике: МАЗ-9506. Установка регулятора тормозных сил
1
2
2
2
3
3
3
4
4
5
6
7
7
8
9
10
11
12
13
14
15
16
17
17
18
19
20
21
22
23
24
| Позиция на иллюстрации | Заводской номер детали | Название детали | |
|---|---|---|---|
| 475.701.051.0 | 475.701.051.0 | Регулятор тормозных сил | |
| 433.302 000.0 | 433.302 000.0 | Упругий элемент | |
| 105.069.05-000 У 1 | 105.069.05-000 У 1 | Клапан контрольного вывода | |
| 1 | 100-3533010 | Регулятор тормозных сил | |
| 2 | 020-025-30-2-3 | Кольцо | |
| 3 | 376145 | Шайба 22 | |
| 4 | 374939 | Гайка М22х1,5-6Н | |
| 5 | 403062 | Тройник | |
| 6 | 100-3515310 | Клапан контрольного вывода | |
| 7 | 008-011-19-2-3 | Кольцо | |
| 8 | 9506-3506276 | Трубка | |
| 9 | 402741 | Угольник | |
| 10 | 9506-3506277 | Трубка | |
| 11 | 250512 | Гайка М10-6Н | |
| 12 | 9506-3533028 | Тяга | |
| 13 | 100-3533110 | Упругий элемент | |
| 14 | 252157 | Шайба 124 | |
| 15 | 201538 | Болт М12-6gх25 | |
| 16 | 9506-3533033 | Штанга | |
| 17 | 9389-3533039-10 | Хомут | |
| 18 | 9389-3533072 | Ось | |
| 19 | 9389-3533030-10 | Хомут | |
| 20 | 9389-3533025-10 | Хомут | |
| 21 | 260054 | Палец 10х20 | |
| 22 | 258039 | Шплинт 3,2х20 | |
| 23 | 201509 | Болт М10-6gх60 | |
| 24 | 252136 | Шайба 10.ОТ |
Содержащиеся в справочниках-каталогах запасные части и детали не предлагаются к продаже, а носят исключительно информационный характер