Каталог запасных частей к технике: МАЗ-643068. Установка спальных мест, шкафов и шторы
1
2
3
3
4
4
4
4
5
5
6
6
7
7
8
9
9
9
10
11
11
12
13
14
14
15
16
17
17
17
17
17
18
19
20
20
21
21
21
22
23
24
25
26
27
28
29
30
30
31
31
32
32
33
34
35
36
37
38
39
40
41
41
42
43
44
45
48
49
49
50
51
51
52
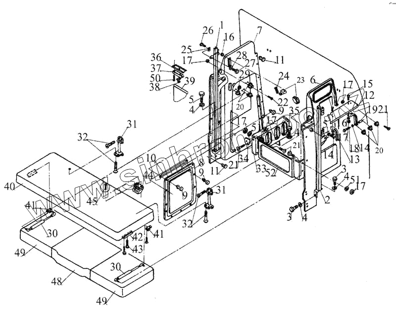
| Позиция на иллюстрации | Заводской номер детали | Название детали | |
|---|---|---|---|
| 1 | 6430-8219260 | Стойка правая | |
| 2 | 6430-8219261 | Стойка левая | |
| 3 | 201420 | Болт М6-6gх20 | |
| 4 | 252004 | Шайба 6 | |
| 5 | 201460 | Болт М8-6gх30 | |
| 6 | 6430-8007029 | Стенка шкафа левая | |
| 7 | 6430-8007028 | Стенка шкафа правая | |
| 8 | 6430-8007040 | Панель шкафа | |
| 9 | 6430-8007044 | Держатель | |
| 10 | 6430-8007042 | Усилитель | |
| 11 | 5336-5702052 | Держатель обивки | |
| 12 | 6430-8007045 | Полка | |
| 13 | 6430-8007046 | Кронштейн | |
| 14 | 252155 | Шайба 8Л | |
| 15 | 220102 | Винт М6-6gх10 | |
| 16 | 252154 | Шайба 6Л | |
| 17 | 250508 | Гайка М6-6Н | |
| 18 | 200269 | Болт М8-6gх50 | |
| 19 | 6430-8007030 | Втулка | |
| 20 | 5336-8202110 | Крючок | |
| 21 | 231604 | Винт 2М6-6gх14 | |
| 22 | 231608 | Винт 2М6-6gх22 | |
| 23 | 6430-8219280 | Основание фиксатора | |
| 24 | 504В-6804080-10 | Пружина | |
| 25 | 6430-8219296 | Прижим | |
| 26 | 201416 | Болт М6-6gх12 | |
| 27 | 201452 | Болт М8х12 | |
| 28 | 252005 | Шайба 8 | |
| 29 | 6430-8219273 | Кожух декоративный | |
| 30 | 11.8407010-40 | Пружина газовая | |
| 31 | 6430-8219214 | Петля | |
| 32 | 2331126-02 | Винт 2М8х25 | |
| 33 | 6430-8219246 | Стенка средняя | |
| 34 | 6430-8219275 | Упор | |
| 35 | 201424 | Болт М6-6gх30 | |
| 36 | 6430-5702084 | Накладка | |
| 37 | 6430-8205320 | Направляющая шторы | |
| 38 | 5336-8205316 | Держатель шторы | |
| 39 | 6430-8205310 | Штора спального места | |
| 40 | 6430-8219170 | Матрац | |
| 41 | 6430-8219270 | Кронштейн верхний | |
| 42 | 64309-8219278 | Опора | |
| 43 | 6430-8219276 | Фиксатор | |
| 44 | 5336-8202040-01 | Поручень | |
| 45 | 210379 | Болт М8-6gх20 | |
| 46 | 252270 | Шайба 8 | |
| 47 | 250510 | Гайка М8-6Н | |
| 48 | 6430-8219250 | Подушка матраца | |
| 49 | 6430-8219230 | Подушка матраца | |
| 50 | 240822 | Винт М4х25 | |
| 51 | 252174 | Шайба 26 | |
| 52 | 6430-8219304 | Стенка |
Содержащиеся в справочниках-каталогах запасные части и детали не предлагаются к продаже, а носят исключительно информационный характер