Каталог запасных частей к технике: МАЗ-643068. Рамы 544008-2801002, 544008-2801002-010
1
1
2
2
3
4
5
6
7
8
9
10
11
12
12
13
14
15
16
17
18
19
20
21
22
23
24
25
26
27
28
28
28
29
29
29
29
29
29
29
29
30
30
30
30
30
30
30
30
31
31
31
31
31
31
31
31
31
32
32
33
34
35
36
37
38
39
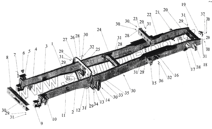
| Позиция на иллюстрации | Заводской номер детали | Название детали | |
|---|---|---|---|
| 1 | 544008-2801020-010 | Лонжерон правый | |
| 1 | 544008-2801020 | Лонжерон правый | |
| 2 | 544008-2801021-010 | Лонжерон левый | |
| 2 | 544008-2801021 | Лонжерон левый | |
| 3 | 6430-2906064 | Усилитель | |
| 4 | 6430-2902444 | Кронштейн правый | |
| 5 | 6430-2801088 | Кронштейн | |
| 6 | 6430-5003073-010 | Кронштейн | |
| 7 | 500А-2806117-01 | Палец буксирной вилки | |
| 8 | 6430-2801080 | Поперечина | |
| 9 | 6430-2801089 | Кронштейн | |
| 10 | 6430-2902445 | Кронштейн левый | |
| 11 | 5336-3403190 | Кронштейн | |
| 12 | 6430-2801104 | Поперечина | |
| 12 | 64301-2801104 | Поперечина | |
| 13 | 6430-2801119 | Кронштейн | |
| 14 | 6430-2902447 | Кронштейн | |
| 15 | 5440-2912444 | Кронштейн | |
| 16 | 5440-2913444 | Кронштейн | |
| 17 | 64221-2906042 | Кронштейн | |
| 18 | 500А-2912446 | Кронштейн задней рессоры, задний | |
| 19 | 503А-2805158 | Вилка с пружиной | |
| 20 | 6430-2801172-010 | Поперечина | |
| 21 | 5432-2913444-01 | Кронштейн | |
| 22 | 544008-2801073 | Усилитель | |
| 23 | 544008-2801152 | Поперечина | |
| 24 | 6430-2801100 | Поперечина | |
| 25 | 6430-2902462 | Усилитель | |
| 26 | 6430-2801103 | Поперечина | |
| 27 | 6430-2801119 | Кронштейн | |
| 28 | 252017 | Шайба 16 | |
| 29 | 252139 | Шайба 16.ОТ | |
| 30 | 372629 | Болт М16х1,5-6gх45 | |
| 31 | 374727 | Гайка М16х1,5-5Н6Н | |
| 32 | 372613 | Болт М16х1,5-6gх55 | |
| 33 | 252016 | Шайба 14 | |
| 34 | 250558 | Гайка М14-6Н | |
| 35 | 201593 | Болт М14-6gх50 | |
| 36 | 401070-01 | Винт М16х1,5-6gх55 | |
| 37 | 252141 | Шайба 20.ОТ | |
| 38 | 372882 | Болт М20х1,5-6gх55 | |
| 39 | 250565 | Гайка М20х1,5-6Н |
Содержащиеся в справочниках-каталогах запасные части и детали не предлагаются к продаже, а носят исключительно информационный характер