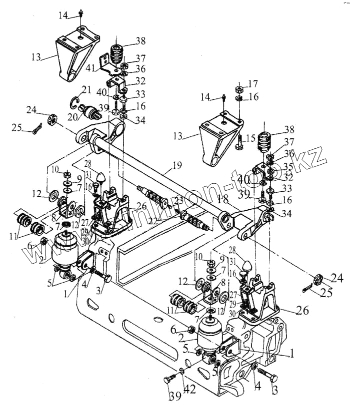
Каталог запасных частей к технике: МАЗ-643068. Переднее подрессоривание кабины
1
1
2
2
3
3
4
4
5
5
5
6
6
7
7
7
7
8
8
9
9
10
10
11
11
12
12
12
12
13
13
14
14
15
16
16
16
16
16
17
18
19
20
21
22
23
24
24
25
25
26
26
27
27
28
28
29
29
30
30
31
31
32
32
33
33
34
34
35
36
36
37
37
38
38
39
39
39
40
40
41
42
| Позиция на иллюстрации | Заводской номер детали | Название детали | |
|---|---|---|---|
| 1 | 6430-5001754 | Кронштейн | |
| 2 | 72.1700.105.831 | Пневмогидроэлемент | |
| 3 | 201600 | Болт М14-6gх85 | |
| 4 | 252158 | Шайба 14Л | |
| 5 | 252016 | Шайба 14 | |
| 6 | 250558 | Гайка М14-6Н | |
| 7 | 6430-5001706 | Опора | |
| 8 | 6430-5001896 | Прокладка | |
| 9 | 375853 | Шайба 12 | |
| 10 | 250514 | Гайка М12-6Н | |
| 11 | 6430-5001742 | Втулка | |
| 12 | 6430-5001793 | Прокладка | |
| 13 | 6430-5001012 | Кронштейн | |
| 14 | 6422-1001039 | Штырь направляющий | |
| 15 | 202119 | Болт | |
| 16 | 252139 | Шайба 16.ОТ | |
| 17 | 250560 | Гайка М16-6Н | |
| 18 | 6430-5001710 | Стабилизатор | |
| 19 | 6430-5001714 | Стабилизатор | |
| 20 | 64226-5001723 | Опора задняя | |
| 21 | 400457 | Кольцо УБ 65 | |
| 22 | 6430-5001722 | Ось | |
| 23 | 264020 | Масленка 1.3.Ц6хр | |
| 24 | 250979 | Гайка М16х1,5-6Н | |
| 25 | 258053 | Шплинт 4х25 | |
| 26 | 6430-5001720 | Опора | |
| 27 | 6430-5001892 | Кронштейн | |
| 28 | 5336-5001840 | Буфер | |
| 29 | 252155 | Шайба 8Л | |
| 30 | 250510 | Гайка М8-6Н | |
| 31 | 372592 | Болт М16х1,5-6gх35 | |
| 32 | 6430-5001768 | Кронштейн | |
| 33 | 6430-5001894 | Фиксатор | |
| 34 | 252017 | Шайба 16 | |
| 35 | 252006 | Шайба 10 | |
| 36 | 252136 | Шайба 10.ОТ | |
| 37 | 250512 | Гайка М10-6Н | |
| 38 | 5336-5001766-01 | Буфер | |
| 39 | 201538 | Болт М12-6gх25 | |
| 40 | 252137 | Шайба 12.ОТ | |
| 41 | 6430-5001302 | Кронштейн | |
| 42 | 252157 | Шайба 124 |
Содержащиеся в справочниках-каталогах запасные части и детали не предлагаются к продаже, а носят исключительно информационный характер