Вернуться на главную
Поиск
Каталоги запчастей к технике
Грузовые автомобили и прицепы
МАЗ
МАЗ-6422
Панель блоков предохранителей и реле
Каталог запасных частей к технике: МАЗ-6422. Панель блоков предохранителей и реле
zoom-in
zoom-out
enlarge
shrink
circle-right
circle-left
file-text2
info
cart
Тип техники
Не выбрано
Легковые автомобили
Грузовые автомобили и прицепы
Автобусы
Сельхозтехника
Спецтехника
Двигатели
Мототехника
Марка
Не выбрано
BAW
DAF
DongFeng
FAW
Foton
HOWO
Hyundai
IVECO
JAC Motors
LGMG
MAN
Shaanxi
SITRAK
Studebaker
Tata
Volvo
Автокомпонент Плюс
БелАЗ
Брянский Арсенал
ГАЗ
ЗИЛ
КАЗ
Камский автозавод
КрАЗ
Мадара
МАЗ
МЗКТ
МоАЗ
Нефтекамский автозавод
Ставропольский Завод АвтоПрицепов
ТАТРА
Тонар
УралАЗ
ЧМЗАП
Модель
Не выбрано
KNORR-BREMSE применяемых на технике МАЗ
КПП МАЗ-543205-070
МАЗ-3PP59 (1999)
МАЗ-437030 (Зубренок) (2004)
МАЗ-437040 (Зубренок) (2002)
МАЗ-437040 (Зубренок) (2005)
МАЗ-437041 (Зубренок) (2010)
МАЗ-437043 (Зубренок) (2011)
МАЗ-437130 (Зубренок) (2008)
МАЗ-4371P2-0000421-000 (2013)
МАЗ-500А
МАЗ-503А
МАЗ-504А
МАЗ-504В (2005)
МАЗ-530905 (2009)
МАЗ-5335 (2004)
МАЗ-5336 (2005)
МАЗ-53363
МАЗ-53366
МАЗ-5337
МАЗ-5337 (2005) (2005)
МАЗ-53371
МАЗ-533731 (2009)
МАЗ-533731 (2012)
МАЗ-5429 (2003)
МАЗ-543 (7310) (2008)
МАЗ-5432 (2003)
МАЗ-543202 (2003)
МАЗ-54321
МАЗ-54323
МАЗ-54326 (2000)
МАЗ-54328
МАЗ-5433
МАЗ-5434
МАЗ-543403, 641705, 641708 (2010)
МАЗ-5440 (2002)
МАЗ-544018 (2011)
МАЗ-544069
МАЗ-5440B5 (2013)
МАЗ-5440B9, 6430B9 (2013)
МАЗ-5440E9 (2011)
МАЗ-5516
МАЗ-5516 (2003) (2003)
МАЗ-551605 (2007)
МАЗ-551608, 630308 (2007)
МАЗ-551669 (2008)
МАЗ-5516А5 (2007)
МАЗ-5549 (2003)
МАЗ-5550V3 (V5) (2011)
МАЗ-5551
МАЗ-5551 (2003) (2003)
МАЗ-555102, 5551А2 (2007)
МАЗ-555142 (2007)
МАЗ-6303 (2000)
МАЗ-6303 (2005) (2005)
МАЗ-630333 (2012)
МАЗ-6303A3, 6303A5 (2007)
МАЗ-631019 (2014)
МАЗ-631236 (2007)
МАЗ-6312B9-0008425-012 (2015)
МАЗ-6317
МАЗ-631705 (2010)
МАЗ-631705, 631708 (2010)
МАЗ-6422 (2003)
МАЗ-6422, 5432 (2007)
МАЗ-64221
МАЗ-64226 (2000)
МАЗ-64229
МАЗ-642505, 642508 (2006)
МАЗ-64255
МАЗ-643018 (2015)
МАЗ-643068 (2003)
МАЗ-6430A8 (5440A8, 5440A5) (2008)
МАЗ-650108 (2008)
МАЗ-650119 (2010)
МАЗ-6501B9 (2014)
МАЗ-6501B9 (2015)
МАЗ-651669-320 (340) (2009)
МАЗ-6516V8-520 (6516V8-540) (2011)
МАЗ-651705 (2009)
МАЗ-6517X9-0000410 (2014)
МАЗ-74131 (1996)
МАЗ-83781
МАЗ-9008
МАЗ-93802
МАЗ-93866
МАЗ-938662
МАЗ-93892
МАЗ-9506
МАЗ-9758
МАЗ-9758-30
Общий (см. мод-ции)
Справочник
Схема
>
Не выбрано
Установка большой кабины
Переднее подрессоривание большой кабины
Заднее подрессоривание большой кабины
Установка малой кабины
Запорный механизм кабины МАЗ-551605, 551603
Запорный механизм кабины МАЗ-555102
Механизм подъема кабины
Установка стекол и зеркал на большую кабину
Установка стекол и зеркал на малую кабину
Установка крышки вентиляционного люка
Установка ограничителя и петель двери
Установка наружной ручки и замка двери
Установка стеклоподъемника и ручки стеклоподъемника
Установка и пневмопитание сидений 5433-6800006
Установка и пневмопитание сидений 5551-6800006-040
Сидение
Подушка и спинка сидения
Механизм регулирования высоты
Подставка сиденья с пневмооборудованием
Установка обтекателей
Установка воздушных заслонок и отопителя кабины
Отопитель
Кран управления отопителем
Установка шлангов и крана управления отопителем
Установка шлангов отопителя 54327-8100006-010
Установка поручней в кабине
Установка облицовки и боковых щитков
Установка оперения на большую кабину
Установка оперения на малую кабину
Платформа 5516-8500020-070
Установка платформы 5516-8500020-070
Установка платформы 555102-8500002
Установка инструментального ящика
Установка крыльев
Установка механизмов запора борта МАЗ-5516
Надрамник
Механизма подъема платформы МАЗ-5516
Установка цилиндра и клапана
Гидроцилиндр
Установка механизма подъема платформы МАЗ-555102
Крепление двигателя на автомобилях: МАЗ-642208, МАЗ-543208 и МАЗ-642205, 543205 с КП МАЗ-543205
Крепление двигателя на автомобилях: МАЗ-642205, 543205 с КПП МАЗ-238М
Крепление двигателя на автомобилях: МАЗ-543202, МАЗ-543203
Крепление двигателя на автомобиле МАЗ-551605
Крепление двигателя на автомобиле МАЗ-551603
Крепление двигателя на автомобиле МАЗ-555102
Установка системы заливки и контроля уровня масла
Крепление топливного бака МАЗ-642208, 642205, 543208, 543205
Крепление топливного бака МАЗ-543203, 543202, 551605, 551603, 555102
Установка топливопроводов МАЗ-642208, 543208 (с подогревателем)
Установка топливопроводов МАЗ-642208, 543208 (без подогревателя)
Установка топливопроводов МАЗ-642205, 543205 (с подогревателем)
Установка топливопроводов МАЗ-642205, 543205 (без подогревателя)
Установка топливопроводов МАЗ-543203, 543202 (с подогревателем)
Установка топливопроводов МАЗ-543203, 543202 (без подогревателя)
Установка топливопроводов МАЗ-551605 (с подогревателем)
Установка топливопроводов МАЗ-551605 (без подогревателя)
Установка топливопроводов МАЗ-551603 (с подогревателем)
Установка топливопроводов МАЗ-551603 (без подогревателя)
Установка топливопроводов МАЗ-555102 (с подогревателем)
Установка топливопроводов МАЗ-555102 (без подогревателя)
Управление двигателем на автомобилях МАЗ
Привод останова двигателя
Привод выключения двигателя противоугонным устройством на автомобилях МАЗ
Система питания воздухом МАЗ-543202, 543203
Система питания воздухом МАЗ-642208, 642205, 543208, 543205
Система питания воздухом МАЗ-551605
Система питания воздухом МАЗ-551603
Система питания воздухом МАЗ-555102
Установка системы выпуска отработавших газов МАЗ-642208, 642205, 543208, 543205, 543203, 543202
Установка системы выпуска отработавших газов МАЗ-551605 с КПП МАЗ-543205 и обогревом кузова
Установка системы выпуска отработавших газов МАЗ-551605 с КПП МАЗ-543205 без обогрева кузова
Установка системы выпуска отработавших газов МАЗ-551605 с КПП ЯМЗ-238М и обогревом кузова
Установка системы выпуска отработавших газов МАЗ-551605 с КПП ЯМЗ-238М без обогрева кузова
Установка системы выпуска отработавших газов МАЗ-555102, 551603
Радиатор с кожухом МАЗ-642208, 543208
Радиатор с кожухом МАЗ-642205, 543205, 543203, 543202, 555102, 551605, 151603
Установка системы охлаждения МАЗ-642208, 543208
Установка системы охлаждения МАЗ-642205, 543205, 543203, 543202, 555102, 551605, 151603
Система охлаждения наддувочного воздуха
Механизм управления сцеплением
Основание педали
Усилитель пневмогидравлический 64221-1609200
Цилиндр подпедальный
Установка привода управления коробкой передач
Тяга
Переключатель
Хвостовик
Механизм промежуточный
Рычаг 64221-1703410-01
Рычаг
Механизм переключения передач
Установка карданных валов
Мост задний
Мост задний. Установка редуктора и элементов подвески
Мост задний. Картер моста с приводом тормозного механизма
Редуктор заднего моста
Редуктор заднего моста. Шестерня ведущая
Редуктор заднего моста. Дифференциал
Редуктор заднего моста. Шестерни ведущая и ведомая (комплект для запчастей)
Колесный редуктор
Мост задний МАЗ-543208
Мост задний МАЗ-543208. Установка редуктора и элементов подвески
Мост задний МАЗ-543208. Картер моста с приводом тормозного механизма
Мост задний МАЗ-543208. Редуктор
Мост задний МАЗ-543208. Дифференциал
Мост задний МАЗ-543208. Шестерня ведущая
Мост средний
Мост средний. Установка редуктора и элементов подвески
Мост средний. Картер моста с приводом тормозного механизма
Редуктор среднего моста
Редуктор среднего моста. Дифференциал с картером редуктора
Редуктор среднего моста. Шестерня ведущая
Редуктор среднего моста. Дифференциал
Редуктор среднего моста. Шестерни ведущая и ведомая (комплект для запчастей)
Мост средний. Вал задний
Редуктор среднего моста. Механизм блокировки
Редуктор среднего моста. Дифференциал межосевой
Рама 642208, 642205-рессорная подвеска
Рама 543205, 543208-пневмоподвеска
Рама 543202, 543203, 543205, 543208-рессорная подвеска
Рама 551603, 551605
Рама 555102
Крепление бампера
Установка заднего бампера
Подвеска передняя 642208-2900001
Рессора передняя 64221-2902012-04
Подвеска передняя 543208-2900001
Подвеска передняя 551605-2900001
Подвеска передняя 5551-2900001-10
Подвеска балансирная 642205-2900002
Подвеска балансирная 551605-2900002, 551605-2900002-10
Подвеска задняя пневматическая 54327-2900002-20
Подвеска задняя 54321-2900002-10
Подвеска задняя 5551-2900002-10
Передняя ось
Балка передней оси
Тяга поперечная рулевая
Тяга продольная
Ступица переднего колеса
Ступица
Ступица
Установка запасного колеса МАЗ-642208, 642205 (64226-3100001)
Установка запасного колеса МАЗ-543208, 543205, 543203, 543202, 555102
Установка запасного колеса МАЗ-551605 (5516-3100001-30)
Установка запасного колеса МАЗ-551603, 551605 (5516-3100001-10)
Установка запасного колеса МАЗ-555102 (63035-3100001-10)
Установка передних колес
Установка задних колес
Колесо, камера и покрышка
Установка рулевой колонки и рулевого механизма
Рулевой механизм
Колонка рулевая с колесом рулевого управления
Силовой цилиндр гидроусилителя рулевого управления
Кронштейн с колонкой
Установка рулевого управления
Насос
Вал нижний
Распределитель
Бак масляный
Тормозной механизм передних колес
Тормоз колеса
Рычаг регулировочный
Тормозной кран
Педаль привода тормозного крана
Тормозной кран с присоединительной арматурой МАЗ-642208, 642205
Тормозной кран с присоединительной арматурой МАЗ-543208, 543205, 543203, 543202
Тормозной кран с присоединительной арматурой МАЗ-555102, 551605, 551603
Клапан защитный четырехконтурный
Крепление четырехконтурного клапана МАЗ-642208, 642205
Крепление четырехконтурного клапана (рессорная подвеска, без ограничения скорости) МАЗ-543208, 543205
Крепление четырехконтурного клапана (автомобили с пневмоподвеской) МАЗ-543208, 543205
Крепление четырехконтурного клапана МАЗ-543203, 543202
Крепление четырехконтурного клапана МАЗ-555102
Крепление четырехконтурного клапана МАЗ-551605, 551603
Установка ускорительного клапана и присоединительной арматуры МАЗ-642208, 642205
Установка ускорительного клапана и присоединительной арматуры МАЗ-642208, 642205
Установка ускорительного клапана и присоединительной арматуры МАЗ-543208, 543205, 543203, 543202
Установка ускорительного клапана и присоединительной арматуры МАЗ-543208, 543205, 543203, 543202
Установка ускорительного клапана и присоединительной арматуры на автомобиль с пневмоподвеской МАЗ-543208, 543205, 543203, 543202
Установка ускорительного клапана и присоединительной арматуры МАЗ-551605, 551603
Установка ускорительного клапана и присоединительной арматуры МАЗ-551605, 551603
Установка ускорительного клапана и присоединительной арматуры МАЗ-555102
Установка клапана прицепа и присоединительной арматуры МАЗ-642208, 642205, 543208, 543205
Установка клапана прицепа и присоединительной арматуры МАЗ-543203, 543202
Установка осушителя воздуха и присоединительной арматуры МАЗ-642208, 642205
Установка осушителя воздуха и присоединительной арматуры МАЗ-543208, 543205, 543203, 543202
Установка осушителя воздуха и присоединительной арматуры МАЗ-555102
Установка осушителя воздуха и присоединительной арматуры МАЗ-551605, 551603
Установка передних модуляторов и присоединительной арматуры МАЗ-642208, 543208, 543205, 543203, 543202
Установка задних модуляторов и присоединительной арматуры МАЗ-642208, 642205, 551605, 551603
Установка задних модуляторов и присоединительной арматуры на автомобиль с пневмоподвеской МАЗ-543208, 543205
Установка модуляторов и присоединительной арматуры МАЗ-543208, 543205, 543203, 543202
Установка передних модуляторов и присоединительной арматуры МАЗ-555102, 551605, 551603
Установка задних модуляторов и присоединительной арматуры МАЗ-555102
Ресивер регенерации
Установка ресивера и присоединительной арматуры на МАЗ-642208, 642205
Установка ресивера и присоединительной арматуры на МАЗ-642208, 642205
Установка ресивера и присоединительной арматуры на МАЗ-642208, 642205
Установка ресиверов и присоединительной арматуры МАЗ-555102
Установка ресиверов и присоединительной арматуры на МАЗ-543208, 543205, 543203, 543202
Установка ресиверов и присоединительной арматуры на МАЗ-543208, 543205 с пневмоподвеской
Установка ресивера и присоединительной арматуры на МАЗ-543208, 543205, 543203, 543202
Установка ресивера и присоединительной арматуры на МАЗ-543208, 543205
Установка ресиверов МАЗ-561605, 561603
Установка присоединительной арматуры на ресиверах МАЗ-551605, 551603
Установка ресивера и присоединительной арматуры МАЗ-555102
Установка ресивера и присоединительной арматуры МАЗ-555102
Регулятор тормозных сил с присоединительной арматурой МАЗ-543208, 543205, 543203, 543202
Регулятор тормозных сил с присоединительной арматурой МАЗ-642206, 642205, 551605, 551603
Регулятор тормозных сил с присоединительной арматурой МАЗ-543208, 543205 (автомобили с пневмоподвеской)
Установка тормозных камер и присоединительной арматуры
Установка тормозных камер МАЗ-642208, 642205, 551605, 551603
Установка тормозных камер МАЗ-543208, 543205, 543203, 543202
Установка тормозных камер и присоединительной арматуры на заднем мосту МАЗ-642206, 642205, 555102, 5516051, 551603
Пневмовыводы на полуприцеп и присоединительная арматура МАЗ-642208, 642205, 543208, 543205, 543203, 543202
Установка пневмокомпрессора
Привод стояночного тормоза и ВТС МАЗ-642206, 642205, 543208, 543205, 543203, 543202
Привод стояночного тормоза и ВТС МАЗ-555102, 551605, 551603
Установка плафона освещения кабины
Установка фонаря освещения спального места
Установка головных фар
Установка габаритных огней
Установка фонарей автопоезда
Установка бокового указателя поворота
Установка плафона освещения двигателя
Установка фары освещения сцепки
Установка задних фонарей МАЗ-642208, 642205, 543208, 543205, 543203, 543202, 551605, 551603
Установка задних фонарей МАЗ-555102
Коробка задних фонарей
Установка розеток
Установка аккумуляторных батарей
Установка элементов электрооборудования АБС на автомобилях МАЗ-642208, 642205
Установка элементов электрооборудования АБС на автомобилях МАЗ-543208, 543205, 543203, 543202
Установка элементов электрооборудования АБС на автомобиле МАЗ-551605
Установка элементов электрооборудования АБС на автомобилях МАЗ-551605, 551603
Установка элементов электрооборудования АБС на автомобиле МАЗ-555102 (с малой кабиной)
Установка элементов электрооборудования АБС на автомобиле МАЗ-555102 (с большой кабиной)
Установка электронного блока управления АБС фирмы WABCO на автомобилях МАЗ-642208, 642205, 543208, 543205, 543203, 543202, 555102, 551605
Установка электронных блоков АБС БПО «ЭКРАН» на автомобилях МАЗ-642208, 642205, 543208, 543205, 543203, 543202, 555102, 551605
Установка электронного блока управления АБС фирмы WABCO на автомобилях МАЗ-555102, 551605, 551603
Установка электронных блоков АБС БПО «ЭКРАН» на автомобилях МАЗ-555102, 551605, 551603
Расположение элементов АБС в кабине автомобилей семейства МАЗ-64221
Панель блоков предохранителей и реле
Установка коммутационной аппаратуры
Панель приборов
Установка дополнительного щитка приборов
Установка датчиков на шасси
Установка датчиков на двигателе
Установка приборов и выключателей
Седельно-сцепное устройство
Буксирный прибор
Коробка отбора мощности
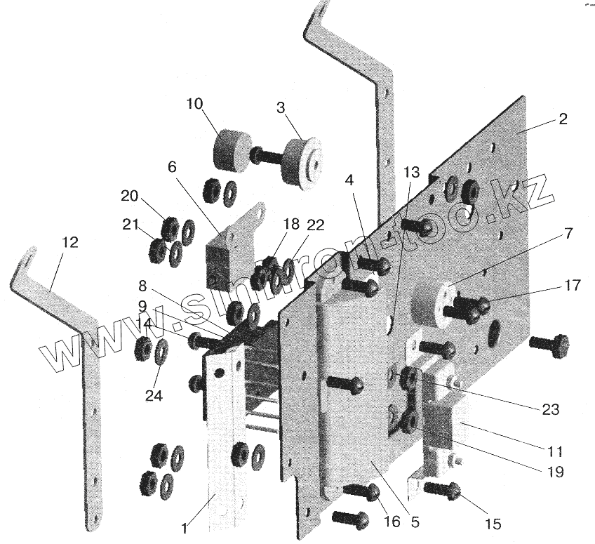
1
2
3
4
5
6
7
8
9
10
11
12
13
14
15
16
17
18
19
20
21
22
23
24
Позиция на иллюстрации
Заводской номер детали
Название детали
1
64221-3711047
Петля
2
64221-3722023
Кронштейн блоков предохранителей и реле
3
64221-3747015
Кронштейн реле
4
64221-3903066
Табличка блоков предохранителей
5
Пр112-3722000
Блок предохранителей
6
738.3747-20
Реле стартера
7
47КТУ16.526.358-74
Розетка
8
64229-3724095
Перемычка
9
111.3722000
Блок предохранителей
10
РС493-3803010
Реле лампы стояночного тормоза
11
12.3741000
Сопротивление добавочное
12
64221-3722020
Кронштейн блоков предохранителей и реле
13
535А-3724015
Втулка
14
220082
Винт М5-6gх20
15
220104
Винт М6-6gх14
16
220107
Винт М6-6gх20
17
221512
Винт М3-6gх28
18
250458
Гайка М3-6Н
19
250464
Гайка М5-6Н
20
250508
Гайка М6-6Н
21
252004
Шайба 6
22
252130
Шайба 3Т
23
252133
Шайба 5Т
24
252154
Шайба 6Л
Содержащиеся в справочниках-каталогах запасные части и детали не предлагаются к продаже, а носят исключительно информационный характер
Дополнительная информация
×
Название:
Номер:
Примечание: