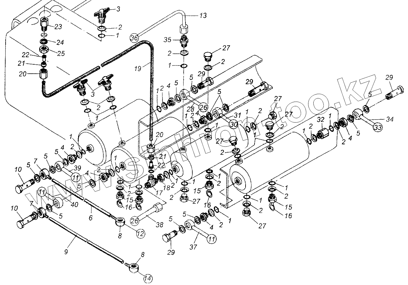
Каталог запасных частей к технике: МАЗ-64226. Присоединительная арматура ресиверов МАЗ-64226
1
1
1
1
1
1
1
1
1
1
1
1
1
1
1
1
1
1
1
2
2
2
2
2
2
2
2
2
2
2
2
2
2
2
2
2
2
2
2
3
3
4
4
4
4
4
4
5
5
5
5
5
5
5
5
5
5
5
5
6
7
7
8
8
9
10
10
11
11
11
12
13
14
15
15
15
16
16
16
17
18
19
20
20
21
21
22
22
23
24
25
26
26
27
27
27
27
27
27
28
29
29
29
29
30
31
32
33
34
35
36
37
38
39
40
| Позиция на иллюстрации | Заводской номер детали | Название детали | |
|---|---|---|---|
| 1 | 020-025-30-2-3 | Кольцо | |
| 2 | 376145 | Шайба 22 | |
| 3 | 13.3515310 | Клапан контрольного вывода | |
| 4 | 374895 | Гайка переходная | |
| 5 | 375540 | Шайба 16 | |
| 6 | 64226-3506307-10 | Трубка в сборе | |
| 7 | 404206 | Штуцер поворотный | |
| 8 | 404203 | Штуцер поворотный | |
| 9 | 64226-3506243 | Трубка в сборе | |
| 10 | 404207 | Штуцер | |
| 11 | [Направление к клапану защитному четырехконтурному] | Направление к клапану защитному четырехконтурному | |
| 12 | [Направление к датчику питания прицепа] | Направление к датчику питания прицепа | |
| 13 | 64226-3506154 | Трубка в сборе | |
| 14 | [Направление к датчику заднего контура] | Направление к датчику заднего контура | |
| 15 | 100-3513110 | Клапан слива конденсата | |
| 16 | 5247Г-3921441 | Кольцо | |
| 17 | 403043 | Тройник | |
| 18 | 374939 | Гайка М22х1,5-6Н | |
| 19 | 64226-3506130 | Трубка в сборе | |
| 20 | 405641 | Гайка стяжная | |
| 21 | 379254 | Муфта | |
| 22 | 402415 | Ниппель | |
| 23 | 404308 | Штуцер | |
| 24 | 252159 | Шайба 16Л | |
| 25 | 250636 | Гайка М16х1,5-6Н | |
| 26 | [Направление к тормозному крану] | Направление к тормозному крану | |
| 27 | 378609 | Пробка | |
| 28 | 64226-3506240 | Трубка в сборе | |
| 29 | 404202 | Штуцер | |
| 30 | [Направление к ускорительному клапану] | Направление к ускорительному клапану | |
| 31 | 64226-3506188-10 | Трубка в сборе | |
| 32 | 5432-3515210 | Клапан обратный | |
| 33 | [Направление к тормозному крану стояночного тормоза] | Направление к тормозному крану стояночного тормоза | |
| 34 | 64226-3506178 | Трубка в сборе | |
| 35 | 404314 | Штуцер | |
| 36 | [Направление к предохранителю противозамерзания] | Направление к предохранителю противозамерзания | |
| 37 | 64226-3506254-10 | Трубка в сборе | |
| 38 | 64226-3506246 | Трубка в сборе | |
| 39 | 64226-3506193 | Трубка в сборе | |
| 40 | 64226-3506194 | Трубка в сборе |
Содержащиеся в справочниках-каталогах запасные части и детали не предлагаются к продаже, а носят исключительно информационный характер