Каталог запасных частей к технике: МАЗ-64226. Крепление фильтра воздушного
1
2
3
4
5
6
7
7
8
8
8
8
8
9
9
9
10
10
11
12
12
13
14
15
16
17
18
18
18
19
20
21
22
23
24
25
25
26
27
28
29
29
30
30
30
30
31
31
32
32
32
33
34
35
35
36
37
38
38
38
39
39
39
40
40
40
41
41
41
42
43
43
44
44
45
45
45
45
45
45
45
46
46
47
47
48
48
49
50
51
52
52
53
53
53
53
53
54
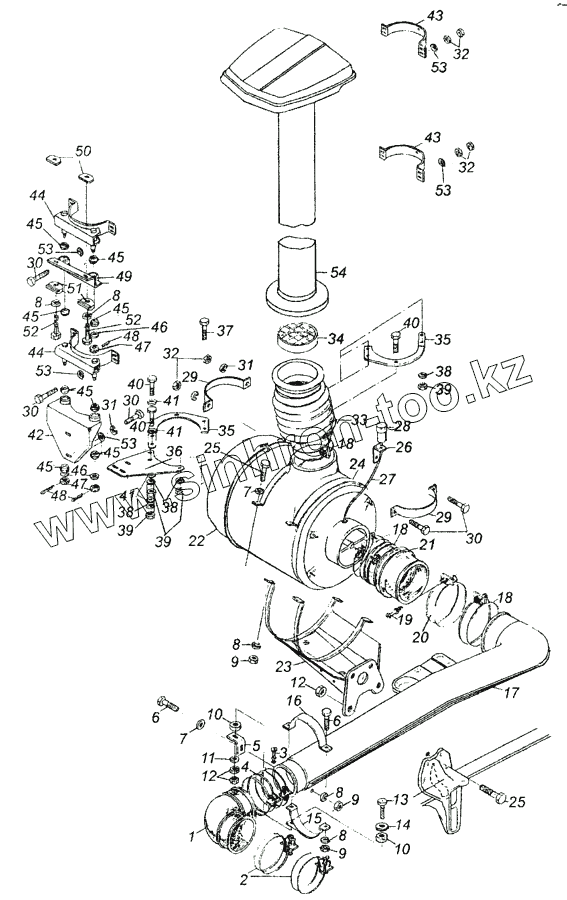
| Позиция на иллюстрации | Заводской номер детали | Название детали | |
|---|---|---|---|
| 1 | 5551-1109375-11 | Патрубок | |
| 2 | 64229-1109464 | Хомут | |
| 3 | 64229-1303661 | Стяжка | |
| 4 | 64229-1109465 | Хомут | |
| 5 | 54326-1109094 | Кронштейн | |
| 6 | 201497 | Болт М10-6gх25 | |
| 7 | 252006 | Шайба 10 | |
| 8 | 252136 | Шайба 10.ОТ | |
| 9 | 250512 | Гайка М10-6Н | |
| 10 | 500-1302139 | Подушка малая | |
| 11 | 252007 | Шайба 12 | |
| 12 | 250514 | Гайка М12-6Н | |
| 13 | 200372 | Болт М12-6gх45 | |
| 14 | 5335-1302063 | Чашка малая | |
| 15 | 54326-1109090 | Кронштейн | |
| 16 | 53371-1109092-01 | Хомут | |
| 17 | 54326-1109030 | Труба | |
| 18 | 64229-1109469 | Хомут | |
| 19 | 64229-1303660 | Стяжка | |
| 20 | 64229-1303652 | Хомут | |
| 21 | 6422-1109144-01 | Переходник | |
| 22 | 81.084016159 | Фильтр воздушный | |
| 23 | 54326-1109110 | Кронштейн | |
| 24 | 64226-1109118-010 | Хомут | |
| 25 | 201544 | Болт М12-6gх40 | |
| 26 | 543265-1109093 | Кронштейн | |
| 27 | 04.37134.9004 | Трубка | |
| 28 | 81.08309.6011 | Датчик | |
| 29 | 544022-1109092 | Хомут | |
| 30 | 201460 | Болт М8-6gх30 | |
| 31 | 252135 | Шайба 8Т | |
| 32 | 250510 | Гайка М8-6Н | |
| 33 | 6422-1109146 | Переходник | |
| 34 | 6422-1109177-10 | Решетка | |
| 35 | 6422-1109094 | Кронштейн | |
| 36 | 64221-1109093 | Кронштейн | |
| 37 | 201418 | Болт М6-6gх16 | |
| 38 | 252134 | Шайба 6Т | |
| 39 | 250508 | Гайка М6-6Н | |
| 40 | 201420 | Болт М6-6gх20 | |
| 41 | 252004 | Шайба 6 | |
| 42 | 64221-1109182 | Основание | |
| 43 | 6422-1109092 | Хомут | |
| 44 | 6422-1109120 | Хомут | |
| 45 | 6422-1109184 | Элемент упругий | |
| 46 | 375533 | Шайба 8 | |
| 47 | 250975 | Гайка М8х1-6Н | |
| 48 | 258014 | Шплинт 2х20 | |
| 49 | 6422-1109320 | Кронштейн | |
| 50 | 5336-8008058-01 | Прижим верхний | |
| 51 | 5336-8008059 | Прижим нижний | |
| 52 | 201501 | Болт М10-6gх35 | |
| 53 | 252005 | Шайба 8 | |
| 54 | 64221-1109024 | Воздухозаборник |
Содержащиеся в справочниках-каталогах запасные части и детали не предлагаются к продаже, а носят исключительно информационный характер