Каталог запасных частей к технике: МАЗ-5440. Установка системы выпуска
1
2
3
4
4
4
5
5
5
6
7
8
9
11
11
12
12
13
13
14
15
15
16
17
18
19
19
19
20
21
21
21
22
22
22
22
22
22
23
23
23
23
23
23
24
24
25
26
27
28
29
29
29
30
30
31
31
31
31
31
31
32
32
32
32
32
32
32
32
32
33
34
35
36
37
39
39
40
40
40
41
41
41
41
42
43
44
45
46
47
48
48
49
49
50
51
52
53
54
55
55
56
56
57
58
58
59
60
61
62
63
64
64
64
65
66
67
68
68
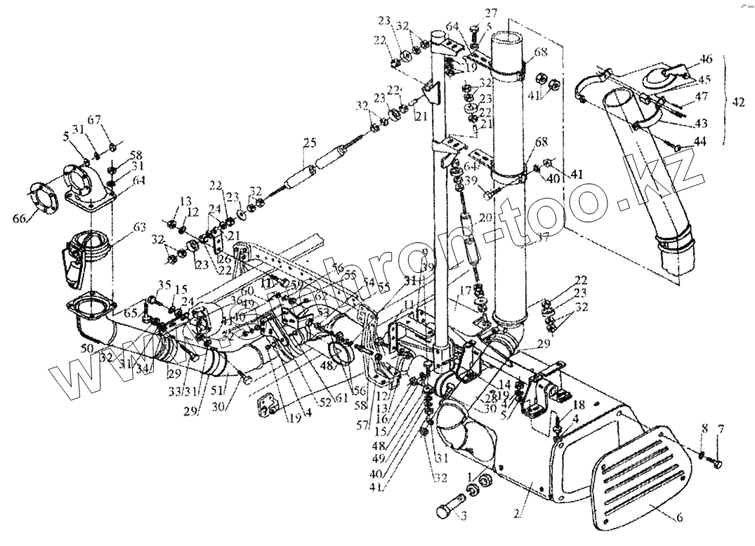
| Позиция на иллюстрации | Заводской номер детали | Название детали | |
|---|---|---|---|
| 1 | 64302-1201010 | Глушитель | |
| 2 | 64302-1204024 | Экран | |
| 3 | 201491 | Болт М10-6gх12 | |
| 4 | 252136 | Шайба 10.ОТ | |
| 5 | 252006 | Шайба 10 | |
| 6 | 64302-1204022 | Ограждение | |
| 7 | 201415 | Болт М6-6gх10 | |
| 8 | 252154 | Шайба 6Л | |
| 9 | 64302-1203059 | Кронштейн | |
| 10 | 64302-1203030 | Стойка | |
| 11 | 201591 | Болт М14-6gх45 | |
| 12 | 252138 | Шайба 14.ОТ | |
| 13 | 250558 | Гайка М14-6Н | |
| 14 | 200897 | Болт М16х1,5-6gх110 | |
| 15 | 252139 | Шайба 16.ОТ | |
| 16 | 250691 | Гайка М16х1,5-6Н | |
| 17 | 64302-1203060 | Кронштейн | |
| 18 | 64302-1203088 | Стяжка | |
| 19 | 250512 | Гайка М10-6Н | |
| 20 | 544022-1203082 | Растяжка | |
| 21 | 500-1302138 | Втулка распорная | |
| 22 | 500-1302139 | Подушка малая | |
| 23 | 5335-1302063 | Чашка малая | |
| 24 | 252017 | Шайба 16 | |
| 25 | 64302-1203082 | Растяжка | |
| 26 | 64302-1203094 | Кронштейн | |
| 27 | 201501 | Болт М10-6gх35 | |
| 28 | 8115210-0054 | Металлорукав | |
| 29 | 544022-1203034 | Хомут | |
| 30 | 371302 | Болт М12х1,25-6gх40 | |
| 31 | 252137 | Шайба 12.ОТ | |
| 32 | 250515 | Гайка М12х1,25-6Н | |
| 33 | 201571 | Болт М12х1,25-6gх50 | |
| 34 | 64302-1203093 | Пластина | |
| 35 | 201123 | Болт М16-6gх50 | |
| 36 | 64302-1203091 | Втулка | |
| 37 | 64302-1203075 | Труба выхлопная | |
| 38 | 64302-1203064 | Кронштейн | |
| 39 | 200263 | Болт М8-6gх35 | |
| 40 | 252135 | Шайба 8Т | |
| 41 | 250510 | Гайка М8-6Н | |
| 42 | 64302-1203148 | Крышка трубы | |
| 43 | 64302-1203166 | Половина хомута | |
| 44 | 210384 | Болт М8-6gх45 | |
| 45 | 64302-1203168 | Упор | |
| 46 | 64302-1203160 | Кронштейн | |
| 47 | 64302-1203164 | Ось | |
| 48 | 64226-1203046 | Хомут | |
| 49 | 252005 | Шайба 8 | |
| 50 | 64302-1203187 | Патрубок | |
| 51 | 64302-1203033 | Труба приемная | |
| 52 | 64302-1203098 | Кронштейн | |
| 53 | 64302-1203095 | Кронштейн | |
| 54 | 6422-1109184 | Элемент упругий | |
| 55 | 252039 | Шайба 10 | |
| 56 | 252007 | Шайба 12 | |
| 57 | 250514 | Гайка М12-6Н | |
| 58 | 630168-1203829 | Стяжка | |
| 59 | 250868 | Гайка М10х1-6Н | |
| 60 | 258025 | Шплинт 2,5х20 | |
| 61 | 210499 | Болт М10-6gх30 | |
| 62 | 210458 | Болт М8-6gх25 | |
| 63 | 81.15600.6103 | Моторный тормоз | |
| 64 | 544022-1203028 | Патрубок | |
| 65 | 200383 | Болт М12-6gх120 | |
| 66 | 64226-1203020 | Прокладка | |
| 67 | 250536 | Гайка М10-6Н | |
| 68 | 64302-1203046 | Хомут |
Содержащиеся в справочниках-каталогах запасные части и детали не предлагаются к продаже, а носят исключительно информационный характер