Каталог запасных частей к технике: МАЗ-5429. Электрооборудование
1
1
2
3
4
5
5
6
6
6
7
8
9
9
10
11
12
13
14
15
16
17
18
19
20
21
22
23
24
25
25
26
26
27
28
28
29
29
30
31
32
33
34
35
35
36
37
38
39
40
41
42
43
44
45
46
47
48
49
50
51
52
52
52
52
53
54
55
56
57
58
59
60
61
62
63
64
65
66
67
68
69
70
71
72
73
74
75
76
77
78
79
80
81
82
| Позиция на иллюстрации | Заводской номер детали | Название детали | |
|---|---|---|---|
| УП101-3726105 | УП101-3726105 | Болт | |
| 201420-П29 | 201420-П29 | Болт М6х20 | |
| 201452-П29 | 201452-П29 | Болт | |
| 201499-П29 | 201499-П29 | Болт | |
| 210406-П29 | 210406-П29 | Болт | |
| 526-8104210 | 526-8104210 | Вентилятор кабины | |
| Н-11-27-П29 | Н-11-27-П29 | Винт | |
| 221590-П29 | 221590-П29 | Винт | |
| 220082-П29 | 220082-П29 | Винт | |
| 220103-П29 | 220103-П29 | Винт | |
| 220105-П29 | 220105-П29 | Винт | |
| 220076-П29 | 220076-П29 | Винт | |
| 220086-П29 | 220086-П29 | Винт | |
| 220077-П29 | 220077-П29 | Винт-заглушка | |
| 220079-П29 | 220079-П29 | Винт | |
| 224468-П29 | 224468-П29 | Винт стопорный | |
| 200-3724015 | 200-3724015 | Втулка резиновая | |
| 500-1104540 | 500-1104540 | Втулка | |
| 535А-3724015 | 535А-3724015 | Втулка | |
| 535А-3724015 | 535А-3724015 | Втулка | |
| 200-3802045 | 200-3802045 | Втулка | |
| 251260-П29 | 251260-П29 | Гайка | |
| 250512-П29 | 250512-П29 | Гайка | |
| 250464-П29 | 250464-П29 | Гайка | |
| 250515-П29 | 250515-П29 | Гайка | |
| 250508-П29 | 250508-П29 | Гайка М6 | |
| 509АТ-3724021 | 509АТ-3724021 | Жгут левого заднего фонаря | |
| 5428-3724021 | 5428-3724021 | Жгут левого заднего фонаря | |
| 5549-3724021 | 5549-3724021 | Жгут левого заднего фонаря | |
| 504В-3724010-26 | 504В-3724010-26 | Жгут основной | |
| 5335-3724010-11 | 5335-3724010-11 | Жгут основной | |
| 504В-3724050-14 | 504В-3724050-14 | Жгут плафонов | |
| 509А-3724030-30 | 509А-3724030-30 | Жгут по лонжерону | |
| 504В-3724030-56 | 504В-3724030-56 | Жгут по лонжерону | |
| 5335-3714030-31 | 5335-3714030-31 | Жгут по лонжерону | |
| 5429-3724030-31 | 5429-3724030-31 | Жгут по лонжерону | |
| 5549-3724030-30 | 5549-3724030-30 | Жгут по лонжерону | |
| 5335-3724086 | 5335-3724086 | Жгут подогревателя двигателя | |
| 509АТ-3724026 | 509АТ-3724026 | Жгут правого заднего фонаря | |
| 5428-3724026 | 5428-3724026 | Жгут правого заднего фонаря | |
| 5549-3724026 | 5549-3724026 | Жгут правого заднего фонаря | |
| 504В-3724008-03 | 504В-3724008-03 | Жгут проводов основной | |
| 509А-3724028 | 509А-3724028 | Жгут проводов по лонжерону | |
| 504В-3724028-01 | 504В-3724028-01 | Жгут проводов по лонжерону | |
| 5429-3724028 | 5429-3724028 | Жгут проводов по лонжерону | |
| 5549-3724028 | 5549-3724028 | Жгут проводов по лонжерону | |
| Р5245-3724068 | Р5245-3724068 | Жгут штепселя | |
| 252539-П29 | 252539-П29 | Заклепка | |
| 379173-П29 | 379173-П29 | Кляммер | |
| 379166-П29 | 379166-П29 | Кляммер | |
| 5320-3724085 | 5320-3724085 | Колпачок защитный штекерного соединения проводов | |
| 543-3724072 | 543-3724072 | Колпачок защитный | |
| 5320-3724121 | 5320-3724121 | Изолятор штекерного наконечника | |
| 5320-3716365 | 5320-3716365 | Колпачок защитный штекерного разъема заднего хода | |
| 500-3709024 | 500-3709024 | Колпачок ножного переключателя | |
| 500-3724103 | 500-3724103 | Кронштейн | |
| 500-3723040 | 500-3723040 | Кронштейн . | |
| 500-3724151 | 500-3724151 | Кронштейн | |
| 500-3723060 | 500-3723060 | Кронштейн | |
| 500А-3726036 | 500А-3726036 | Кронштейн | |
| 500-3723042-Б | 500-3723042-Б | Кронштейн | |
| 5335-3741032 | 5335-3741032 | Кронштейн в сборе | |
| 5335-3743132 | 5335-3743132 | Кронштейн противотуманной фары в сборе | |
| А24-1 | А24-1 | Лампа | |
| А24-3 | А24-3 | Лампа | |
| А24-5 | А24-5 | Лампа А24-5 ГОСТ 2023-75 | |
| А24-21 | А24-21 | Лампа | |
| 500-3709018 | 500-3709018 | Люк ножного переключателя | |
| 191-8104220 | 191-8104220 | Накладка верхнего фланца | |
| 191-8104217 | 191-8104217 | Накладка нижнего фланца | |
| 500-3724047 | 500-3724047 | Обойма уплотнителя | |
| УП101-3726100 | УП101-3726100 | Основание в сборе | |
| ПП127-3713000-Б | ПП127-3713000-Б | Патроны ламп | |
| ПМ-2 | ПМ-2 | Плавкие предохранители 2А | |
| 5335-3724188 | 5335-3724188 | Провод освещения приборов | |
| 5335-3724189-10 | 5335-3724189-10 | Провод освещения приборов | |
| 504В-3724080-01 | 504В-3724080-01 | Провод отопителя | |
| 500А-3724073-20 | 500А-3724073-20 | Провод питания приборов | |
| 500А-3724023 | 500А-3724023 | Провод указателя уровня топлива | |
| 500-3726048 | 500-3726048 | Прокладка | |
| ФП124-3716203 | ФП124-3716203 | Прокладка | |
| 500-3723242 | 500-3723242 | Прокладка штепсельной розетки переносной лампы | |
| 504А-3724022 | 504А-3724022 | Пучок проводов указателя уровня топлива | |
| УП101-3726204 | УП101-3726204 | Рассеиватель | |
| 191-8104240 | 191-8104240 | Решетка вентилятора задняя в сборе | |
| 191-8104226 | 191-8104226 | Решетка вентилятора передняя в сборе | |
| 379296-П | 379296-П | Скоба | |
| 500-3724048-А | 500-3724048-А | Уплотнитель жгутов проводов | |
| 191-8104222 | 191-8104222 | Стойка кронштейна в сборе | |
| 191-8104219 | 191-8104219 | Фланец кронштейна верхний | |
| 191-8104215 | 191-8104215 | Фланец кронштейна нижний | |
| 5320-3724052 | 5320-3724052 | Чехол защитный держателя наружного четырехклемного | |
| 5320-3716017 | 5320-3716017 | Чехол защитный штекерного соединения | |
| 252003-П | 252003-П | Шайба | |
| 252133-П2 | 252133-П2 | Шайба | |
| 252155-П2 | 252155-П2 | Шайба | |
| 252136-П2 | 252136-П2 | Шайба | |
| 252003-П29 | 252003-П29 | Шайба | |
| 252004-П29 | 252004-П29 | Шайба | |
| 252136-П29 | 252136-П29 | Шайба пружинная | |
| 375370-П29 | 375370-П29 | Шайба | |
| 252037-П29 | 252037-П29 | Шайба | |
| Н15-5-П15 | Н15-5-П15 | Шайба пружинная | |
| 252134-П2 | 252134-П2 | Шайба | |
| 252137-П2 | 252137-П2 | Шайба пружинная | |
| 252133-П29 | 252133-П29 | Шайба | |
| 504В-3800001 | 504В-3800001 | Щиток приборов в сборе | |
| 509-3800001-10 | 509-3800001-10 | Щиток приборов в сборе | |
| 503А-3800001-10 | 503А-3800001-10 | Щиток приборов в сборе | |
| 504А-3800001-10 | 504А-3800001-10 | Щиток приборов в сборе | |
| ПЖД-44-1015410-Б | ПЖД-44-1015410-Б | Щиток управления подогревателя | |
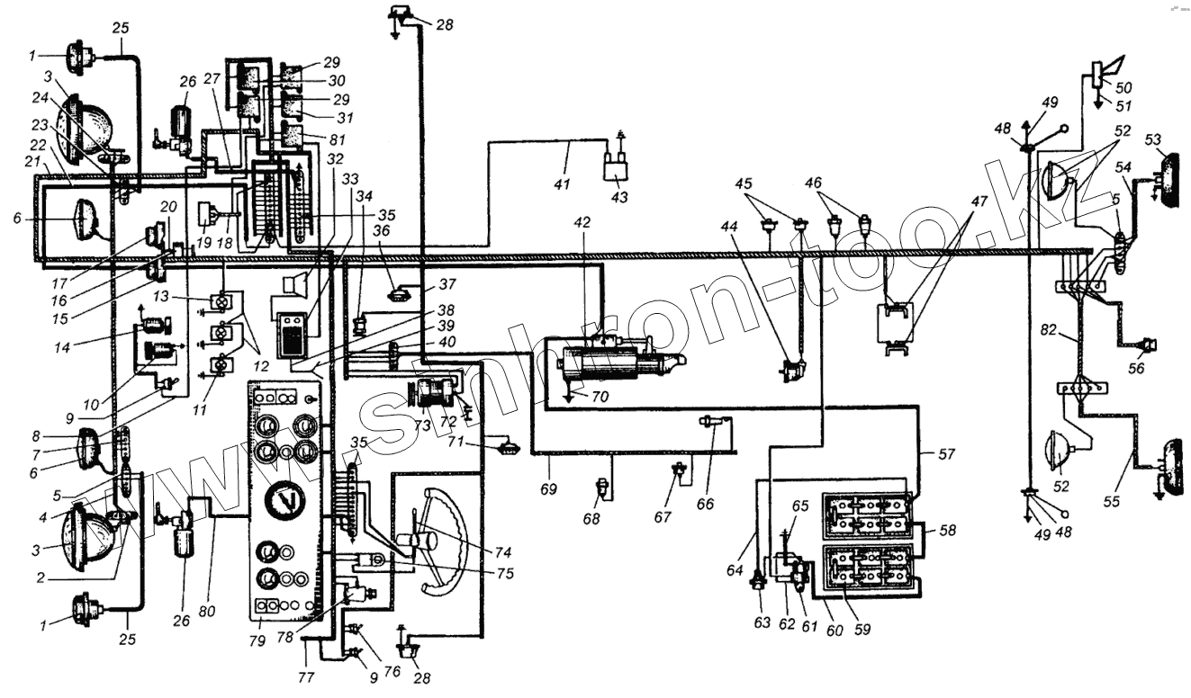
| 1 | ПФ130-3712000-БТ | Подфарник в сборе | |
| 2 | ПС1-3723000-А2Т | Панель трехклеммовая соединительная | |
| 3 | ФГ-122-3711010-ВВ | Фара | |
| 4 | 533507-3724044 | Жгут фар | |
| 5 | ПС2-3723000-А2Т | Панель четырехклеммовая соединительная | |
| 6 | ФГ-152-3743010 | Фара противотуманная | |
| 7 | ПС5-3723000-Т | Панель пятиклеммовая соединительная | |
| 8 | 500А-3724085-01 | Провод отопителя | |
| 9 | СК-ВК-26-3720000-А2Т | Включатель приборов, стеклоочистителей и противотуманных фар | |
| 10 | МЭ237-3730000-ГТ | Электродвигатель отопителя | |
| 11 | А24-3 | Лампа | |
| 12 | 516БТ-3724487 | Перемычка сигнальных ламп | |
| 13 | ПФ233-3738000-Т | Фонарь сигнальный | |
| 14 | МЭ-205-3730000-Г | Электродвигатель вентилятора | |
| 15 | С306Г-3721000-Г4Т | Сигнал звуковой в сборе | |
| 16 | СК-РС512-3721000-Т | Реле сигналов | |
| 17 | С307Г-3721000-Г4Т | Сигнал звуковой в сборе | |
| 18 | 5549-3724501 | Жгут сигнализации | |
| 19 | РС512-3721000 | Реле сигналов | |
| 20 | 500АТ-3724114 | Провод сигналов | |
| 21 | 5335-3724028 | Жгут проводов по лонжерону | |
| 22 | 500АТ-3724058-10 | Жгут стартера | |
| 23 | ПС4-3723000-2АТ | Панель двухклеммовая соединительная | |
| 24 | ПС1-3723000-2АТ | Панель трехклеммовая соединительная | |
| 25 | 542807-3724340-10 | Жгут подфарника | |
| 26 | СЛ135-5205010-ГТ | Стеклоочиститель электрический СЛ-135 | |
| 27 | 500АТ-3724130 | Жгут правого стеклоочистителя | |
| 28 | УП101-3726000-БТ | Повторитель боковой указателя поворота | |
| 29 | ПР102-3722000-ВТ | Блок предохранителей с плавкими вставками | |
| 30 | ПР101-3722000-Т | Блок предохранителей с плоскими вставками в сборе | |
| 31 | ПР10-3722000-АТ | Блок предохранителей с плоскими вставками в сборе | |
| 32 | ИДЗ-843136-ГТ | Громкоговоритель 4ГД-2 | |
| 33 | ИД2-021059-ГТ | Радиоприемник А324 | |
| 34 | МЭ-205-3730000-ГТ | Датчик | |
| 35 | ПС12-3723000 | Панель двенадцатиклеммовая соединительная | |
| 36 | ПК201-3714010-АТ | Плафон освещения кабины | |
| 37 | 533507-3724050-01 | Жгут плафонов | |
| 38 | ИД4-850033-ГТ | Кабель антенный | |
| 39 | СК-АР105-7903000-Т | Антенна АР 105 | |
| 40 | ПС4-3723000-А2 | Панель двухклеммовая соединительная | |
| 41 | 5549-3724500-10 | Жгут сигнализации заднего хода | |
| 42 | СТ103А-3708О00-01 | Стартер в сборе | |
| 43 | ВК-403-3716000 | Выключатель сигнала заднего хода | |
| 44 | МЭ307-3730000-ГТ | Датчик спидометра | |
| 45 | ММ355-3829010-Т | Датчик указателя давления масла и воздуха | |
| 46 | ММ124-3810600-ГТ | Датчик аварийного давления воздуха | |
| 47 | СБ131-3720010-А2 | Включатель сигнала «Стоп» | |
| 48 | СК-БМ127-3806600-АТ | Датчик указателя уровня топлива | |
| 49 | 500Т-3724060-А | Провод массы | |
| 50 | С314Г-3721000 | Сигнал (уст. с 1988 г.) | |
| 51 | 503А-3724502 | Провод массы сигнала заднего хода | |
| 52 | 509Т-3727008 | Фара поворотная с держателем в сборе | |
| 53 | ФП130-3716010-ГТ | Фонарь задний правый в сборе | |
| 54 | 5335-3724026 | Жгут правого заднего (фонаря | |
| 55 | 5335-3724021-10 | Жгут левого заднего фонаря и розетки | |
| 56 | ПС300А-3723100-Т | Розетка штепсельная | |
| 57 | 504Т-2724062-Ж | Провод стартера | |
| 58 | 500Т-3724057-Д | Перемычка батарей | |
| 59 | 6СТ-182ЭМС | Батарея аккумуляторная | |
| 60 | 500Т-3724069-В | Провод выключателя массы от аккумуляторной батареи | |
| 61 | ВК860Б-3737000-Т | Выключатель массы батарей | |
| 62 | 500АТ-3724051 | Провод массы | |
| 63 | ПС400-3723200-ГТ | Розетка штепсельная переносной лампы | |
| 64 | 500АТ-3724039-10 | Провод розетки переносной лампы | |
| 65 | 533507-3724071-01 | Провод соединения кабины и двигателя с массой | |
| 66 | ТМ100-3808000-ГТ | Датчик указателя температуры воды | |
| 67 | ММ355-3829010-Т | Датчик указателя давления масла и воздуха | |
| 68 | ММ111А-3810600-ГТ | Датчик аварийного давления масла | |
| 69 | 533507-3724161-20 | Жгут двигателя | |
| 70 | 533507-3724071-01 | Провод соединения кабины и двигателя с массой | |
| 71 | ПК201-3714010-АТ | Плафон освещения кабины | |
| 72 | 11.7904000 | Фильтр конденсаторный | |
| 73 | Г273-3701000 | Генератор в сборе | |
| 74 | СК-П110Т-3709000-А | Переключатель указателя поворота | |
| 75 | РС401-3726000-ГТ | Реле-прерыватель | |
| 76 | СК-ВК24-3720000-АТ | Переключатель плафонов, отопителя и топливных баков | |
| 77 | 533507-3724008 | Жгут проводов основной | |
| 78 | СК-П39-3710000-Т | Переключатель света ножной | |
| 79 | 500А-3800001-10 | Щиток приборов в сборе | |
| 80 | 5335-3724131 | Жгут левого стеклоочистителя | |
| 81 | ПР102-3722000-БТ | Блок предохранителей с плавкими вставками в сборе | |
| 82 | 509АТ-3724102-10 | Жгут задних фонарей и поворотных фар |
Содержащиеся в справочниках-каталогах запасные части и детали не предлагаются к продаже, а носят исключительно информационный характер