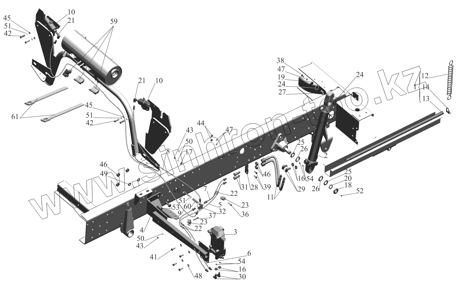
Каталог запасных частей к технике: МАЗ-437130 (Зубренок). Механизм подъема кабины 437130-5000040
1
2
3
3
4
5
6
7
8
9
10
10
11
12
13
14
16
16
17
18
19
20
21
21
22
22
23
23
24
24
25
25
26
26
27
28
29
30
31
32
36
37
38
39
40
41
42
42
43
43
44
45
45
46
46
47
47
48
49
50
50
51
51
51
52
53
54
54
59
60
61
| Позиция на иллюстрации | Заводской номер детали | Название детали | |
|---|---|---|---|
| 1 | 64221-3900041-01 | Укладка рычага подъема кабины | |
| 2 | 4370-5003010 | Гидроцилиндр | |
| 3 | 64221-5004010 | Насос | |
| 3 | 182.5004010-11 | Насос опрокидывающего механизма подъема кабины | |
| 4 | 437030-5004074 | Кронштейн | |
| 5 | 437141-5009055 | Трубопровод | |
| 6 | 437141-5009058 | Трубопровод | |
| 7 | 437141-5009060 | Трубопровод | |
| 8 | 437141-5009150 | Трубопровод | |
| 9 | 437141-5009182 | Трубопровод | |
| 10 | 6430-5003100 | Гидроцилиндр замка кабины | |
| 11 | 6430-5009160 | Шланг | |
| 12 | 200В-2703146 | Пружина | |
| 13 | 64221-3901084-01 | Рычаг | |
| 14 | 64226-3901085 | Прижим | |
| 16 | 250615 | Гайка М12х1,25-6Н | |
| 17 | 252037 | Шайба 6 | |
| 18 | 375034 | Гайка М24х1,5-6Н | |
| 19 | 375460 | Шайба 8 | |
| 20 | 376204 | Шайба 24 | |
| 21 | 379812 | Угольник | |
| 22 | 500-1104541-Б | Втулка | |
| 23 | 8950-3506168 | Хомут | |
| 24 | 4370-5003064 | Шайба | |
| 25 | 6430-5003186 | Кольцо | |
| 26 | 6430-5003188 | Уплотнитель | |
| 27 | 4370-5003191 | Втулка | |
| 28 | 5336-5009062 | Кронштейн | |
| 29 | 534008-5009065 | Угольник | |
| 30 | 64221-5009065 | Угольник | |
| 31 | 6422-5009069 | Переходник | |
| 32 | 6302-5009155 | Блок соединительный | |
| 36 | 201428 | Болт М6-6gх40 | |
| 37 | 200220 | Болт М6-6gх55 | |
| 38 | 201454 | Болт М8-6gх16 | |
| 39 | 201456 | Болт М8-6gх20 | |
| 40 | 200324 | Болт М10-6gх75 | |
| 41 | 201497 | Болт М10-6gх25 | |
| 42 | 201501 | Болт М10-6gх35 | |
| 43 | 250508 | Гайка М6-6Н | |
| 44 | 250510 | Гайка М8-6Н | |
| 45 | 250512 | Гайка М10-6Н | |
| 46 | 250559 | Гайка М14х1,5-6Н | |
| 47 | 252135 | Шайба 8Т | |
| 48 | 252136 | Шайба 10.ОТ | |
| 49 | 252138 | Шайба 14.ОТ | |
| 50 | 252154 | Шайба 6Л | |
| 51 | 252156 | Шайба 10Л | |
| 52 | 264072 | Масленка 1.1.4ХЛ1 | |
| 53 | 372212 | Болт М14х1,5-6gх35 | |
| 54 | 008-012-25-2-3 | Кольцо | |
| 59 | 437141-5009073 | Втулка | |
| 60 | 6430-5009176 | Втулка | |
| 61 | TSL250-S | Стяжная лента |
Содержащиеся в справочниках-каталогах запасные части и детали не предлагаются к продаже, а носят исключительно информационный характер