Вернуться на главную
Поиск
Каталоги запчастей к технике
Грузовые автомобили и прицепы
МАЗ
МАЗ-437041 (Зубренок)
Механизм регулирования высоты 6430-6804100-010
Каталог запасных частей к технике: МАЗ-437041 (Зубренок). Механизм регулирования высоты 6430-6804100-010
zoom-in
zoom-out
enlarge
shrink
circle-right
circle-left
file-text2
info
cart
Тип техники
Не выбрано
Легковые автомобили
Грузовые автомобили и прицепы
Автобусы
Сельхозтехника
Спецтехника
Двигатели
Мототехника
Марка
Не выбрано
BAW
DAF
DongFeng
FAW
Foton
HOWO
Hyundai
IVECO
JAC Motors
LGMG
MAN
Shaanxi
SITRAK
Studebaker
Tata
Volvo
Автокомпонент Плюс
БелАЗ
Брянский Арсенал
ГАЗ
ЗИЛ
КАЗ
Камский автозавод
КрАЗ
Мадара
МАЗ
МЗКТ
МоАЗ
Нефтекамский автозавод
Ставропольский Завод АвтоПрицепов
ТАТРА
Тонар
УралАЗ
ЧМЗАП
Модель
Не выбрано
KNORR-BREMSE применяемых на технике МАЗ
КПП МАЗ-543205-070
МАЗ-3PP59 (1999)
МАЗ-437030 (Зубренок) (2004)
МАЗ-437040 (Зубренок) (2002)
МАЗ-437040 (Зубренок) (2005)
МАЗ-437041 (Зубренок) (2010)
МАЗ-437043 (Зубренок) (2011)
МАЗ-437130 (Зубренок) (2008)
МАЗ-4371P2-0000421-000 (2013)
МАЗ-500А
МАЗ-503А
МАЗ-504А
МАЗ-504В (2005)
МАЗ-530905 (2009)
МАЗ-5335 (2004)
МАЗ-5336 (2005)
МАЗ-53363
МАЗ-53366
МАЗ-5337
МАЗ-5337 (2005) (2005)
МАЗ-53371
МАЗ-533731 (2009)
МАЗ-533731 (2012)
МАЗ-5429 (2003)
МАЗ-543 (7310) (2008)
МАЗ-5432 (2003)
МАЗ-543202 (2003)
МАЗ-54321
МАЗ-54323
МАЗ-54326 (2000)
МАЗ-54328
МАЗ-5433
МАЗ-5434
МАЗ-543403, 641705, 641708 (2010)
МАЗ-5440 (2002)
МАЗ-544018 (2011)
МАЗ-544069
МАЗ-5440B5 (2013)
МАЗ-5440B9, 6430B9 (2013)
МАЗ-5440E9 (2011)
МАЗ-5516
МАЗ-5516 (2003) (2003)
МАЗ-551605 (2007)
МАЗ-551608, 630308 (2007)
МАЗ-551669 (2008)
МАЗ-5516А5 (2007)
МАЗ-5549 (2003)
МАЗ-5550V3 (V5) (2011)
МАЗ-5551
МАЗ-5551 (2003) (2003)
МАЗ-555102, 5551А2 (2007)
МАЗ-555142 (2007)
МАЗ-6303 (2000)
МАЗ-6303 (2005) (2005)
МАЗ-630333 (2012)
МАЗ-6303A3, 6303A5 (2007)
МАЗ-631019 (2014)
МАЗ-631236 (2007)
МАЗ-6312B9-0008425-012 (2015)
МАЗ-6317
МАЗ-631705 (2010)
МАЗ-631705, 631708 (2010)
МАЗ-6422 (2003)
МАЗ-6422, 5432 (2007)
МАЗ-64221
МАЗ-64226 (2000)
МАЗ-64229
МАЗ-642505, 642508 (2006)
МАЗ-64255
МАЗ-643018 (2015)
МАЗ-643068 (2003)
МАЗ-6430A8 (5440A8, 5440A5) (2008)
МАЗ-650108 (2008)
МАЗ-650119 (2010)
МАЗ-6501B9 (2014)
МАЗ-6501B9 (2015)
МАЗ-651669-320 (340) (2009)
МАЗ-6516V8-520 (6516V8-540) (2011)
МАЗ-651705 (2009)
МАЗ-6517X9-0000410 (2014)
МАЗ-74131 (1996)
МАЗ-83781
МАЗ-9008
МАЗ-93802
МАЗ-93866
МАЗ-938662
МАЗ-93892
МАЗ-9506
МАЗ-9758
МАЗ-9758-30
Общий (см. мод-ции)
Справочник
Схема
>
Не выбрано
Установка противооткатных упоров 4370-3900037
Установка огнетушителя 4370-3910040
Установка кабины 4370-5000002
Балка опоры кабины 437030-5001660
Установка механизма подъема кабины 4370-5000040
Укладка рычага подъема кабины 64221-3900041-01
Гидроцилиндр 4370-5003010
Насос механизма подъема кабины 64221-5004010
Установка омывателя 4370-5200008-010
Установка стекла ветрового, стекол задних, зеркал, зеркалодержателей
Установка панели приборов 4370-5300014
Установка вентиляционного люка 64221-5700010
Установка ограничителей 64221-6100006-10 и петель двери
Установка стеклоподъемника и ручки
Установка наружной ручки и замка двери
Установка и пневмопитание сидений
Сиденье водителя 6430-6800010
Подушка и спинка сиденья 6430-6800012. 6430-6810012
Механизм регулирования высоты 6430-6804100-010
Подставка сиденья с пневмооборудованием 6430-6807006-010
Установка поручней в кабине 64226-8200030-10
Установка облицовки передка 64221-8400018 и боковых щитков
Установка оперения 4370-8400020-050
Установка отопителя 4370-8100001
Пульт управления 4370-8109011
Привод 64221-8109119
Отопитель 4370-8101010
Блок вентиляторный
Установка шлангов отопителя 54327-8100006
Установка крана управления отопителем 64226-8100030
Кран управления отопителем 6430-8101150
Установка брызговиков передних колес Р4370-8400025
Установка экранов 555102-8400030-070 для автомобилей с малой кабиной
Установка платформы 4370C-8500002-010
Решетка переднего борта 4370C-8504110
Сидение боковое 4370C-8506010-010
Установка брызговиков 4370-8500048-020
Крепление двигателя 4370-1001002-740
Установка системы заливки и контроля уровня масла 4370-1018002
Крепление топливного бака 4370-1101002
Крепление топливопроводов 4370-1104002
Привод управления двигателем 437041-1108002-010
Крепление воздушного фильтра 4370-1109002
Привод останова двигателя Р437041-1115002
Привод выключения двигателя противоугонным устройством 437041-1115004-010
Установка системы выпуска газов Р437041-1200001
Установка системы охлаждения 4370-1300005-021
Радиатор с кожухом 4370-1301009-010
Установка муфты вентилятора 4370-1300034
Установка системы охлаждения надувочного воздуха 4370-1300040
Механизм управления сцеплением 4370-1600005-040
Основание педали 64226-1602004, 64221-1602004-010
Цилиндр подпедальный 6430-1602510
Установка привода управления коробкой передач 4370-1700002-030
Механизм промежуточный 551639-1703325-001
Рычаг 4370-1703410
Хвостовик 4370-1703448-010
Тяга 6422-1703490-01
Наконечник 6422-1703250
Установка карданных валов 4370-2200000-070
Карданная передача 4370-2201006-070
Вал карданный 4370-2201010-010
Вал карданный промежуточный 4370-2202010-060
Мост задний
Мост задний. Установка редуктора
Редуктор заднего моста. Шестерня ведущая 4370-2402021-020
Редуктор заднего моста. Дифференциал 4370-2403010-020
Редуктор заднего моста 4370-2402020-020
Ступица заднего моста 4370-3104006
Установка привода управления блокировкой 4370-2400024-010
Рама 2P4370-2801002-014
Установка переднего противоподкатного бруса 4370-2800030
Установка переднего бампера
Установка подвески передней 4370-2900001-011
Рессора передняя 4370-2902012-011
Вал стабилизатора 4370-2906006
Подвеска задняя 4370-2900002
Рессора задняя 4370-2912012
Вал стабилизатора 4370-2916006
Передняя ось 4570-3000015-010
Передняя ось 4570-3000015-010
Ступица переднего колеса 4370-3103006
Тяга продольная 437040-3003010
Тяга поперечная рулевая 4370-3003052
Установка запасного колеса 437041-3100001
Кронштейн 437041-3105050
Установка задних колес 457041-3100002
Установка передних колес 457041-3100005
Колесо и шина 457041-3101011
Установка рулевого управления 437040-3400001
Кронштейн с колонкой 64221-3403008
Клапан расхода давления 437040-3407260
Бак масляный 64221-3410008
Колонка рулевая 64221-3444010
Вал нижний 437040-344450-11
Тормозной механизм передней оси
Колодка тормоза с накладками
Привод тормозного механизма задних колес
Тормоз заднего колеса
Крепление ресиверов 4370-3513004
Присоединительная арматура к ресиверам 4370-3513004
Ресивер регенерации
Тормозной кран 64221-3514108-010
Педаль с кронштейном 64221-3504010
Крепление тормозного крана 64221-3514004-20 и присоединительной арматуры
Крепление клапана четырехконтурного 6430-3515002
Крепление клапана ускорительного 4370-3518004 и присоединительной арматуры
Крепление клапана ускорительного 4370-3518004 и присоединительной арматуры
Крепление тормозных камер 4370-3519001 и присоединительной арматуры
Крепление тормозных камер 4370-3519002 и присоединительной арматуры
Пневмовывод к прицепу 63031-3521004
Крепление клапана управления тормозами прицепа 437141-3522005
Крепление регулятора тормозных сил 4370-3533002-010
Крепление осушителя воздуха 4370-3536004
Привод стояночного тормоза P437041-3537004
Установка головных фар
Установка аккумуляторных батарей 437040-3700008-700
Установка задних фонарей P437041-3700009
Установка электрооборудования на шасси 437040-3700010-710
Установка штепсельных розеток 4370741-3700015-700
Установка стеклоочистителя 64221-3700041-010
Установка боковых габаритных фонарей 437040-3700080-710
Установка переключателей на рулевой колонке 64221-3700084
Установка электрооборудования глушения двигателя 438041-3700094
Установка электрооборудования на двигателе 437041-3700098- 700
Установка выключателя фары искателя 4370-3700112-002
Установка электрооборудования управления свечами накаливания 437041-3700127-710
Установка корректора света фар 4370-3700129
Установка бокового указателя поворота 1P437040-3700150
Установка щитков приборов и коммутационной аппаратуры 437040-3800001-730
Установка спидометра 437041-3800004-002
Установка спидометра 437041-3800004
Установка датчика спидометра 437041-3800006-002
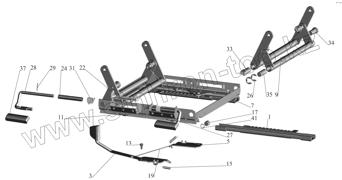
1
3
5
7
9
11
13
15
17
19
22
24
26
27
28
29
29
31
33
34
35
37
41
Позиция на иллюстрации
Заводской номер детали
Название детали
1
6430-6804035
Направляющая нижняя
3
6430-6804060-010
Стопор с рукояткой
5
6430-6804075-011
Стопор
7
6430-6804108
Основание
9
6430-6804210
Рычаг механизма
11
504В-6804055
Вкладыш
13
6430-6804063-010
Ось стопора
15
6430-6804080-010
Пружина
17
151-6844017
Ролик
19
6430-6804099-010
Стяжка
22
6430-6804242
Фиксатор
24
6430-6804248
Втулка распорная
26
6430-6804253
Шайба
27
6430-6804254
Рычаг фиксатора
28
6430-6804255
Рычаг фиксатора
29
6430-6804257-01
Ось
29
6430-6804257
Ось
31
6430-6804262
Пружина
33
6430-6804272
Ось
34
6430-6804273
Ось
35
6430-6804274
Ось
37
6430-6804278
Рукоятка
41
011-016-30-2-3
Кольцо 011-016-30-2-3
Содержащиеся в справочниках-каталогах запасные части и детали не предлагаются к продаже, а носят исключительно информационный характер
Дополнительная информация
×
Название:
Номер:
Примечание: