Каталог запасных частей к технике: МАЗ-437040 (Зубренок). Механизм подъема кабины
1
2
3
4
5
6
7
8
9
9
10
10
11
11
12
13
14
15
16
17
17
18
18
19
20
21
22
23
24
25
25
26
27
27
28
28
29
30
30
31
32
33
33
34
35
36
37
38
39
39
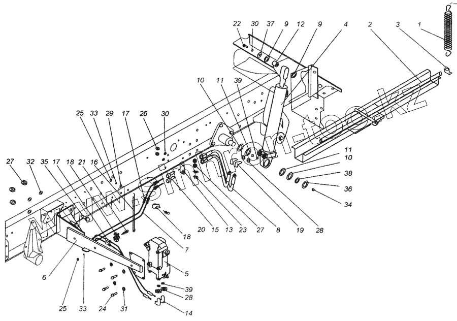
| Позиция на иллюстрации | Заводской номер детали | Название детали | |
|---|---|---|---|
| 1 | 2008-2703146 | Пружина | |
| 2 | 64221-3901084-01 | Рычаг | |
| 3 | 64226-3901085 | Прижим | |
| 4 | 4370-5003010 | Гидроцилиндр | |
| 5 | 64221-5004010 | Насос | |
| 6 | 4370-5004074 | Кронштейн | |
| 7 | 4370-5009055 | Трубопровод | |
| 8 | 6430-5009160 | Шланг | |
| 9 | 4370-5003064 | Шайба | |
| 10 | 6430-5003186 | Кольцо | |
| 11 | 6430-5003188 | Уплотнитель | |
| 12 | 4370-5003191 | Втулка | |
| 13 | 5336-5009062 | Кронштейн | |
| 14 | 64221-5009065 | Угольник | |
| 15 | 6422-5009069 | Переходник | |
| 16 | 64227-3724620 | Лента стяжная | |
| 17 | 500-1104541-Б | Втулка | |
| 18 | 8950-3506168 | Хомут | |
| 19 | 534003-5009065 | Угольник | |
| 20 | 201424 | Болт М6-6gх30 | |
| 21 | 201428 | Болт М6-6gх40 | |
| 22 | 201454 | Болт М8-6gх16 | |
| 23 | 201456 | Болт М8-6gх20 | |
| 24 | 201497 | Болт М10-6gх25 | |
| 25 | 250508 | Гайка М6-6Н | |
| 26 | 250510 | Гайка М8-6Н | |
| 27 | 250559 | Гайка М14х1,5-6Н | |
| 28 | 250615 | Гайка М12х1,25-6Н | |
| 29 | 252037 | Шайба 6 | |
| 30 | 252135 | Шайба 8Т | |
| 31 | 252136 | Шайба 10.ОТ | |
| 32 | 252138 | Шайба 14.ОТ | |
| 33 | 252154 | Шайба 6Л | |
| 34 | 264072 | Масленка 1.1.4ХЛ1 | |
| 35 | 372212 | Болт М14х1,5-6gх35 | |
| 36 | 375034 | Гайка М24х1,5-6Н | |
| 37 | 375460 | Шайба 8 | |
| 38 | 376204 | Шайба 24 | |
| 39 | 008-012-25-2-3 | Кольцо |
Содержащиеся в справочниках-каталогах запасные части и детали не предлагаются к продаже, а носят исключительно информационный характер