Каталог запасных частей к технике: МАЗ-3PP59. Стояночная тормозная система
1
1
2
2
2
3
3
3
4
4
5
5
6
7
8
9
10
11
12
13
14
15
16
17
17
18
19
20
21
22
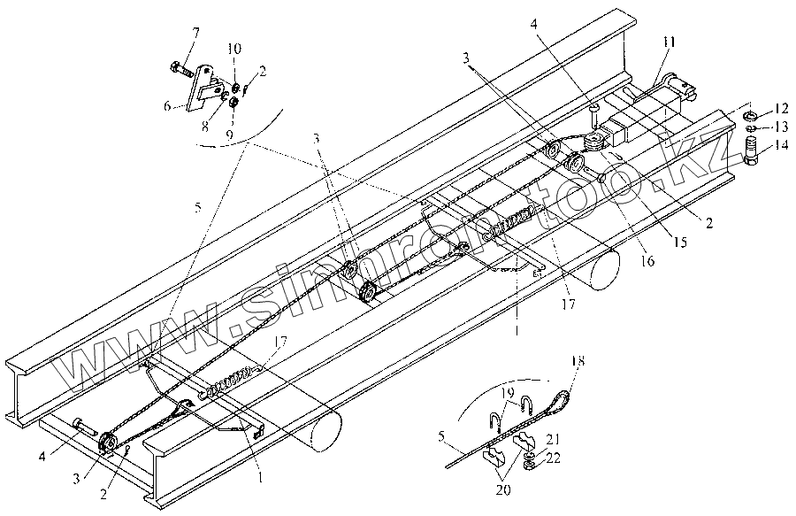
| Позиция на иллюстрации | Заводской номер детали | Название детали | |
|---|---|---|---|
| 1 | 3РР59-3508100 | Балансир | |
| 2 | 258039 | Шплинт 3,2х20 | |
| 3 | 938-3508099 | Ролик | |
| 4 | 260061 | Палец 10х38 | |
| 5 | 3РР59-3508254 | Канат | |
| 6 | 8378-3508266 | Кронштейн | |
| 7 | 201544 | Болт М12-6gх40 | |
| 8 | 252137 | Шайба 12.ОТ | |
| 9 | 250514 | Гайка М12-6Н | |
| 10 | 252016 | Шайба 14 | |
| 11 | 9398-3508210-10 | Привод в сборе | |
| 12 | 252006 | Шайба 10 | |
| 13 | 252156 | Шайба 10Л | |
| 14 | 201495 | Болт М10-6gх20 | |
| 15 | 8378-3508099 | Ролик | |
| 16 | 260070 | Палец 10х70 | |
| 17 | 500-1602668 | Пружина | |
| 18 | 5247Б-3508468 | Коуш троса | |
| 19 | 938-3508246 | Стремянка | |
| 20 | 9397-3508242 | Пластина | |
| 21 | 252135 | Шайба 8Т | |
| 22 | 250510 | Гайка М8-6Н |
Содержащиеся в справочниках-каталогах запасные части и детали не предлагаются к продаже, а носят исключительно информационный характер