Вернуться на главную
Поиск
Каталоги запчастей к технике
Грузовые автомобили и прицепы
MAN
MAN TGL
Колено выхлопного коллектора и теплозащитный экран
Каталог запасных частей к технике: MAN TGL. Колено выхлопного коллектора и теплозащитный экран
zoom-in
zoom-out
enlarge
shrink
circle-right
circle-left
file-text2
info
cart
Тип техники
Не выбрано
Легковые автомобили
Грузовые автомобили и прицепы
Автобусы
Сельхозтехника
Спецтехника
Двигатели
Мототехника
Марка
Не выбрано
BAW
DAF
DongFeng
FAW
Foton
HOWO
Hyundai
IVECO
JAC Motors
LGMG
MAN
Shaanxi
SITRAK
Studebaker
Tata
Volvo
Автокомпонент Плюс
БелАЗ
Брянский Арсенал
ГАЗ
ЗИЛ
КАЗ
Камский автозавод
КрАЗ
Мадара
МАЗ
МЗКТ
МоАЗ
Нефтекамский автозавод
Ставропольский Завод АвтоПрицепов
ТАТРА
Тонар
УралАЗ
ЧМЗАП
Модель
Не выбрано
MAN TGL (2005)
Схема
>
Не выбрано
Стеклоочиститель
Емкость стеклоочистителя и омывателя фар
Омыватель фар
Зеркала заднего вида, левое+правое с механической регулировкой
Зеркала заднего вида с обогревом левое+правое с электрической регулировкой
Передняя подвеска кабины
Задняя подвеска кабины
Насос механизма наклона кабины
Насос механизма наклона кабины
Кожух
Кожух
Внутренняя боковая панель
Внешняя боковая панель
Задняя панель
Задняя панель
Панели пола
Покрытие пола
Крепление крыши
Крепление крыши
Левая дверь
Облицовка двери правая
Дверное окно левое
Дверное окно правое
Электрический стеклоподъемник левый
Электрический стеклоподъемник правый
Ветровое стекло
Стекло бокового окна
Подъемный/сдвигающийся люк
Подъемный люк
Дверные петли
Дверной замок
Дверной замок
Пластмассовый бампер
Элементы пластмассового бампера
Элементы пластмассового бампера
Крепление пластмассового бампера
Кронштейны задних фонарей
Передняя сервисная дверца
Спойлер
Спойлер
Ступень и крыло левые
Ступень и крыло правые
Задние крылья
Задние крылья
Задние крылья
Крыло левое переднее
Крыло правое переднее
Конденсер
Воздуховод
Детали обогревателя
Обогреватель
Обогреватель
Трубопроводы обогревателя кабины
Трубопроводы обогревателя кабины
Трубопроводы обогревателя кабины
Трубопроводы обогревателя кабины
Дозирующий топливный насос обогревателя
Дозирующий топливный насос обогревателя
Компрессор холодильника
Компрессор холодильника с клиновым ремнем
Крепеж компрессора холодильника
Шкив натяжения компрессора холодильника
Кронштейн крепления двигателя на раме
Кронштейн крепления двигателя
Переднее крепление двигателя
Переднее крепление двигателя
Переднее крепление двигателя
Переднее крепление двигателя
Пневмоцилиндр тормоза на выхлопе
Крепление крышки механизма газораспределения
Крепление корпуса механизма газораспределения
Картер маховика SAE 3
Корпус механизма газораспределения
Механизм газораспределения
Детали механизма отбора мощности
Установка механизма отбора мощности, водяного насоса, генератора
Сапун
Картер маховика SAE 2
Маслораспылитель
Гильза цилиндра
Коленвал
Подшипники и крепление коленвала
Шкив
Клапаны
Маховик
Поршень
Шатун
Блок цилиндров
Головка блока цилиндров
Прокладка и болты головки блока цилиндров
Крышка головки блока цилиндров
Промежуточная шестерня 1 и промежуточная ось
Промежуточная шестерня 2 и промежуточная ось
Кронштейн рокеров с EVB
Клапанный мост и толкатель клапана для EVB
Клапанный мост и толкатель клапана без EVB
Распредвал с шестерней
Воздуховоды промежуточного охладителя
Впускной канал и гофр
Воздухоочиститель
Воздухоочиститель
Крепление воздухоочистителя
Крепление воздухоочистителя
Крепление воздухоочистителя
Крепление воздухоочистителя
Воздухозаборник
Фильтр
Крышка топливного бака
Топливный бак
Топливный бак
Модуль подачи топлива
Топливопроводы
Топливопроводы
Топливный фильтр
Трубопровод распределения воздуха
Трубопровод и колено промежуточного охладителя
Турбокомпрессор
Турбокомпрессор
Трубопровод подачи масла в турбокомпрессор
Возвратный масляный трубопровод от турбокомпрессора
Воздухозаборник турбокомпрессора
Воздухозаборник турбокомпрессора
Топливопроводы форсунок
Форсунка
Крепление форсунки
Шейка аккумулятора давления
Предохранительный клапан, ремонтный
Аккумулятор давления
Топливопровод к аккумулятору давления
Топливный насос высокого давления CP3.3
Топливный фильтр
Топливный фильтр
Топливный фильтр
Топливопроводы
Топливопроводы
Установочные детали топливной системы
Установочные детали топливной системы
Средство облегчения пуска двигателя
Средство облегчения пуска двигателя
Сливная пробка
Колено промежуточного охладителя
Колено промежуточного охладителя
Система рециркуляции выхлопных газов
Система рециркуляции выхлопных газов
Крепеж системы рециркуляции выхлопных газов
Колено выхлопного коллектора и теплозащитный экран
Колено выхлопного коллектора и теплозащитный экран
Колено выхлопного коллектора и теплозащитный экран
Маслозаливной трубопровод
Всасывающий маслопровод
Масляный насос
Масляный насос
Масломерный щуп
Масляный поддон и картер коленвала
Масляный поддон и картер коленвала
Масляный поддон и картер коленвала
Модуль обработки масла
Модуль обработки масла
Радиатор системы охлаждения
Расширительный бачок
Трубопроводы охлаждающей жидкости
Термостат охлаждающей жидкости
Термостат охлаждающей жидкости
Элементы модуля обработки масла
Насос охлаждающей жидкости
Насос охлаждающей жидкости
Насос охлаждающей жидкости
Трубопровод охлаждающей жидкости
Трубопровод охлаждающей жидкости
Трубопровод охлаждающей жидкости
Корпус термостата
Колено охлаждающей жидкости
8-лопастной вентилятор
Вентилятор с вязкостной муфтой
Крепление вентилятора с вязкостной муфтой
Переднее крепление двигателя
Переднее крепление двигателя
Переднее крепление двигателя
Переднее крепление двигателя
Картер маховика SAE 2
Картер маховика SAE 3
Картер механизма газораспределения
Картер механизма газораспределения
Крепление картера механизма газораспределения
Крепление крышки механизма газораспределения
Сапун
Сапун
Маслораспылитель
Коленвал
Коленвал
Распредвал
Распредвал
Шкив
Шкив
Маховик
Маховик
Поршень
Шатунный подшипник
Блок цилиндров
Головка блока цилиндров
Прокладка головки блока цилиндров
Клапанная крышка
Клапаны
Промежуточная шестерня 1 и промежуточная ось
Промежуточная шестерня 2 и промежуточная ось
Кронштейн рокеров с EVB
Кронштейн рокеров без EVB
Клапанный мост, толкатель клапана с EVB
Клапанный мост, толкатель клапана без EVB
Колено от промежуточного охладителя к впускному трубопроводу
Колено промежуточного охладителя от турбокомпрессора
Питающий воздушный трубопровод и колено промежуточного охладителя
Средство облегчения пуска двигателя
Средство облегчения пуска двигателя
Турбокомпрессор
Турбокомпрессор
Крепление турбокомпрессора
Крепление турбокомпрессора
Трубопровод подачи масла на турбокомпрессор
Возвратный масляный трубопровод турбокомпрессора
Возвратный масляный трубопровод турбокомпрессора
Возвратный масляный трубопровод турбокомпрессора
Воздухозаборник турбокомпрессора
Воздухозаборник турбокомпрессора
Управление давлением наддувочного воздуха
Форсунка
Крепление форсунки
Шейка аккумулятора давления
Аккумулятор давления
Топливопровод высокого давления
Топливопроводы форсунок
Насос высокого давления CP3.3
Топливный фильтр
Топливный фильтр
Топливопроводы
Топливопроводы
Колено выхлопного коллектора и теплозащитный экран
Колено выхлопного коллектора и теплозащитный экран
Трубопровод распределения воздуха
Крепеж и соединения системы рециркуляции выхлопных газов
Элементы системы рециркуляции выхлопных газов
Масляный насос
Всасывающий маслопровод
Модуль обработки масла
Модуль обработки масла
Масляный поддон и картер коленвала
Модуль обработки масла
Масломерный щуп
Термостат охлаждающей жидкости
Корпус термостата
Вентилятор
Насос охлаждающей жидкости
Насос охлаждающей жидкости
Насос охлаждающей жидкости
Трубопровод охлаждающей жидкости
Трубопровод охлаждающей жидкости
Трубопровод охлаждающей жидкости
Выпускной трубопровод
Колено охлаждающей жидкости
Вентилятор с вязкостной муфтой
Сцепление
Сцепление
Трубопровод сцепления
Трубопровод сцепления
Картер сцепления и выжимной подшипник
Картер сцепления
Шестерня заднего хода
Картер трансмиссии
Ведущий вал
Главный вал, передние компоненты
Главный вал задние компоненты
Промежуточный вал
Механизм переключения передач
Механизм переключения передач
Детали рычага переключения передач
Корпус механизма управления переключением передач
Корпус механизма управления переключением передач
Карданный вал
Карданный вал
Карданный вал
Карданный вал
Механизм блокировки дифференциала
Привод
Полуоси
Полуоси
Задний мост HY-0718
Задний мост HY-0718-00/01
Задний мост
Привод заднего моста с блокировкой дифференциала
Привод заднего моста с блокировкой дифференциала
Ступица колеса и тормозной диск
Датчик скорости
Датчик скорости
Индикатор износа тормозной колодки
Индикатор износа тормозной колодки
Сцепное устройство Ringfeder
Амортизатор
Амортизатор
Амортизатор
Элементы амортизатора
Поперечная тяга с подвесом
Элементы поперечной тяги
Стабилизатор заднего моста
Стабилизатор заднего моста
Стабилизатор переднего моста
Рессора
Задняя рессора
Параболическая рессора 2-листовая
Полурессора
Пневмобаллон
Ступица колеса
Передний неведущий мост, поворотный кулак
Передний мост VOK-05
Запасное колесо
Поперечная рулевая тяга
Рулевое управление
Рулевое управление
Рулевая колонка
Рулевая колонка без подушки безопасности
Кожух рулевой колонки
Комплект уплотнений рулевого управления
Рулевая сошка и продольная рулевая тяга
Продольная рулевая тяга
Бачок гидравлической жидкости рулевого управления
Элементы бачка
Бачок
Вал рулевого управления
Ремкомплект рулевого управления
Элементы блока педалей
Одинарный гидравлический насос
Двойной гидравлический насос
Ремкомплект лопастного насоса
Ремкомплект лопастного насоса
Ремкомплект лопастного насоса
Насос усилителя рулевого управления
Трубопроводы насоса усилителя рулевого управления MAN D0836
Трубопроводы насоса усилителя рулевого управления MAN D0834
Ремкомплекты дискового тормоза
Суппорт тормоза
Тормозной суппорт
Тормозная колодка
Тормозная колодка
Тормозная колодка
Ремкомплект индикатора износа тормозной колодки
Ремкомплект индикатора износа тормозной колодки
Ремкомплект суппорта дискового тормоза
Ремкомплект суппорта дискового тормоза
Тормозной трубопровод воздушного компрессора
Тормозной трубопровод воздушного компрессора
Ремкомплект воздухоосушителя KNORR
Ремкомплект воздухоосушителя BOSCH
Ремкомплект воздухоосушителя WABCO
Трубопроводы охлаждающей жидкости 1-цилиндрового компрессора
1-цилиндровый воздушный компрессор
Тормозной трубопровод
Тормозной трубопровод
Трубопроводы охлаждающей жидкости 1-цилиндрового воздушного компрессора
Трубопроводы охлаждающей жидкости 1-цилиндрового воздушного компрессора
Тормозной трубопровод
1-цилиндровый воздушный компрессор
Крепеж генератора
Крепеж генератора
Крепеж генератора
Детали генератора
Шкив натяжения
Шкив натяжения для двигателей с гидравлическим насосом
Стартер
Датчики двигателя
Элементы крепления генератора
Передние указатели поворотов
Фонарь освещения ступеньки
Боковой габаритный светодиодный фонарь
Багажная полка с освещением
Прожектор на крыше
Габаритный фонарь
Прожектор за кабиной
Задние фонари
Задние фонари
Задние фонари
Боковой указатель на подножке
Реле и предохранители центрального бортового компьютера
Звуковой сигнал
Переключатели на рулевой колонке
Выключатель аккумулятора
Реле отключения аккумулятора
Механический выключатель аккумулятора
Аккумуляторная коробка
Цилиндр переключения механизма отбора мощности N850/10
Механизм отбора мощности
Механизм отбора мощности
Механизм отбора мощности
Механизм отбора мощности
Механизм отбора мощности
Механизм отбора мощности
Механизм отбора мощности
Механизм отбора мощности
Механизм отбора мощности
Механизм отбора мощности
Механизм отбора мощности
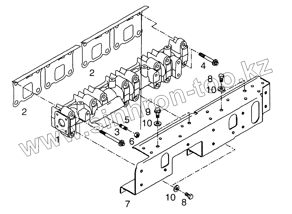
1
1
2
2
3
4
5
6
7
8
8
9
10
10
Позиция на иллюстрации
Заводской номер детали
Название детали
1
51.08102-0031
Колено выхлопного коллектора
2
51.08901-0200
Прокладка
3
51.90490-0090
Болт M8x80-1,4980-E12-GA-WARMFEST
4
51.90490-0061
Болт M8x58-1,7709-E12-GA-WARMFEST
5
51.90210-0013
Шпилька M8x25-SO-HOCHWARMFEST
6
06.11249-0017
Фиксирующая шестигранная гайка AM8-GA-C2J
7
51.08120-0337
Теплозащитный экран выхлопного коллектора
8
06.01289-0266
Болт с шестигранной головкой M8x16-8,8-C3J
9
06.03216-8304
Болт с шестигранной головкой с фланцем M8x20-10,9-MAN183-B1
10
51.90710-0314
Шайба 9x19x3-9SMNPB28K
Содержащиеся в справочниках-каталогах запасные части и детали не предлагаются к продаже, а носят исключительно информационный характер
Дополнительная информация
×
Название:
Номер:
Примечание: