Каталог запасных частей к технике: КрАЗ-7133H4. Схема электрооборудования
85
92
14
17
37
18
2
9
3
8
104
119
152
155
26
15
16
116
7
131
120
59
49
71
25
51
105
107
1
1
118
125
126
138
139
151
13
122
121
21
28
143
117
22
30
147
148
146
132
27
98
97
96
95
94
101
102
93
106
108
109
110
111
112
113
114
115
99
79
91
86
76
89
23
65
48
54
53
42
52
40
39
41
72
56
55
45
58
67
60
62
142
70
32
33
135
136
137
134
140
19
133
130
24
43
103
127
149
20
29
31
129
133
144
145
128
150
44
66
83
84
123
124
5
154
6
12
36
34
50
46
47
68
63
78
77
81
75
74
73
69
61
64
88
90
87
122
82
153
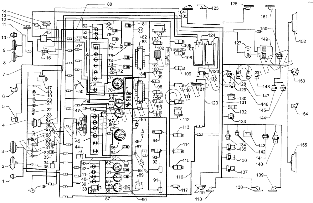
| Позиция на иллюстрации | Заводской номер детали | Название детали | |
|---|---|---|---|
| 85 | 3403.3747 | Диод разделительный | |
| 92 | РС493 | Реле прерыватель звукового сигнала | |
| 14 | 112.3702 | Регулятор напряжения | |
| 156 | 11.3704-01 | Выключатель ЭФУ | |
| 17 | 25.3708-20 | Стартер | |
| 157 | 3842-3710-08.39 | Выключатель дистанционного включения «массы» | |
| 37 | 245.3710-01 | Выключатель аварийной сигнализации | |
| 18 | 661.3710-01 | Термореле | |
| 2 | 342.3711 | Фара головная | |
| 9 | 342.3711 | Фара головная | |
| 3 | ФГ152-А | Фара противотуманная | |
| 8 | ФГ152-А | Фара противотуманная | |
| 104 | 26.3712-10 | Фонарь габаритный передний | |
| 119 | 26.3712-10 | Фонарь габаритный передний | |
| 152 | 7462.3716 | Фонарь задний | |
| 155 | 7472.3716 | Фонарь задний | |
| 26 | ПД308-Б | Фонарь подкапотной подсветки | |
| 15 | 111.3722 | Блок предохранителей центральный | |
| 16 | 25.3723 | Панель соединительная | |
| 116 | 65032-3724010 | Жгут проводов основной | |
| 7 | 6437-3724012 | Жгут проводов освещения | |
| 131 | 7133Н4-3724030 | Жгут проводов по лонжерону | |
| 120 | 260-3724050-23 | Жгут проводов освещения дополнительный | |
| 59 | 6437-3724055-01 | Жгут проводов приборного щитка левого | |
| 49 | 6437-3724056-01 | Жгут проводов приборного щитка среднего | |
| 71 | 65053-3724057 | Жгут проводов правого щитка приборов | |
| 25 | 6443-3724089 | Жгут проводов переднего щита | |
| 51 | 65055-3724145 | Жгут проводов ЭФУ | |
| 105 | 65055-3724164-11 | Жгут проводов Вебасто | |
| 107 | Лампа контрольная снижения давления воздуха в контуре потребителя | ||
| 1 | 26.3726 | Указатель поворота передний | |
| 118 | 4422.3731-01 | Фонарь габаритный | |
| 125 | 4422.3731-01 | Фонарь габаритный | |
| 126 | 4422.3731-01 | Фонарь габаритный | |
| 138 | 4422.3731-01 | Фонарь габаритный | |
| 139 | 4422.3731-01 | Фонарь габаритный | |
| 151 | 4422.3731-01 | Фонарь габаритный | |
| 13 | 113.3733.000 | Фильтр радиопомех | |
| 122 | ВМ-1212.3737-07 | Выключатель массы дистанционный | |
| 121 | ПК201-Д2 | Плафон | |
| 21 | 111.3740 | Свеча штифтовая | |
| 28 | 111.3740 | Свеча штифтовая | |
| 143 | А01.03.000-01 | Нагревательный элемент осушителя воздуха | |
| 117 | 12.3741 | Сопротивление тепловое | |
| 22 | 11.3741 | Электромагнитный топливный клапан электрофакельного устройства | |
| 30 | 11.3743 | Электромагнит клапана противоугонного устройства | |
| 147 | 11.3745 | Электромагнит клапана противоугонного устройства блокировки межосевого дифференциала включениянизшей передачи, блокировки межколесного дифференциала | |
| 148 | 11.3745 | Электромагнит клапана противоугонного устройства блокировки межосевого дифференциала включениянизшей передачи, блокировки межколесного дифференциала | |
| 146 | 11.3745 | Электромагнит клапана противоугонного устройства блокировки межосевого дифференциала включениянизшей передачи, блокировки межколесного дифференциала | |
| 132 | 151.3747 | Электромагнит клапана | |
| 27 | 151.3747 | Электромагнит клапана | |
| 98 | 11.3747 | Реле электромуфты вентилятора | |
| 97 | 11.3747 | Реле электромуфты вентилятора | |
| 96 | 11.3747 | Реле электромуфты вентилятора | |
| 95 | 11.3747 | Реле электромуфты вентилятора | |
| 94 | 11.3747 | Реле электромуфты вентилятора | |
| 101 | 2622.3747 | Устройство блокировки стартера | |
| 102 | 6312.3747 | Реле блокировки демультипликатора | |
| 93 | 11.3747 | Реле электромуфты вентилятора | |
| 106 | 11.3747 | Реле электромуфты вентилятора | |
| 108 | 11.3747 | Реле электромуфты вентилятора | |
| 109 | 11.3747 | Реле электромуфты вентилятора | |
| 110 | 11.3747 | Реле электромуфты вентилятора | |
| 111 | 11.3747 | Реле электромуфты вентилятора | |
| 112 | 738.3747-20 | Реле стартера | |
| 113 | 11.3747 | Реле электромуфты вентилятора | |
| 114 | 11.3747 | Реле электромуфты вентилятора | |
| 115 | 11.3747 | Реле электромуфты вентилятора | |
| 99 | 11.3747 | Реле электромуфты вентилятора | |
| 79 | 3403.3747 | Диод разделительный | |
| 91 | РС493 | Реле прерыватель звукового сигнала | |
| 86 | Лампа контрольная снижения давления воздуха в контуре потребителя | ||
| 76 | Лампа контрольная снижения давления воздуха в контуре потребителя | ||
| 89 | 733.3747-10 | Зуммер | |
| 23 | 1702.3771 | Генератор | |
| 65 | 121.3802 | Спидометр электронный | |
| 48 | 2212.3803-09 | Лампа сигнализации включения противотуманной фары | |
| 54 | 2212.3803-13 | Лампа контрольная включения блокировки межколесного дифференциала | |
| 53 | 2212.3803-14 | Лампа контрольная выключения блокировки межосевого дифференциала | |
| 42 | 2212.3803-20 | Лампа контрольная засоренности воздушного фильтра | |
| 52 | 2212.3803-21 | Лампа сигнализации включения подъёма платформы | |
| 40 | 2212.3803-22 | Лампа контрольная аварийной температуры охлаждающей жидкости | |
| 39 | 2212.3803-23 | Лампа контрольная падения давления масла в двигателе | |
| 41 | 2212.3803-24 | Лампа контрольная засоренности масляного фильтра | |
| 72 | 2212.3803-32 | Лампа контрольная включения подогревателя | |
| 56 | 2212.3803-35 | Лампа контрольная включения демультипликатора | |
| 55 | 2312.3803-15 | Блок контрольных ламп с диодами | |
| 45 | 2312.3803-16 | Блок контрольных ламп | |
| 58 | 33.3810 | Указатель давления масла | |
| 67 | 34.3806 | Указатель уровня топлива | |
| 60 | 36.3807 | Указатель температуры воды | |
| 62 | 2531.3813 | Тахометр электронный | |
| 142 | 5212.3827-10 | Датчик уровня топлива | |
| 70 | 1901.3830 | Манометр двухстрелочный | |
| 32 | 2602.3829 | Датчик аварийного давления масла | |
| 33 | 2802.3829 | Выключатель моторного тормоза | |
| 2702.3829 | 2702.3829 | Датчик включателя стояночного тормоза | |
| 135 | 2702.3829 | Датчик включателя стояночного тормоза | |
| 136 | 2702.3829 | Датчик включателя стояночного тормоза | |
| 137 | 2702.3829 | Датчик включателя стояночного тормоза | |
| 134 | 2802.3829 | Выключатель моторного тормоза | |
| 140 | 2802.3829 | Выключатель моторного тормоза | |
| 19 | 13.3839 | Датчик засорённости воздушного фильтра | |
| 133 | Лампа контрольная снижения давления воздуха в контуре потребителя | ||
| 130 | 1101.3843 | Датчик скорости | |
| 24 | 260-7905010-01 | Жгут проводов генератора | |
| 43 | 6437-7905012-02 | Жгут проводов электроспидометра | |
| 103 | РС951-А | Реле поворотов | |
| 127 | 8500847 А | Щиток подогревателя | |
| 149 | DBW 300.58.01/24 | Подогреватель | |
| 20 | ТМ100-В | Датчик указателя температуры воды | |
| 29 | ТМ111 | Датчик аварийной температуры воды | |
| 31 | Лампа контрольная снижения давления воздуха в контуре потребителя | ||
| 129 | ВАК-010 | Датчики сигнализации включения блокировки межосевого и межколесного дифференциалов, низшей передачи, заднего хода, отбора мощности, включения демультипликатора | |
| 133 | ВК 403 | Датчик сигнализации включения демультипликатора | |
| 144 | ВАК-010 | Датчики сигнализации включения блокировки межосевого и межколесного дифференциалов, низшей передачи, заднего хода, отбора мощности, включения демультипликатора | |
| 145 | ВАК-010 | Датчики сигнализации включения блокировки межосевого и межколесного дифференциалов, низшей передачи, заднего хода, отбора мощности, включения демультипликатора | |
| 128 | ВАК-010 | Датчики сигнализации включения блокировки межосевого и межколесного дифференциалов, низшей передачи, заднего хода, отбора мощности, включения демультипликатора | |
| 150 | ВА 010 | Датчик включения блокировки межосевого дифференциала | |
| 44 | ПД 8089 | Датчик спидометра | |
| 66 | Пр118-Б-01 | Предохранитель | |
| 83 | Пр112 | Блок предохранителей освещения | |
| 84 | Пр112 | Блок предохранителей освещения | |
| 123 | 6СТ-190А | Батарея аккумуляторная | |
| 124 | 6СТ-190А | Батарея аккумуляторная | |
| 5 | С 306Д-01 | Сигнал звуковой электрический и заднего хода | |
| 154 | С 306Д-01 | Сигнал звуковой электрический и заднего хода | |
| 6 | С307Д-01 | Сигнал звуковой электрический | |
| 12 | УП101-В | Указатель поворота боковой | |
| 36 | УП101-В | Указатель поворота боковой | |
| 34 | 1112.5208-02 | Электроомыватель | |
| 50 | 34.5205 | Электростеклоочиститель | |
| 46 | ДП77-24/90 | Электродвигатель отопителя | |
| 47 | ДП77-24/90 | Электродвигатель отопителя | |
| 68 | АП111-Б | Амперметр | |
| 63 | ВК416-Б-01 | Выключатель освещения приборов | |
| 78 | ПКл1-06.08 | Выключатель плафона | |
| 77 | ПКл1-06.12 | Переключатель электромуфты вентилятора | |
| 81 | ПКл1-04.11 | Переключатель режимов электродвигателей отопителя | |
| 75 | ПКл1-02.13 | Переключатель датчиков уровня топлива | |
| 74 | ВКл.1БС-01.35 | Включатель блокировки межосевого дифференциала | |
| 73 | ПКл2-14.14 | Переключатель блокировки межколесного дифференциала | |
| 69 | ВКл1БС-01.81 | Выключатель подъёма платформы | |
| 61 | ПКл2-14.10 | Переключатель электростеклоомывателя | |
| 64 | ПКл1-04.03 | Переключатель противотуманных фар и заднего противотуманного огня | |
| 88 | ПКл1-09.05 | Переключатель стеклоочистителя | |
| 90 | В3А-01 | Замок включателя стартера | |
| 87 | БВК-12 | Переключатель комбинированный | |
| 157 | 3842.3710-08.39 | Выключатель дистанционного включения «массы» | |
| 122 | ВМ-1212.3737-07 | Выключатель массы дистанционный | |
| 82 | 47К | Розетка переносной лампы | |
| 153 | ПС400 | Розетка переносной лампы |
Содержащиеся в справочниках-каталогах запасные части и детали не предлагаются к продаже, а носят исключительно информационный характер