Каталог запасных частей к технике: КрАЗ-65053-02. Запорный механизм заднего борта
1
1
2
2
3
4
5
6
7
8
9
10
11
11
11
12
13
14
14
15
15
16
17
18
19
20
21
22
23
24
25
26
27
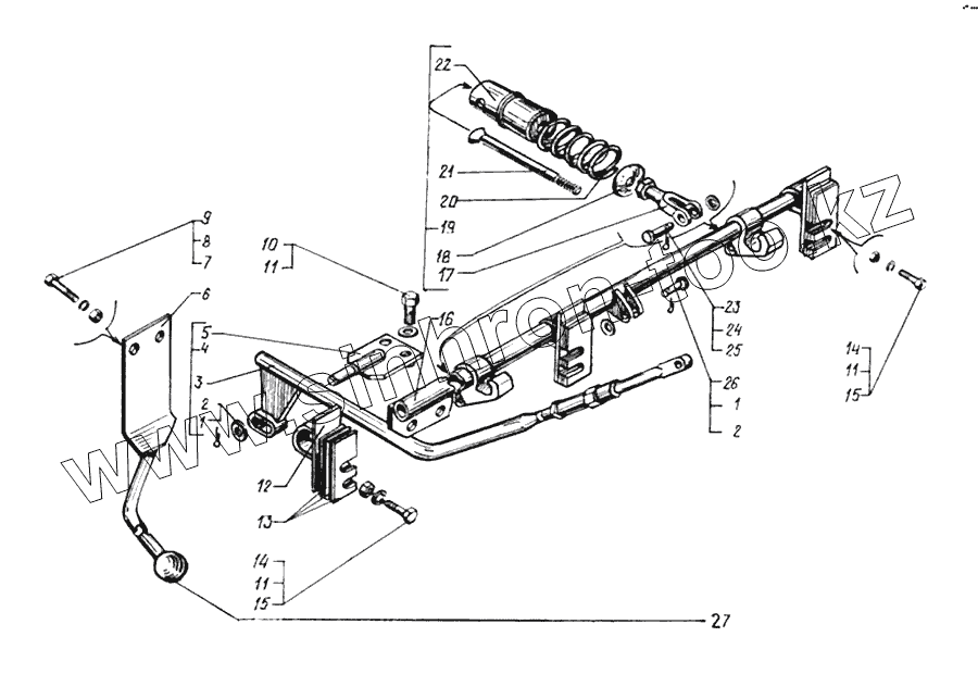
| Позиция на иллюстрации | Заводской номер детали | Название детали | |
|---|---|---|---|
| 250513 | 250513 | Гайка М10х1 | |
| 1 | 252017 | Шайба 16 | |
| 2 | 258053 | Шплинт 3,6х25 | |
| 3 | 65034-8505110 | Тяга | |
| 4 | 6125С4-8505130-020 | Тяга | |
| 5 | 65032-8505120 | Кронштейн оси | |
| 6 | 65032-8505150-10 | Рукоятка ручного привода | |
| 7 | 250512 | Гайка М10х1,5 | |
| 8 | 252136 | Шайба 10,2 | |
| 9 | 201499 | Болт М10х30 | |
| 10 | 201540 | Болт М12х30 | |
| 11 | 252137 | Шайба 12 ОТ | |
| 12 | 65032-8505012 | Кронштейн вала | |
| 13 | 65032-8505182 | Подкладка | |
| 14 | 250514 | Гайка М12 | |
| 15 | 201544 | Болт М12х1,75х40 | |
| 16 | 65032-8505116-10 | Вал запорного механизма заднего моста | |
| 17 | 200Т-3508045-02 | Вилка | |
| 18 | 255Л-2732026-А | Шайба упорная диафрагмы | |
| 19 | 65032-8505128-10 | Запор заднего борта | |
| 20 | 260-1804082 | Пружина | |
| 21 | 65032-8505164-10 | Шток пружины | |
| 22 | 65032-8505160-10 | Направляющая пружины | |
| 23 | 260060 | Палец 10х35 | |
| 24 | 252006 | Шайба 10,5 | |
| 25 | 258039 | Шплинт 3,2х20 | |
| 26 | 260132 | Палец | |
| 27 | 256Б1-1702159 | Рукоятка |
Содержащиеся в справочниках-каталогах запасные части и детали не предлагаются к продаже, а носят исключительно информационный характер