Каталог запасных частей к технике: Камский автозавод 6522. Установка пневмотормозов
2
6
8
33
33
34
35
35
42
42
42
45
45
45
45
45
45
50
51
51
51
51
51
51
54
54
54
54
60
60
60
60
61
71
72
74
74
74
74
76
76
77
77
78
78
78
123
125
126
126
126
131
131
131
136
140
146
146
146
146
146
146
157
157
157
157
157
157
161
163
163
172
172
172
172
172
172
173
173
173
173
173
173
180
180
182
184
184
185
187
187
187
192
192
192
216
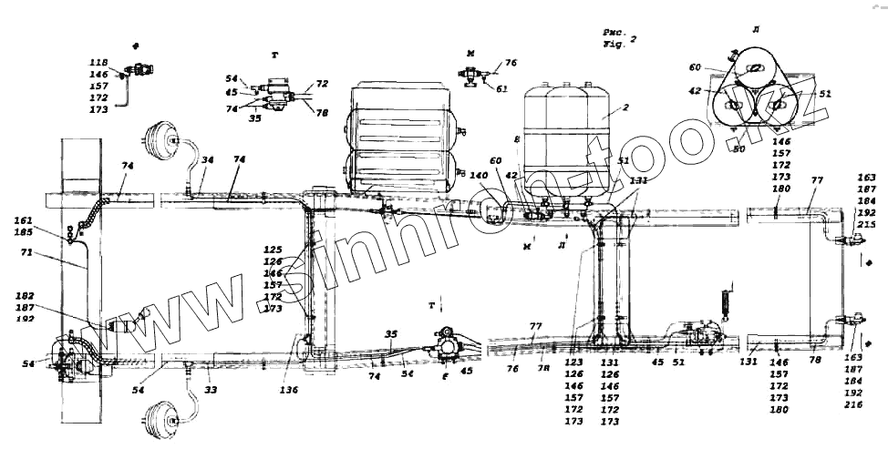
| Позиция на иллюстрации | Заводской номер детали | Название детали | |
|---|---|---|---|
| 4Э6522-3500006 | 4Э6522-3500006 | Установка пневмотормозов | |
| 65225-3500006 | 65225-3500006 | Установка пневмотормозов | |
| 1 | 6520-3500011-16 | Установка блока подготовки воздуха | |
| 2 | 6520-3500013 | Установка воздушных ресиверов | |
| 3 | 6520-3500014 | Установка двухсекционного тормозного крана | |
| 4 | 6520-3500015 | Установка четырехконтурного защитного клапана | |
| 5 | 6520-3500018 | Установка ускорительного клапана | |
| 6 | 6520-3500022-10 | Установка клапана управления тормозами прицепа | |
| 7 | 6520-3500033 | Установка регулятора тормозных сил | |
| 7 | 4Э6522-3500033 | Установка регулятора тормозных сил | |
| 8 | 6520-3500062 | Установка двухмагистрального клапана | |
| 9 | 6520-3506180 | Охладитель | |
| 10 | 6520-3506060 | Шланг гибкий соединительный | |
| 11 | 5320-3506060-10 | Шланг гибкий | |
| 11 | 5320-3506060-20 | Шланг гибкий | |
| 12 | 54112-3506060 | Шланг гибкий | |
| 12 | 54112-3506060-20 | Шланг гибкий | |
| 13 | 6460-3506500 | Установка пневмовыводов к полуприцепу | |
| 15 | 6520-3506190 | Трубка | |
| 16 | 6520-3506198 | Трубка | |
| 16 | 53215-3506300 | Трубка | |
| 18 | 53205-3506046 | Трубка | |
| 22 | 53215-3506080 | Трубка | |
| 22 | 53215-3506275 | Трубка | |
| 25 | 53205-3506150 | Трубка | |
| 30 | 53215-3506125 | Трубка | |
| 31 | 53215-3506620 | Трубка | |
| 32 | 53215-3506186 | Трубка | |
| 33 | 53215-3506222 | Трубка | |
| 33 | 53215-3506067 | Трубка | |
| 34 | 53215-3506125 | Трубка | |
| 35 | 53205-3506080 | Трубка | |
| 40 | 53215-3506045 | Трубка | |
| 41 | 53215-3506030 | Трубка | |
| 42 | 53215-3506030 | Трубка | |
| 42 | 53215-3506050 | Трубка | |
| 43 | 53215-3506386 | Трубка | |
| 44 | 53215-3506195 | Трубка | |
| 45 | 53205-3506110 | Трубка | |
| 45 | 53205-3506168 | Трубка | |
| 46 | 53215-3506101 | Трубка в сборе | |
| 47 | 53215-3506125 | Трубка | |
| 48 | 53215-3506040 | Трубка | |
| 49 | 53205-3506140 | Трубка | |
| 50 | 53215-3506030 | Трубка | |
| 51 | 53215-3506222 | Трубка | |
| 51 | 53215-3506205 | Трубка | |
| 52 | 53215-3506060 | Трубка | |
| 53 | 53215-3506080 | Трубка | |
| 54 | 53205-3506275 | Трубка подвода воздуха | |
| 59 | 53215-3506035 | Трубка | |
| 60 | 53215-3506125 | Трубка | |
| 60 | 53215-3506150 | Трубка | |
| 61 | 53215-3506140 | Трубка | |
| 62 | 53215-3506090 | Трубка в сборе | |
| 63 | 53215-3506156 | Трубка | |
| 64 | 53215-3506125 | Трубка | |
| 65 | 53215-3506080 | Трубка | |
| 66 | 53215-3506060 | Трубка | |
| 70 | 53205-3506436 | Трубка | |
| 71 | 53205-3506085 | Трубка | |
| 72 | 53205-3506085 | Трубка | |
| 73 | 53205-3506563 | Трубка | |
| 74 | 53205-3506406 | Трубка | |
| 76 | 53215-3506214 | Трубка | |
| 77 | 53215-3506140 | Трубка | |
| 78 | 53215-3506110 | Трубка | |
| 90 | 53215-3506101 | Трубка в сборе | |
| 91 | 53205-3506465 | Трубка | |
| 91 | 53205-3506465 | Трубка | |
| 92 | 53205-3570120 | Трубка в сборе | |
| 93 | 53205-3570160 | Трубка в сборе | |
| 93 | 53205-3570162 | Трубка | |
| 94 | 6520-3570194 | Трубка | |
| 95 | 6520-3570196 | Трубка | |
| 105 | 6520-3570014 | Корпус вспомогательного тормоза с заслонкой | |
| 106 | 53205-3570100 | Кронштейн цилиндра в сборе | |
| 121 | 740-3509301 | Прокладка | |
| 123 | 53205-3509420 | Штуцер ввертный | |
| 125 | 53205-3506430 | Втулка трубки | |
| 126 | 5320-3506432 | Скоба | |
| 128 | 53205-8120032 | Кронштейн | |
| 129 | 53205-3506452 | Штуцер проходной | |
| 130 | 53205-3506435 | Лента спиральная 22х18х19 ТУ22-45-001-10841338-93 | |
| 130 | 53205-3506431 | Лента спиральная 22х18х19 ТУ 22-45-001-10841338-93 | |
| 131 | 53205-3506433 | Лента спиральная 12х9х11 ТУ 22-45-001-10841338-93 | |
| 132 | 6520-3506019 | Кронштейн крепления шлангов | |
| 133 | 6520-3506088 | Кронштейн | |
| 134 | 6520-3506016 | Тройник фланцевый проходной | |
| 135 | 100-3537139 | Гайка М26х1,5-6Н | |
| 136 | 4310-3125111 | Тройник | |
| 139 | 5320-3724048 | Держатель заднего правого пучка проводов | |
| 140 | 5320-3703301 | Втулка проходная | |
| 142 | 4310-3125111 | Тройник | |
| 145 | 1/60434/21 | Болт М8-6gх20 | |
| 146 | 1/60438/21 | Болт М8-6gх30 | |
| 147 | 1/60439/21 | Болт М8-6gх35 | |
| 148 | 1/60440/21 | Болт М8-6gх40 | |
| 155 | 1/33013/11 | Винт М6-6gх16 | |
| 156 | 1/58962/11 | Гайка ЕМ6-6Н | |
| 157 | 1/61008/11 | Гайка М8х1,25-6Н | |
| 160 | 1/07912/11 | Гайка низкая М12х1,5-6Н | |
| 161 | 1/07913/11 | Гайка низкая М14х1,5-6Н | |
| 162 | 1/07914/11 | Гайка низкая М16х1,5-6Н | |
| 163 | 1/07266/11 | Гайка низкая М18х1,5-6Н | |
| 164 | 1/07267/11 | Гайка низкая М20х1,5-6Н | |
| 171 | 1/05164/77 | Шайба 6 пружинная | |
| 172 | 1/05166/77 | Шайба 8 пружинная | |
| 173 | 1/05196/01 | Шайба плоская 8х17 | |
| 177 | 1/05208/01 | Шайба плоская 30х54 | |
| 178 | 1/07963/01 | Шплинт разводной 3х15 | |
| 179 | 853931 | Скоба | |
| 180 | 853938 | Скоба | |
| 181 | 853784-01 | Палец | |
| 182 | 864896 | Штуцер ввертный | |
| 183 | 853962 | Переходник ввертный | |
| 184 | 861339 | Штуцер фланцевый проходной | |
| 185 | 853975 | Штуцер 8 проходной | |
| 186 | 861022 | Шайба 10 | |
| 187 | 861023 | Шайба | |
| 188 | 861024 | Шайба | |
| 189 | 861328 | Угольник | |
| 190 | 861035 | Тройник | |
| 190 | 861004 | Угольник | |
| 191 | 863400 | Вилка | |
| 192 | 864236 | Кольцо уплотнительное | |
| 193 | 864204 | Кольцо уплотнительное | |
| 193 | 864273 | Кольцо уплотнительное | |
| 194 | 864411-01 | Хомут | |
| 195 | 864825 | Угольник фланцевый проходной | |
| 196 | 864826 | Тройник фланцевый проходной | |
| 197 | 864920 | Тройник 6 проходной | |
| 198 | 864921 | Тройник 12 проходной | |
| 199 | 864880 | Штуцер фланцевый проходной | |
| 200 | 864892 | Тройник ввертной симметричный | |
| 201 | 864221 | Кольцо уплотнительное толкателя | |
| 202 | 864269 | Кольцо уплотнительное | |
| 210 | 16-3515310 | Клапан контрольного вывода в сборе | |
| 211 | 8002-3537110 | Кран пневматический | |
| 212 | 100-3570210 | Цилиндр управления заслонкой в сборе | |
| 213 | 45104-3537015-90 | Кран тормозной обратного действия с ручным управлением 961.723.015.0 | |
| 214 | 2108-3401228 | Хомут | |
| 216 | 16-3515510 | Кран экстренного растормаживания в сборе | |
| 218 | 45104-3537060-90 | Кран тормозной обратного действия с ручным управлением ДРМ 60А |
Содержащиеся в справочниках-каталогах запасные части и детали не предлагаются к продаже, а носят исключительно информационный характер