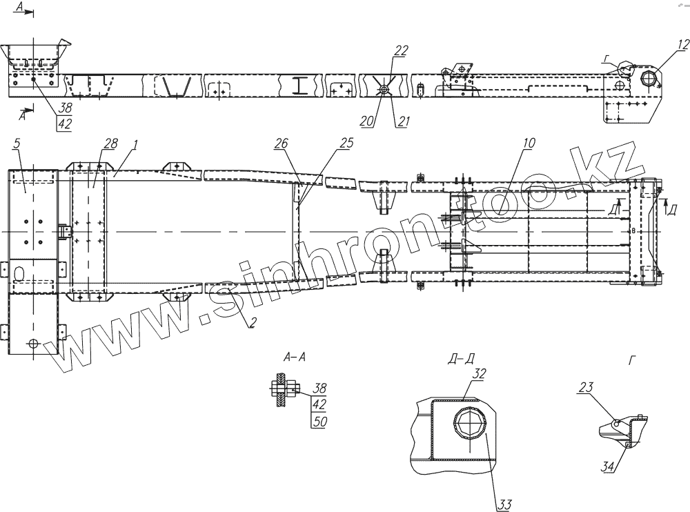
Каталог запасных частей к технике: Камский автозавод 65201. 65201-8601010СБ Надрамник
1
2
5
10
12
20
21
22
23
25
26
28
32
33
34
38
38
42
42
50
| Позиция на иллюстрации | Заводской номер детали | Название детали | |
|---|---|---|---|
| 1 | 65201-8601020СБ | Лонжерон надрамника правый | |
| 2 | 65201-8601021СБ | Лонжерон надрамника левый | |
| 5 | 65201-8601065СБ | Поперечина №1 | |
| 10 | 65201-8601095СБ | Усилитель надрамника | |
| 12 | 65201-8601112СБ | Труба оси опрокидывания | |
| 20 | 65201-8510061 | Втулка | |
| 21 | 65201-8510071 | Косынка | |
| 22 | 65201-8510072 | Косынка | |
| 23 | 53605-8510236 | Кронштейн крепления пружины | |
| 25 | 65201-8601042 | Поперечина №3 | |
| 26 | 65201-8601043 | Усилитель | |
| 28 | 65201-8601075 | Поперечина №2 | |
| 32 | 65201-8601091 | Поперечина задняя | |
| 33 | 6522-8505053 | Кронштейн | |
| 34 | 42112-3724193 | Скоба | |
| 38 | 1/14083/21 | Болт М14х1,5-6gх35 | |
| 42 | 251648 | Гайка М14х1,5-6Н ОСТ 37.001.197-75 | |
| 45 | 1/21640/11 | Гайка М14х1,5-6Н | |
| 50 | 1/05171/77 | Шайба 14 пружинная |
Содержащиеся в справочниках-каталогах запасные части и детали не предлагаются к продаже, а носят исключительно информационный характер