Вернуться на главную
Поиск
Каталоги запчастей к технике
Грузовые автомобили и прицепы
Камский автозавод
65115 (Евро-3)
5322-2912012 Рессора задняя
Каталог запасных частей к технике: Камский автозавод 65115 (Евро-3). 5322-2912012 Рессора задняя
zoom-in
zoom-out
enlarge
shrink
circle-right
circle-left
file-text2
info
cart
Тип техники
Не выбрано
Легковые автомобили
Грузовые автомобили и прицепы
Автобусы
Сельхозтехника
Спецтехника
Двигатели
Мототехника
Марка
Не выбрано
BAW
DAF
DongFeng
FAW
Foton
HOWO
Hyundai
IVECO
JAC Motors
LGMG
MAN
Shaanxi
SITRAK
Studebaker
Tata
Volvo
Автокомпонент Плюс
БелАЗ
Брянский Арсенал
ГАЗ
ЗИЛ
КАЗ
Камский автозавод
КрАЗ
Мадара
МАЗ
МЗКТ
МоАЗ
Нефтекамский автозавод
Ставропольский Завод АвтоПрицепов
ТАТРА
Тонар
УралАЗ
ЧМЗАП
Модель
Не выбрано
4308 (2004)
4308 (2008)
4308 (Евро 3) (2013)
4308 (Евро 4) (2012)
4308-C4 (2019)
4308-C4 (2019)
4308-H3 (2019)
4308-R4 (2019)
4310
4310
43101
43114
43118 (2002)
43118 (Евро 4) (2012)
43253 (Часть-1) (2011)
43253 (Часть-2) (2011)
43253, 43255 (Евро-4) (2012)
43255 (Евро-2) (2012)
43255 (Евро-3) (2012)
4326 (2001)
4326 (2003г)
43261 (Евро-1, 2) (2007)
4350 (4х4) (2004)
43501 (4х4) (2007)
43502 (Евро 4) (2013)
45141 (2009)
45142 (2009)
45143 (2009)
5308 (Евро 3) (2012)
5308 (Евро 4) (2013)
5315
5320
53212
53228, 65111 (2004)
53229 (Евро 2) (2010)
5350 (6х6) (2004)
53501 (6х6) (2007)
53504 (6х6) (2007)
5360
53605 (Евро-4) (2013)
5410
54112
5460
5460 (2005)
5490 (2016)
55102
5511 (2003)
6350 (8х8) (2004)
63501 (8х8) (2007)
6450 (8х8) (2007)
6460
6460 (Евро 3, 4) (2013)
6460 (Евро 4) (2013)
65111 (2008)
65111 (Евро 4) (2012)
65115 (2001)
65115 (2009)
65115 (Евро-3) (2013)
65115, 65116 (Евро-4) (2010)
65116 (2006)
6520
6520 (Euro-2, 3) (2009)
6520 (Euro-4) (2012)
6520 (Euro-4) (2016)
65201 (2007)
65201 Евро 2-3 (2016)
6522 (2005)
6522 (Euro-2, 3) (2009)
6522 (Евро-4) (2016)
65226 (2009)
65226 (2013)
6540
KNORR-BREMSE применяемых на технике Камского автозавода
Общий (5320, 53212, 5410, 54112, 5511, 55102)
Самосв. установка 6520 (2011)
Схема
>
Не выбрано
65115-1000263 Агрегат силовой, укомплектованный для установки на автомобиль
65115-1000263-60 Агрегат силовой, укомплектованный для установки на автомобиль
65115-1000251-18 Агрегат силовой, укомплектованный для установки на автомобиль
65115-1000252-18 Агрегат силовой, укомплектованный для установки на автомобиль
740.62-1000300-60 Агрегат силовой
740.62-1000300-95 Агрегат силовой
740.62-1000400-90 Двигатель с оборудованием
53229-1001005-10 Установка силового агрегата
65116-1001005-01 Установка силового агрегата
65115-1001005-03 Установка силового агрегата
65115-1001000 Установка кронштейнов силового агрегата
65116-1001000 Установка кронштейнов силового агрегата
65115-1001000-03 Установка опор силового агрегата
53229-1001015 Кронштейн передней опоры
5320-1001062-10 Башмак задней опоры силового агрегата
7406.1002003 Установка картера агрегатов
7406.1002320 Картер агрегатов
7406.1029115 Шестерня ведущая
7406.1029125 Ось ведущей шестерни
740.37-1029170 Корпус манжеты
740.63-1002004-10 Установка картера маховика
740.63-1002310-10 Картер маховика
740.13-1002010 Блок цилиндров
740.21-1002011 Блок цилиндров
740.1002080 Заглушка водяной полости
740.1003035 Втулка с кольцами
740.21-1003000 Установка головок цилиндра и механизма газораспределения
740.30-1003010 Головка цилиндра с клапанами
740.30-1003014 Головка цилиндра
740.1003434 Заглушка с кольцом
7406.1007091 Стойка коромысел
7406.1007140 Коромысло клапана
740.21-1006010 Распределительный вал
7482.1006036 Корпус подшипника распределительного вала с втулкой
740.60-1004010-40 Поршень с шатуном и кольцами
740.1004045 Шатун
740.60-1004120 Установка форсунки охлаждения поршня
740.62-1005007 Установка коленчатого вала
740.62-1005008 Коленчатый вал
7406.1005031 Шестерня коленчатого вала
740.21-1005059-10 Установка гасителя крутильных колебаний и полумуфты отбора мощности
740.62-1005060 Установка шкива коленчатого вала
740.60-1005100 Установка маховика и фиксатора
740.50-1005115-10 Маховик
740.50-1005116 Маховик
740.1005440 Фиксатор маховика
740.62-1005200 Установка привода отбора мощности переднего
740.62-1005500 Привод агрегатов
820.01-1002260 Крышка блока цилиндров передняя
740.63-1002260 Крышка блока цилиндров передняя
7406.1005250 Корпус подшипника
740.62-1005535 Вал отбора мощности
7406.1008000 Установка газопровода
4308-1009001 Установка деталей крепления указателя уровня масла
7406.1009001 Установка картера масляного
740.1009048-30 Трубка указателя уровня
740.11-1009050-01 Указатель уровня в сборе
740.11-1011001 Установка масляного насоса
740.11-1011005 Масляный насос с маслозаборником
740.11-1011010 Масляный насос с шестерней
740.11-1011014-02 Насос масляный
740.11-1011016-01 Крышка с клапаном
740.11-1011019-01 Крышка масляного насоса
740.1011018-50 Корпус насоса
740.1011030-50 Шестерня ведомая масляного насоса
7406.1011398 Маслозаборник
7406.1012001-30 Установка фильтра и теплообменника
740.20-1012006 Фильтр масляный с теплообменником
740.20-1013200-10 Теплообменник масляный
740.60-1013200 Теплообменник масляный
740.60-1013210, 740.20-1013210 Сердцевина
7406.1012010 Фильтр очистки масла
7406.1012015 Корпус масляного фильтра
740.20-1012068 Колпак масляного фильтра
740.50-1014100 Установка системы вентиляции
65115-1015265 Бачок топливный
740.63-1022800-90 Установка магнитного клапана и штифтовых факельных свечей
740.63-1022800-94 Установка магнитного клапана и штифтовых факельных свечей
7406.1022860 Клапан с кронштейном и трубкой
740.50-1022860 Клапан с кронштейном и трубкой
65115-1080010-62 Установка шумоизоляционного экрана силового агрегата нижнего
43225-1080010 Установка шумоизоляционного экрана силового агрегата нижнего
65115-1080010-50 Капотирование нижнего моторного отсека
65116-1100030 Установка топливного бака
53215-1101010-05 Бак топливный
53215-1103001 Установка крышки топливного бака
65116-1105010 Установка фильтра грубой очистки топлива и топливопроводов
43255-1105030 Установка фильтра грубой очистки топлива и топливопроводов
43255-1105068 Установка фильтра грубой очистки топлива и топливопроводов
65117-1105030 Установка фильтра грубой очистки топлива и топливопроводов
5297-1108002 Установка педали электронного управления подачей топлива
6560-1108002 Управление подачей топлива
6520-1109001-30 Установка воздушного фильтра
6520-1109003-30 Установка воздухоочистителя мультициклонного
6520-1109005 Воздухоочиститель с кронштейнами
7405.1109510 Фильтр воздушный
65115-1109001-10 Установка воздушного фильтра
65115-1109003-40 Установка воздухозаборника
65115-1109001-75 Установка воздушного фильтра
65115-1109003-75 Установка воздухозаборника
65115-1109005-75 Воздухозаборник с кронштейном
7405.1109510-07 Фильтр воздушный
7405.1109557 Элемент фильтрующий с предочистителем
5308-1170000 Установка системы охлаждения наддувочного воздуха
65115-1170000 Установка системы охлаждения наддувочного воздуха
65115-1170002 Установка системы охлаждения наддувочного воздуха
65116-1104000-90 Установка топливопроводов
740.30-1111045 Корпус заднего подшипника
740.63-1121010-90 Шестерня, ведомая привода ТНВД
740.63-1104000-91 Установка топливопроводов
740.63-1104000-94 Установка топливопроводов
740.51-1117010 Фильтр тонкой очистки топлива
740.1117029 Пружина
6520-1109048 Установка тройника
6520-1109049 Тройник
740.63-1111000-90 Установка ТНВД
740.63-1111000-94 Установка ТНВД
740.63-1111005-90 ТНВД с фланцем и полумуфтой ведомой
740.63-1111005-94 ТНВД с фланцем и полумуфтой ведомой
740.37-1111050 Вал привода ТНВД
7482.1111050 Вал привода ТНВД
740.30-1112000-90 Установка форсунки
740.63-1115000-10 Установка системы впуска
7406.1115012-40 Коллектор впускной правый
7406.1115014-40 Коллектор впускной левый
7406.1115030-20 Патрубок соединительный
7406.1115045-40 Патрубок объединительный
7406.1115110-20 Тройник
7406.1115122-10 Труба подводящая
740.30-1118000 Установка турбокомпрессоров на двигатель
7406.1118010 Турбокомпрессор
7405.1118018 Корпус подшипников с ротором
7405.1118020 Корпус подшипников с подшипниками
7405.1118080 Ротор с колесом компрессора
65115-1200007 Установка системы выпуска
65116-1200002 Установка системы выпуска
43255-1200003 Установка системы выпуска
54115-1300023-29 Установка радиатора
65115-1300023-20 Установка радиатора
65115-1300023-28 Установка радиатора
7406.1303002 Установка водяных труб
7406.1303100-10 Труба водяная правая
7406.1303101-10 Труба водяная левая
740.11-1303005 Установка корпуса водяных каналов
740.62-1303005 Установка корпуса водяных каналов
740.11-1303010 Корпус водяных каналов
740.60-1303010 Корпус водяных каналов
740.20-1303013 Крышка с пробкой
740.30-1317570 Фланец крепления датчика включения вентилятора с пробкой
740.63-1307005 Установка водяного насоса
740.63-1307010 Насос водяной
740.62-1308005-10 Установка вентилятора с вязкостной муфтой
43085-1308005 Установка вентилятора с вязкостной муфтой
65115-1308005-09 Установка вентилятора с вязкостной муфтой
54115-1311005-10 Установка расширительного бачка
65115-1311005-28 Установка бачка расширительного
65115-1311005-60 Установка бачка расширительного
5320-1311060 Пробка расширительного бачка
4308-1311010 Бачок расширительный
740.65-1307500 Установка привода агрегатов переднего
65115-1580004-62 Установка шумоизоляционного экрананижнего КПП
43255-1580004 Установка шумоизоляционного экрана нижнего КПП
20.1600010 Сцепление
21.1600010 Сцепление
65115-1600006-18 Установка педали и привода выключения сцепления
65117-1600006 Установка педали и привода выключения сцепления
65115-1600006-19 Установка педали и привода выключения сцепления
65117-1600006-19 Установка педали и привода выключения сцепления
5460-1602008 Педаль сцепления с кронштейном и главным цилиндром
6460-1602010 Педаль сцепления
5320-1602510-10 Главный цилиндр управления сцеплением
5320-1602560 Бачок главного цилиндра привода сцепления
5320-1602568 Толкатель
65117-1609010 Установка пневмогидравлического усилителя
65117-1609010-19 Установка пневмогидравлического усилителя
65117-1609010-20 Установка пневмогидравлического усилителя
154.1700005-10 Установка коробки передач
65115-1700005-30 Установка коробки передач
65115-1700005 Установка коробки передач на двигатель
154.1700051-20 Коробка передач с делителем, управлением и деталями сцепления
154.1700150 Коробка передач
154.1701010 Картер коробки передач
154.1701025 Вал первичный коробки передач
154.1701026 Вал первичный коробки передач с зубчатой муфтой и втулкой
154.1701027 Вал первичный коробки передач с зубчатой муфтой
14.1701039 Крышка подшипника первичного вала
154.1701070 Крышка заднего подшипника промежуточного вала
154.1701047 Вал промежуточный
154.1701100 Вал вторичный
154.1701201 Крышка заднего подшипника вторичного вала
14.1702010 Механизм переключения передач
14.1702013 Крышка коробки передач верхняя
14.1702026 Вилка переключения 2-ой и 3-ей передач
14.1702031 Вилка переключения 4-ой и 5-ой передач
154.1703005-20 Привод управления механизмом переключения передач
65115-1703005-30 Установка привода управления механизмом переключения передач
65115-1703005-40 Установка привода управления механизмом переключения передач
142.1703204 Опора рычага переключения передач с рычагом и краном управления
154.1703204-20 Опора рычага переключения передач
4308-1703204 Опора рычага переключения передач
142.1703362 Серьга со втулкой
154.1703520 Тяга реактивная в сборе
6460-1703520 Тяга реактивная
65115-1703325-40 Тяга
154.1770010-20 Делитель передач с управлением
154.1770030 Картер делителя передач с втулками
154.1770040 Вал первичный делителя передач
154.1770210 Вал промежуточный делителя передач
15.1771010 Механизм переключения делителя передач
15.1771050 Поршень с манжетами
15.1771110 Валик вилки мезанизма переключения с рычагом
15.1772010 Воздухораспределитель механизма переключения
15.1772100 Редукционный клапан управления механизмом переключения
154.1772005 Установка пневмопривода управлением переключения передач
53205-2200001-10 Установка карданных валов
65115-2200001-70 Установка карданных валов
53205-2201011-10 Вал карданный заднего моста
53205-2201017-10 Вал карданный с шарниром
53205-2201020 Шарнир приварной
53205-2201026-10 Крестовина карданного вала
53205-2201050 Вилка скользящая с шарниром
53205-2205011-10 Вал карданный среднего моста
53205-2205017-10 Вал карданный с шарниром
53205-2205020 Шарнир приварной
53205-2205026-10 Крестовина карданного вала
53205-2205050 Вилка скользящая с шарниром
65115-2400025-10 Мост задний
65115-2400025-50 Мост задний
65115-2400065-10 Мост задний
65115-2401006 Картер моста с механизмом блокировки
65115-2401007 Картер моста с механизмом блокировки
43081-2401114 Сапун
53205-2402011-10 Передача главная заднего моста
65115-2402011-50 Передача главная заднего моста
53205-2402015 Картер редуктора заднего моста
53205-2402021 Вал ведущий заднего моста
65115-2402021 Вал ведущий заднего моста
5320-2402048 Стакан подшипников
54115-2402050 Крышка стакана подшипников
65115-2402050 Крышка стакана подшипников
5320-2402108 Стакан подшипников
5320-2402064-10 Шестерня ведомая коническая
65115-2402064-50 Шестерня ведомая коническая
53229-2403011-10 Дифференциал заднего моста
65115-2403011-50 Дифференциал заднего моста
53212-2403054 Сателлит дифференциала заднего моста с втулкой
55102-2409016 Вилка блокировки
65115-2411020 Привод блокировки межколесных дифференциалов
65115-2411030 Привод блокировки межколесных дифференциалов
65115-2500025-10 Мост средний
65115-2500025-50 Мост средний
65115-2500065-10 Мост средний
53205-2502011-10 Передача главная среднего моста
65115-2502011-10 Передача главная среднего моста
65115-2502011-50 Передача главная среднего моста
5320-2502012 Шестерня ведущая коническая
54115-2502208 Крышка подшипника
53205-2506010 Дифференциал межосевой
65115-2506010 Дифференциал межосевой
5320-2506026 Крышка подшипника
53212-2506054 Сателлит межосевого дифференциала с втулкой
53205-2506054 Сателлит межосевого дифференциала с втулкой
5320-2509010 Механизм блокировки
65115-2511021 Привод блокировки межколесного дифференциала
5320-2511060 Кран включения блокировки
5320-2511066 Шток
65115-2800010-31 Рама
65115-2800010-41 Рама
65115-2800010-55 Рама
65115-2800010-61 Рама
5320-2800016 Установка кронштейнов
65115-2801003-55 Установка поперечины нижней
65115-2803003 Установка переднего буфера
65115-2804003 Установка заднего буфера
55111-2804003-10 Установка заднего буфера
65111-2804003 Установка заднего буфера
5410-2806040 Установка буксирной проушины
65115-2900001-10 Установка передней подвески
65115-2902012-15 Рессора передняя
65115-2902012-20 Рессора передняя
5511-2900002 Установка задней подвески
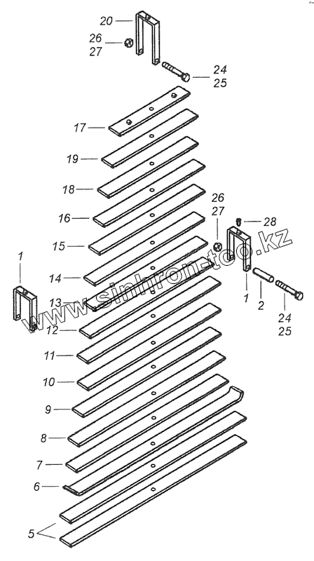
5322-2912012 Рессора задняя
5322-2912012-02 Рессора задняя
65115-2918050 Кронштейн балансира с осью и со стяжкой
65115-2918052 Кронштейн балансира с осью
55111-2918068 Башмак рессоры с втулками и чашкой
55111-2918070 Башмак рессоры с втулками
5320-2919080 Штанги реактивные с кронштейном и рычагами
5320-2919088-30 Кронштейн верхних реактивных штанг
630-2919012-10 Штанга реактивная
630-2919012-11, 630-2919012-12 Штанга реактивная
65115-3000012-13 Ось передняя с тормозами
65115-3000015 Ось передняя
53205-3001012-10 Кулак поворотный
65115-3101002-50 Установка передних дисковых колес
65115-3101003-50 Установка сдвоенных дисковых колес
65115-3101011-50 Колесо 7,5-20 с шиной
65115-3103010 Ступица переднего колеса с барабаном тормоза
65115-3104010 Ступица заднего колеса с барабаном тормоза
65115-3104010-20 Ступица заднего колеса с барабаном тормоза
53229-3105010 Держатель запасного колеса
53229-3105010-50 Держатель запасного колеса
6520-3400002-19 Установка рулевого колеса
6520-3400006-19 Установка круиз-контроля
4310-3400012 Установка рулевого механизма
6520-3400004-19 Установка колонки рулевого управления
65115-3400014-19 Установка колонки рулевого управления
53205-3400018-10 Установка трубопроводов
65115-3400018-19 Установка трубопроводов
65115-3400019-19 Установка насоса ГУР и бачка насоса ГУР
5308-3400019-10 Установка бачка и насоса ГУР
4310-3400020 Механизм рулевой
4310-3401010 Картер механизма рулевого управления
4310-3401063 Вал сошки с крышкой
4310-3401710 Редуктор угловой механизма рулевого управления
4310-3401716 Корпус углового редуктора механизма рулевого управления
4310-3401720 Крышка корпуса с манжетами
4310-3401736 Шестерня ведущая углового редуктора с корпусом
4310-3401750 Шестерня ведомая углового редуктора
6520-3406014-19 Установка крана регулировки рулевой колонки
740.30-3407005 Установка насоса рулевого усилителя
4310-3407200-20 Насос гидроусилителя руля
4310-3407200-21 Насос рулевого усилителя
4310-3407201-02 Насос гидроусилителя руля
4310-3407212 Крышка насоса рулевого усилителя
53212-3407270 Клапан перепускной насоса гидроусилителя рулевого управления
4310-3407338-10 Фильтр насоса гидроусилителя руля
4310-3414010 Тяга сошки рулевого упраления
5320-3414052 Тяга рулевой трапеции
65115-3422010-19 Вал карданный
53205-3422012 Шарнир карданный
65115-3422014-19 Шарнир с втулкой
6520-3444075-19 Колонка рулевого управления с кронштейном
6520-3444008-19 Колонка рулевого управления
6520-3444010-19 Колонка рулевого управления
53205-3500006-75 Установка пневмотормозов
53229-3500006-17 Установка пневмотормозов
65115-3500006-13 Установка пневмотормозов
43114-3500011-17 Установка осушителя
53229-3500013-37 Установка воздушных ресиверов
6520-3500014 Установка двухсекционного тормозного крана
5320-3500015-10 Установка четырехконтурного защитного клапана
5320-3500018-10 Установка ускорительного клапана
5410-3500022-10 Установка клапана управления тормозами прицепа
54112-3500033 Установка регулятора тормозных сил
53205-3500037-22 Установка кабелей АБС
53205-3500037-41 Установка кабелей АБС
53205-3500037-45 Установка кабелей АБС
53205-3500042-41 Установка модуляторов АБС
5320-3500062-10 Установка двухмагистрального клапана
53205-3500070-03 Тормоз вспомогательный и его привод
65115-3500070-82 Тормоз вспомогательный и его привод
65115-3501011-22 Тормоз передний
53229-3501090-40 Колодка тормоза с накладками
6540-3502011-22 Тормоз задний левый
5320-3502012-10 Суппорт заднего тормоза
53205-3506042-41 Установка пневмоуправления системой АБС
43118-3506180 Установка охладителя
65115-3506180-82 Установка охладителя
5308-3509000 Установка подвода воздуха к компрессору тормозов
65115-3509000-01 Установка подвода воздуха к компрессору тормозов
7406.3509003 Установка компрессора
740.30-3509004 Установка компрессора
53205-3509015 Компрессор
53205-3509018 Картер компрессора
53205-3509039 Головка цилиндра с крышкой
53205-3509088 Крышка задняя в сборе
53205-3509154 Поршень в сборе
16-3513110 Кран слива конденсата
5320-3514108 Кран тормозной двухсекционный с педалью
100-3514108-10 Кран тормозной двухсекционный
16-3515310 Клапан контрольного вывода
53205-3515400-10 Клапан защитный четырехконтурный
16-3515510 Кран экстренного растормаживания
53205-3515510 Кран экстренного растормаживания
100-3518010-10 Клапан ускорительный
100-3537010 Кран тормозной обратного действия
100-3537110 Кран аварийного растормаживания в сборе
53205-3541110 Датчик скорости с кронштейном
6460-3570014-10 Корпус вспомогательного тормоза с заслонкой
65115-3570014 Корпус вспомогательного тормоза с заслонкой
53205-3570205 Пневмоцилиндр вспомогательного тормоза - Auxiliary brake air cylinder
53205-3570210 Цилиндр пневматический ф35х65
100-3570210 Цилиндр управления заслонкой в сборе
65115-3700011-14 Электрооборудование. Расположение на автомобиле
65115-3700011-22 Электрооборудование. Расположение на автомобиле
65115-3700011-24 Электрооборудование. Расположение на автомобиле
65115-3700011-25 Электрооборудование. Расположение на автомобиле
65115-3700011-28 Электрооборудование. Расположение на автомобиле
65115-3700012-94 Светотехника на автомобиле
65115-3700012-85 Светотехника на автомобиле
65116-3700001-15 Электрооборудование. Расположение на автомобиле.
65115-3700014 Установка кнопки управления АЦС
740.51-3701002 Установка генератора
740.60-3701001-30 Установка генератора
43253-3703001-35 Установка аккумуляторных батарей
740.50-3708005 Установка стартера
65115-3710001-69 Установка выключателей
6520-3710001-95 Установка выключателей
6520-3710001-97 Установка выключателей
65228-3710002 Установка выключателя коробки отбора мощности
4308-3710004-30 Установка выключателя аккумуляторной батареи
53215-3711001 Установка фар и передних указателей поворота
53205-3714001-10 Установка плафонов
53205-3714003 Установка плафона освещения вещевого ящика
5320-3715001 Установка подкапотной лампы
53215-3716002 Установка задних фонарей
55111-3716002-64 Установка задних фонарей
54112-3716006 Установка фонаря заднего хода
54112-3716007 Установка фонаря заднего противотуманного
53215-3718001-85 Установка электромеханического корректора
5320-3721001-10 Установка звуковых электрических сигналов
4308-3722001-30 Установка предохранителей
53602-3722002 Установка блока предохранителей
43114-3723003-70 Установка розеток прицепа
53205-3723005 Установка розетки переносной лампы
740.63-3724010 Установка жгута проводов
740.61-3724010 Установка жгута проводов
53215-3726001 Установка бокового повторителя указателей поворота
54115-3731001 Установка боковых габаритных фонарей на переднем крыле
5320-3737001-01 Установка малогабаритного выключателя массы
53205-3738001 Установка фонарей автопоезда
5425-3738002 Установка габаритных фонарей
6520-3740001 Установка блока управления ЭФУ
65115-3741004-50 Установка электрооборудования системы подогрева топлива
65115-3741004-60 Установка электрооборудования системы подогрева топлива
65228-3741001 Установка электрооборудования подогревателя
65228-3741060 Установка таймера
65115-3741008 Установка оборудования обогрева зеркал
65115-3741300 Установка контактора подогревателя воздуха
65115-3741300-01 Установка контактора подогревателя воздуха
4308-3747001-50 Установка реле
53215-3759001 Установка преобразователя напряжения
740.62-3800001 Установка датчиков на двигатель
740.62-3800001-10 Установка датчиков на двигателе
740.62-3800001-50 Установка датчиков на двигателе
740.62-3800002 Установка датчиков на коробку передач
740.55-3800002 Установка датчиков на коробке передач
65115-3803001 Установка контрольных ламп
4308-3805001-42 Установка щитка приборов
5308-3805001 Установка щитка приборов
5308-3805010 Щиток приборов
53205-3830002 Установка датчиков аварийного давления воздуха
4308-3830005 Установка датчиков указателя давления воздуха
65201-3859001-40 Установка электрооборудования АБС
4308-4011037 Установка датчика педали сцепления
6520-4011035 Установка индикации на щитке приборов
5460-4071003 Установка проводов на шасси
5460-4071004 Установка проводов на кабине
6520-4011033 Установка переключателей на панели приборной
6520-4011040 Установка выключателя моторного тормоза
6520-4012002 Установка реле
5460-4071014 Установка электронных блоков управления
65115-4012001 Установка предохранителей
5460-4071010 Установка жгута промежуточного на кабине
53205-5000006-30 Установка кабины с оперением
53205-5000006-62 Установка кабины с оперением
43255-5000006-40 Установка кабины с оперением
5411 5-5000003 Переднее крепление и механизм уравновешивания кабины
65115-5000003 Переднее крепление и механизм уравновешивания кабины
43255-5000012-40 Кабина
53205-5000012-62 Кабина
53205-5000014-30 Кабина с дверями окрашенная
54105-5000014 Кабина с дверями окрашенная
54115-5000075 Установка ремней безопасности
65115-5000079 Установка механизма опрокидывания кабины
54115-5000120 Установка сидений
65115-5001006 Установка задней подвески кабины
5320-5001010 Кронштейн переднего крепления кабины верхний
5320-5001080 Рессора кабины
43114-5002051-10 Установка ограничителя подъема кабины
4310-5003010-20 Гидроцилиндр
43114-5003014 Гидроцилиндр МОК
4310-5003014 Цилиндр опрокидывающего механизма кабины
4310-5003010 Гидроцилиндр
4310-5003038 Поршень
6520-5205001 Установка стеклоочистителя
6520-5208004 Установка омывателя
6560-5300023-10 Установка панели приборов
5320-5301047 Панель передка боковая съемная левая
6522-5325160 Установка поручней панели приборов
53229-5614200 Установка шумоизоляционного экрана
65115-5614200-30 Установка шумоизоляционного экрана
55111-5614200 Установка шумоизоляционного экрана
53205-5713008 Установка вентиляционного люка крыши
53205-6100005 Установка стекол и арматуры двери левой
53205-6100014 Дверь правая
53205-6100015 Дверь левая
53205-6104011/010 Стеклоподъемник двери
53205-6104030 Механизм стеклоподъемника двери
5320-6105020-10/021-10 Замок двери правый/левый
5320-6105035-10 Фиксатор замка левый
5320-6105080/81 Привод замка двери правый/левый в сборе
5320-6105150 Ручка двери наружная в сборе
5320-6106083 Ограничитель двери
6460-6540001 Установка системы автоматической централизованной смазки
54115-6800900 Схема подключения сидения водителя к пневмосистеме
53205-6830010 Сиденье пассажирское с ящиком
53605-8100005 Установка системы отопления
4308-8100005 Установка системы отопления кабины
5320-8102030 Сопло обдува ветрового стекла
5320-8105160 Кран отопления
4308-8109020 Привод управления отоплением
5320-8118027 Улитка вентилятора с распределителем левая
5320-8118069 Колесо рабочее с электродвигателем
54115-8106001 Установка подогревателя 14ТС-01
53205-8106002-15 Установка подогревателя 15.8106
54115-8106002-60 Установка топливного бачка и топливопроводов подогревателя 14 ТС
65116-8106002-30 Установка топливного бачка и топливопроводов подогревателя 14ТС
43255-8106003-10 Установка топливного бачка, топливопроводов и подогревателя 14 ТС
5320-8105010 Кран сливной
5320-8105015 Пробка крана
5460-8201002 Установка зеркал заднего вида
5320-8204011\10 Козырек противосолнечный с обивкой левый\правый
43118-8212008-01 Установка боковых заводских знаков
65115-8212180 Установка маркировки светоотражающей на кабине
65115-8212291-55 Установка знаков двигателя
65115-8212291-86 Установка знаков двигателя
53205-8213005 Установка надоконной полки и противосолнечных козырьков
65115-8212291-86 Установка знаков двигателя
53205-8213005 Установка надоконной полки и противосолнечных козырьков
54115-8213005 Установка надоконных полок и противосолнечных козырьков
5320-8400012 Установка оперения кабины
6520-8400006-20 Установка оперения кабины
53205-8401010 Панель облицовочная
63501-8401009 Установка облицовочной панели
65115-8403010-05 Установка задней части переднего крыла правая
65115-8403011-05 Установка задней части переднего крыла левая
5320-8406010-01 Замок панели
5320-8406100 Личинка замка панели
5320-8407011 Петля облицовочной панели левая
53205-8410003-23 Установка боковой защиты
65117-8410003-51 Установка боковой защиты
65115-8415011 Обтекатель
65115-8416007 Нижний пояс «Рестайлинг». Условная сборочная единица.
65115-8416010-50 Установка облицовки буфера
65115-8405009-50 Установка подножек левая
65115-2700010-10 Установка подрамника и сцепных устройств
65117-2707001 Установка тягово-сцепного устройства
65115-4202005-30 Установка коробки отбора мощности с насосом
1
1
2
5
6
7
8
9
10
11
12
13
14
15
16
17
18
19
20
24
24
25
25
26
26
27
27
28
Позиция на иллюстрации
Заводской номер детали
Название детали
1
5322-2912060
Хомут
2
5320-2912068
Втулка распорная
5
5322-2912101
Лист №1 задней рессоры
6
4310-2912103
Лист №3 задней рессоры
7
55111-2912104-01
Лист №4 задней рессоры
8
5322-2912105
Лист задней рессоры
9
5322-2912106
Лист задней рессоры
10
5322-2912107
Лист задней рессоры
11
5322-2912108
Лист задней рессоры
12
55111-2912108-01
Лист №8 задней рессоры
13
55111-2912109-01
Лист №9 задней рессоры
14
55111-2912110-01
Лист №10 задней рессоры
15
55111-2912111-01
Лист №11 задней рессоры
16
55111-2912112-01
Лист №12 задней рессоры
17
4310-2912112
Лист № 12 задней рессоры
18
5322-2912114
Лист №14 задней рессоры
19
5322-2912115
Лист №15 задней рессоры
20
5322-2912149
Хомут стяжной
24
БолтМ10х1,25-6gx120.88.016
Болт М10х1,25-6gx120.88.016
25
1/59722/21
Болт М10х1,25-6gх120
26
ГайкаМ10x1,25-61-1.6.016
Гайка М10x1,25-61-1.6.016
27
1/21647/11
Гайка М10х1,25-6Н
28
Заклепка12x35
Заклепка 12x35
Содержащиеся в справочниках-каталогах запасные части и детали не предлагаются к продаже, а носят исключительно информационный характер
Дополнительная информация
×
Название:
Номер:
Примечание: