Каталог запасных частей к технике: Камский автозавод 65115. 65115-8600003-20 СПГ Опрокидывающее устройство
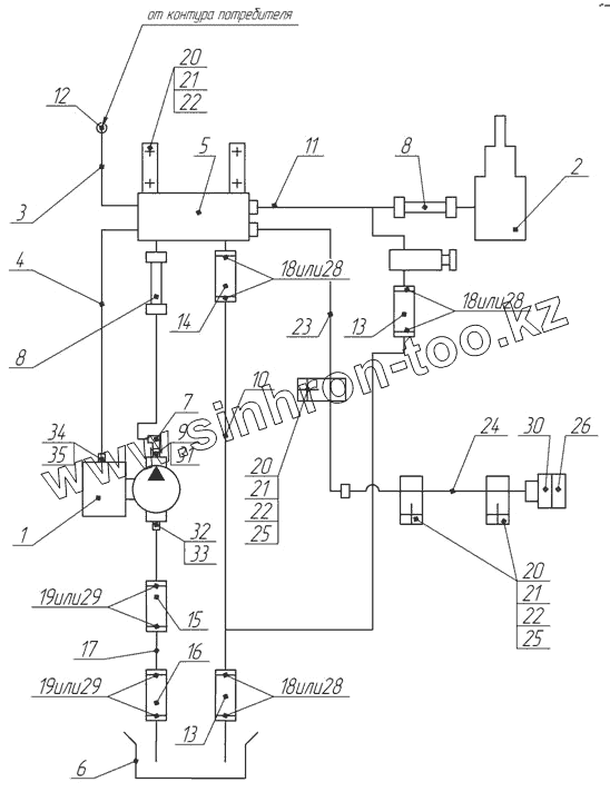
1
2
3
4
5
6
7
8
8
9
10
11
12
13
13
14
15
16
17
18
18
18
19
19
20
20
20
21
21
21
22
22
22
23
24
25
25
26
28
28
28
29
29
30
31
32
33
34
35
| Позиция на иллюстрации | Заводской номер детали | Название детали | |
|---|---|---|---|
| 1 | MEILLER 265/1 | Насос | |
| 2 | 65111-8603001 | Установка гидроцилиндра | |
| 3 | 55111-8606015 | Трубка подвода воздуха | |
| 4 | 65115-8606020 | Трубка подвода воздуха | |
| 5 | 65115-8607220 | Блок управления | |
| 6 | 65115-8608001 | Установка бака масляного | |
| 7 | 6520-8609137-06 | Угольник поворотный | |
| 8 | 55102-8609090 | Рукав высокого давления в сборе | |
| 9 | 65115-8609112 | Штуцер | |
| 10 | 65115-8609152 | Труба низкого давления | |
| 11 | 65115-8609170-01 | Труба высокого давления | |
| 12 | 864919 | Тройник проходной | |
| 13 | 5511-8609116 | Рукав | |
| 14 | 5511-8609117 | Рукав | |
| 15 | 5511-8609120-10 | Рукав длина 80 | |
| 16 | 5511-8609121 | Рукав длина 260 | |
| 17 | 65115-8609130 | Труба низкого давления | |
| 18 | СБИТ 305419.003-21 | Хомут стяжной (20-35)х9 СБИТ 305419.003ТУ | |
| 19 | СБИТ 305419.004-20 | Хомут стяжной (35-50)х13 СБИТ 305419.003ТУ | |
| 20 | 1/59707/21 | Болт М10х1,25-6gх25 | |
| 21 | 1/21647/11 | Гайка М10х1,25-6Н | |
| 22 | 1/05168/73 | Шайба 10 пружинная | |
| 23 | 65115-8609180-10 | Труба высокого давления | |
| 24 | 65115-8609182-10 | Труба высокого давления | |
| 25 | 18.8609228 | Скоба | |
| 26 | 18.8609260 | Заглушка | |
| 28 | TORRO 25-40/12-C7W1 | Хомут с червячной резьбой DIN 3017 | |
| 29 | TORRO 32-50/12-C7W1 | Хомут с червячной резьбой | |
| 30 | УЗ.4581-77178412-1 | Корпус запорного устройства левый | |
| 31 | 019-022-19-2-2 | Кольцо | |
| 32 | 65115-8609111 | Патрубок | |
| 33 | 041-045-25-2-3 | Кольцо | |
| 34 | 65115-8606113-01 | Штуцер | |
| 35 | 1/02984/60 | Прокладка 12,2х18х1,5 |
Содержащиеся в справочниках-каталогах запасные части и детали не предлагаются к продаже, а носят исключительно информационный характер