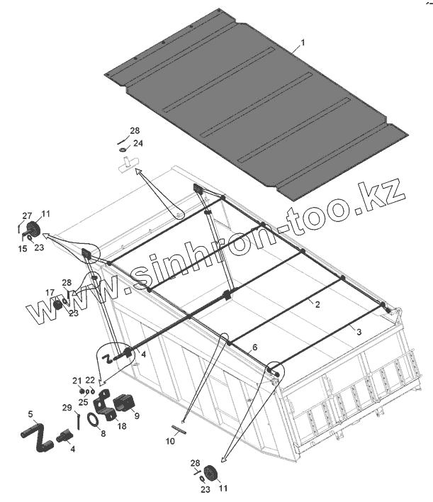
Каталог запасных частей к технике: Камский автозавод 65115. 65115-8508010 Установка тента
1
1
2
3
4
4
5
6
8
9
10
11
11
15
17
18
21
22
23
23
23
24
25
27
28
28
28
29
| Позиция на иллюстрации | Заводской номер детали | Название детали | |
|---|---|---|---|
| 1 | 65115-8508020-10 | Тент платформы | |
| 1 | 65115-8508020 | Тент платформы | |
| 2 | 65115-8508030 | Направляющая тента | |
| 3 | 65115-8508040 | Направляющая тента задняя | |
| 4 | 65115-8508070 | Вал каната в сборе | |
| 5 | 65115-8508080 | Рукоятка в сборе | |
| 6 | 65115-8508090 | Канат в сборе | |
| 8 | 65115-3105371 | Шайба | |
| 9 | 65115-8508017 | Вкладыш | |
| 10 | 65115-8508018 | Втулка ограничительная | |
| 11 | 65115-3105235-80 | Блок | |
| 15 | 5511-3105063 | Ось | |
| 17 | 55112-3105235 | Блок | |
| 18 | 55102-8524352 | Скоба подшипника | |
| 21 | 1/21647/11 | Гайка М10х1,25-6Н | |
| 22 | 1/26386/01 | Шайба плоская 10,6х18х2 | |
| 23 | 1/05201/01 | Шайба плоская 14,8х26х3 | |
| 24 | 1/05202/01 | Шайба плоская 16,8х28х3 | |
| 25 | 1/05168/70 | Шайба 10 пружинная | |
| 27 | 1/07336/01 | Шплинт 3х25 | |
| 28 | 1/07969/01 | Шплинт 3,7х25 | |
| 29 | 1/07350/01 | Шплинт 4,7х50 |
Содержащиеся в справочниках-каталогах запасные части и детали не предлагаются к продаже, а носят исключительно информационный характер