Вернуться на главную
Поиск
Каталоги запчастей к технике
Грузовые автомобили и прицепы
Камский автозавод
65111 (Евро 4)
5350-3506170 Установка охладителя
Каталог запасных частей к технике: Камский автозавод 65111 (Евро 4). 5350-3506170 Установка охладителя
zoom-in
zoom-out
enlarge
shrink
circle-right
circle-left
file-text2
info
cart
Тип техники
Не выбрано
Легковые автомобили
Грузовые автомобили и прицепы
Автобусы
Сельхозтехника
Спецтехника
Двигатели
Мототехника
Марка
Не выбрано
BAW
DAF
DongFeng
FAW
Foton
HOWO
Hyundai
IVECO
JAC Motors
LGMG
MAN
Shaanxi
SITRAK
Studebaker
Tata
Volvo
Автокомпонент Плюс
БелАЗ
Брянский Арсенал
ГАЗ
ЗИЛ
КАЗ
Камский автозавод
КрАЗ
Мадара
МАЗ
МЗКТ
МоАЗ
Нефтекамский автозавод
Ставропольский Завод АвтоПрицепов
ТАТРА
Тонар
УралАЗ
ЧМЗАП
Модель
Не выбрано
4308 (2004)
4308 (2008)
4308 (Евро 3) (2013)
4308 (Евро 4) (2012)
4308-C4 (2019)
4308-C4 (2019)
4308-H3 (2019)
4308-R4 (2019)
4310
4310
43101
43114
43118 (2002)
43118 (Евро 4) (2012)
43253 (Часть-1) (2011)
43253 (Часть-2) (2011)
43253, 43255 (Евро-4) (2012)
43255 (Евро-2) (2012)
43255 (Евро-3) (2012)
4326 (2001)
4326 (2003г)
43261 (Евро-1, 2) (2007)
4350 (4х4) (2004)
43501 (4х4) (2007)
43502 (Евро 4) (2013)
45141 (2009)
45142 (2009)
45143 (2009)
5308 (Евро 3) (2012)
5308 (Евро 4) (2013)
5315
5320
53212
53228, 65111 (2004)
53229 (Евро 2) (2010)
5350 (6х6) (2004)
53501 (6х6) (2007)
53504 (6х6) (2007)
5360
53605 (Евро-4) (2013)
5410
54112
5460
5460 (2005)
5490 (2016)
55102
5511 (2003)
6350 (8х8) (2004)
63501 (8х8) (2007)
6450 (8х8) (2007)
6460
6460 (Евро 3, 4) (2013)
6460 (Евро 4) (2013)
65111 (2008)
65111 (Евро 4) (2012)
65115 (2001)
65115 (2009)
65115 (Евро-3) (2013)
65115, 65116 (Евро-4) (2010)
65116 (2006)
6520
6520 (Euro-2, 3) (2009)
6520 (Euro-4) (2012)
6520 (Euro-4) (2016)
65201 (2007)
65201 Евро 2-3 (2016)
6522 (2005)
6522 (Euro-2, 3) (2009)
6522 (Евро-4) (2016)
65226 (2009)
65226 (2013)
6540
KNORR-BREMSE применяемых на технике Камского автозавода
Общий (5320, 53212, 5410, 54112, 5511, 55102)
Самосв. установка 6520 (2011)
Схема
>
Не выбрано
53501-1000250-50 Агрегат силовой
740.622-1000302-30 Агрегат силовой
65115-1001000-30 Установка кронштейнов силового агрегата
53229-1001005-10 Установка силового агрегата
740.70-1002004-40 Установка картера маховика
740.70-1002310-40 Картер маховика
740.70-1029115 Шестерня ведущая
740.70-1002010 Блок цилиндров
740.70-1002011 Блок цилиндров
740.1002080 Заглушка водяной полости
740.1003035 Втулка с кольцами
740.90-1003000 Установка головок цилиндра и механизма газораспределения
740.90-1003010 Головка цилиндра с клапанами
740.90-1003014 Головка цилиндра
740.1003434 Заглушка с кольцом
7406.1007091 Стойка коромысел
7406.1007140 Коромысло клапана
740.21-1006010 Распределительный вал
7482.1006036 Корпус подшипника распределительного вала
740.60-1004000-96 Установка цилиндропоршневой группы
740.60-1004010-42 Поршень с шатуном и кольцами
740.1004045 Шатун
740.60-1004065 Установка форсунки охлаждения поршня
820.70-1005007 Установка коленчатого вала
820.70-1005008 Вал коленчатый
7406.1005031 Шестерня коленчатого вала
740.21-1005059-10 Установка гасителя крутильных колебаний и полумуфты отбора мощности
740.60-1005100-20 Установка маховика
740.50-1005115-10 Маховик
740.1005440-10 Фиксатор маховика
740.70-1005200 Установка привода отбора мощности переднего
740.70-1005500-10 Привод агрегатов
740.63-1002260-10 Крышка блока цилиндров передняя
7406.1005250 Корпус подшипника
740.62-1005535 Вал отбора мощности
740.60-1008000-10 Установка газопровода
7406.1009001-01 Установка картера масляного
740.60-1011001-10 Установка маслянного насоса
740.60-1011005-20 Насос масляный с маслозаборником
740.60-1011010 Масляный насос с шестерней
740.21-1011014-02 Насос масляный
740.11-1011016-01 Крышка с клапаном
740.11-1011019-01 Крышка масляного насоса
740.1011018-51 Корпус насоса
740.1011030-51 Шестерня ведомая масляного насоса
7406.1011398-20 Маслозаборник
740.90-1012001 Установка фильтра и теплообменника
740.1002080 Заглушка водяной полости
740.90-1012006 Фильтр масляный с теплообменником
7406.1012010 Фильтр очистки масла
7406.1012015 Корпус масляного фильтра
740.20-1012068 Колпак масляного фильтра
740.90-1013200 Теплообменник маслянный
740.63-1014100 Установка системы вентиляции
740.70-1022800 Установка магнитного клапана
740.70-1022860-10 Клапан с кронштейном, штуцером и трубкой
65111-1100068-10 Установка топливного бака
53215-1101010-05 Бак топливный
53215-1103001-20 Установка крышки топливного бака
740.70-1104000 Установка топливопроводов
65115-1104004-70 Установка топливопроводов
65111-1105005 Установка фильтра грубой очистки топлива
65115-1109001-10 Установка воздушного фильтра
6520-1109003-30 Установка воздухозаборника
6520-1109048-20 Установка тройника
740.90-1111000 Установка ТНВД
740.90-1111005-10 Редуктор привода ТНВД
740.90-1111010 Корпус редуктора привода ТНВД
740.90-1111020 Крышка редуктора привода ТНВД
740.90-1111030-10 Вал редуктора привода ТНВД
740.90-1111040-10 Колесо редуктора привода ТНВД
740.90-1112000 Установка форсунки
740.90-1115000-10 Установка системы впуска
740.90-1115012-20 Коллектор впускной правый
740.90-1115014-10 Коллектор впускной левый
740.63-1115030-20 Патрубок соединительный
7406.1115045-40 Патрубок объединительный
7406.1115110-20 Тройник
7406.1115122-10 Труба подводящая
740.602-1118000-10 Установка турбокомпрессора
7406.1118010 Турбокомпрессор
7405.1118018 Корпус подшипников с ротором
7405.1118020 Корпус подшипников с подшипниками
7405.1118080 Ротор с колесом компрессора
65111-1200004 Установка системы выпуска
65115-1203035-10 Коробка переключения газов
5350-1300023-50 Установка блока охлаждения
7406.1303002 Установка водяных труб
7406.1303100-10 Труба водяная правая
740.63-1303005-30 Установка корпуса водяных каналов
740.63-1303010-30 Корпус водяных каналов с термостатами
740.63-1307005 Установка водяного насоса
740.63-1307010 Насос водяной
740.65-1307500 Установка привода агрегатов переднего
740.62-1308010-20 Установка вентилятора
65222-1311005 Установка расширительного бачка
5320-1311060 Пробка расширительного бачка
6520 — 1311100 Крышка наливной горловины
740.30-1317005 Установка электромагнитной муфты
740.30-1317500-01 Муфта электромагнитная привода вентилятора
740.30-1317510-02 Шкив со ступицей вентилятора
740.30-1317520-20 Ступица вентилятора с фрикционным диском
65117-1600006-19 Установка педали и привода сцепления
21.1600010 Сцепление
5460-1602008 Педаль сцепления с кронштейном и главным цилиндром
6460-1602010 Педаль сцепления
5320-1602510-10 Главный цилиндр управления сцеплением
5320-1602560 Бачок главного цилиндра привода сцепления
154.1700005-10 Установка коробки передач
154.1700051-20 Коробка передач с делителем
154.1700150 Коробка передач
154.1701010 Картер коробки передач
154.1701025 Вал первичный коробки передач
154.1701026 Вал первичный коробки передач
154.1701027 Вал первичный коробки передач
14.1701039-50 Крышка подшипника первичного вала
154.1701047 Вал промежуточный
154.1701070 Крышка заднего подшипника промежуточного вала
154.1701100 Вал вторичный
154.1701201 Крышка заднего подшипника вторичного вала
14.1702010 Механизм переключения передач
14.1702013 Крышка коробки передач верхняя
14.1702026 Вилка переключения 2-ой и 3-ей передач
14.1702031 Вилка переключения 4-ой и 5-ой передач
142.1702200 Опора рычага переключения передач
142.1702208 Опора рычага переключения передач
154.1703005-20 Привод управления механизмом переключения передач
154.1703204-20 Опора рычага переключения передач
142.1703362 Серьга со втулкой
154.1703520 Тяга реактивная в сборе
154.1770010-20 Делитель передач с управлением
154.1770030 Картер делителя передач с втулками
154.1770040 Вал первичный делителя передач
154.1770210 Вал промежуточный делителя передач
15.1771010 Механизм переключения делителя передач
15.1771050 Поршень с манжетами
15.1771110 Валик вилки мезанизма переключения
154.1772005 Установка пневмопривода переключения передач
15.1772100 Редукционный клапан управления механизмом переключения
65111-1800008 Установка крепления раздаточной коробки
65111-1800020 Коробка раздаточная с коробкой отбора мощности
65111-1802010 Картер раздаточной коробки
65111-1802024 Вал первичный раздаточной коробки
65111-1802027-10 Крышка переднего подшипника первичного вала
65111-1802084-10 Вал промежуточный раздаточной коробки
65111-1802104-10 Крышка заднего подшипника промежуточного вала
65111-1802150-10 Дифференциал раздаточной коробки - Transfer case differential
65111-1802155-10 Обойма дифференциала раздаточной коробки
65111-1802160-10 Обойма дифференциала раздаточной коробки
65111-1802168 Ступица шестерни низшей передачи с втулкой
65111-1802212-10 Крышка заднего подшипника привода заднего моста
65111-1802230-10 Картер привода переднего моста
65111-1802117-10 Крышка переднего подшипника привода переднего моста
65111-1803010 Механизм включения низшей передачи
65111-1803022 Шток включения низшей передачи раздаточной коробки
4310-1804010 Кран управления раздаточной коробкой
4310-4204010 Коробка отбора мощности
4310-4204080 Крышка стакана
4310-4204360 Камера включения коробки отбора мощности
5350-2200001-10 Установка карданных валов
53205-2201011-10 Вал карданный заднего моста
53205-2201017-10 Вал карданный с шарниром
53205-2201050 Вилка скользящая с шарниром
53205-2201026-10 Крестовина карданного вала
65111-2202011-10 Вал карданный основной
53205-2201011-10 Вал карданный заднего моста
53205-2205011-10 Вал карданный среднего моста
65111-2300024-50 Мост передний
65111-2302010-50 Передача главная переднего моста
65111-2302021 Вал ведущий переднего моста
65111-2303010-50 Дифференциал переднего моста
4310-2304012 Опора шаровая поворотного кулака
4310-2304029 Корпус поворотного кулака правый
53228-2304081 Цапфа поворотного кулака левая
65111-2400065-60 Мост задний
65111-2401006 Картер моста заднего с механизмом блокировки
55102-2409016 Вилка блокировки
43081-2401114 Сапун
65115-2402011-60 Передача главная заднего моста
53205-2402015 Картер редуктора заднего моста
53205-2402076 Крышка подшипника
53205-2402021 Вал ведущий заднего моста
5320-2402048 Стакан подшипников
53205-2402050 Крышка стакана подшипников
65115-2402064-60 Шестерня ведомая коническая
5320-2402108 Стакан подшипников
65115-2403011-60 Дифференциал заднего моста
53212-2403054 Сателлит дифференциала заднего моста
65111-2500067-60 Мост средний
43118-2502014-60 Передача главная среднего моста
54115-2402050 Крышка стакана подшипников
54115-2502208 Крышка подшипника
5320-2511060 Кран включения блокировки
5320-2511066 Шток
65115-2700010-10 Установка подрамника и сцепных устройств
65111-2800010-51 Рама
5320-2800016 Установка кронштейнов
65115-2801003-55 Установка поперечины нижней
65111-2804003 Установка заднего буфера
53228-2900001-10 Установка передней подвески
4925-2902012-10 Рессора передняя
43114-2902020 Ушко с втулкой
65115-2906070 Кронштейн стабилизатора
53228-2900002-10 Установка задней подвески
65111-3101002 Установка передних колес
65115-3101003-50 Установка сдвоенных дисковых колес
65115-3101011-50 Колесо 7,5-20 с шиной
65111-3103010 Ступица переднего колеса с барабаном тормоза
65115-3104010-20 Ступица заднего колеса с барабаном тормоза
65115-3105010-50 Установка запасного колеса
6520-3400002-19 Установка рулевого колеса
6520-3400006-19 Установка круиз-контроля
4310-3400012 Установка рулевого механизма
4310-3400020 Механизм рулевой
4310-3401010 Картер механизма рулевого управления
4310-3401063 Вал сошки с крышкой
4310-3401710 Редуктор угловой механизма рулевого управления
4310-3401716 Корпус углового редуктора механизма рулевого управления
4310-3401720 Крышка корпуса с манжетами
4310-3401736 Шестерня ведущая углового редуктора
4310-3401750 Шестерня ведомая углового редуктора
4310-3414010 Тяга сошки рулевого упраления
6520-3400004-19 Установка колонки рулевого управления
6520-3406014-19 Установка крана регулировки рулевой колонки
65115-3422010-19 Вал карданный
53205-3422012 Шарнир карданный
65115-3422014-19 Шарнир с втулкой
6520-3444075-19 Колонка рулевого управления с кронштейном
6520-3444008-19 Колонка рулевого управления
6520-3444010-19 Колонка рулевого управления
4310-3414052 Тяга рулевой трапеции
4310-3407005 Установка насоса рулевого усилителя
6540-3407200 Насос рулевого усилителя
4310-3407201-02 Насос гидроусилителя руля
6540-3407212 Крышка насоса рулевого усилителя
4310-3407270-02 Клапан перепускной
6540-3407338 Фильтр насоса гидроусилителя руля
5460-3500080-05 Установка пневмопривода в кабине
5350-3500013-04 Установка воздушных ресиверов
6540-3502011-22 Тормоз задний левый
5320-3502012-10 Суппорт заднего тормоза
53229-3501090-40 Колодка тормоза с накладками
5511 -3502121 -10 Кронштейн тормозной камеры и разжимного кулака
53229-3502001 Комплект регулировочного рычага с кронштейном левый
5350-3506001 Установка управления тормозами передней оси
65111-3506002-01 Установка управления тормозами задней тележки
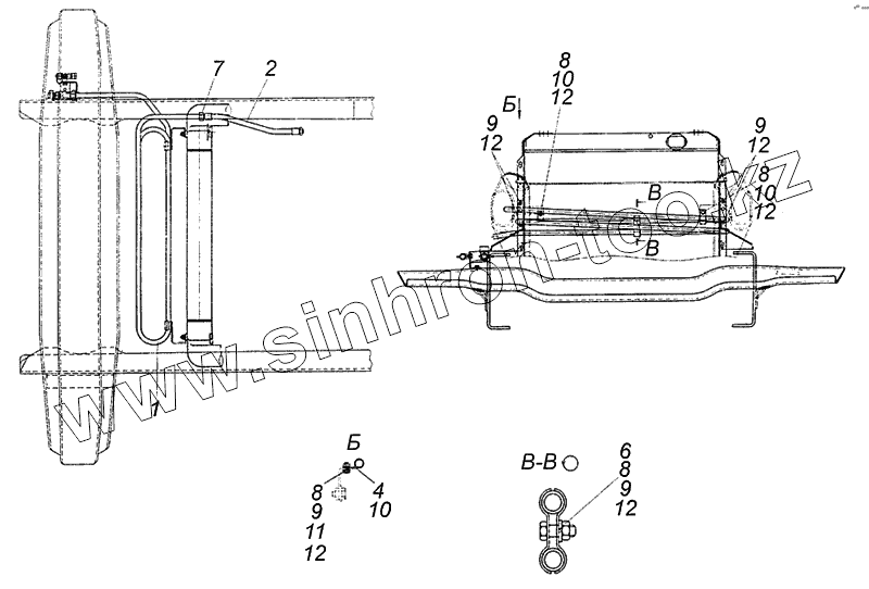
5350-3506170 Установка охладителя
7406.3509003-03 Установка компрессора
53205-3509015-20 Компрессор
53205-3509018 Картер компрессора
53205-3509039-20 Головка цилиндра с крышкой
53205-3509088 Крышка задняя в сборе
53205-3509154 Поршень в сборе
740.30-3509004-03 Установка компрессора
7406.3509003-13 Установка компрессора
43255-3511001 Блок подготовки воздуха
63501-3513001 Блок ресиверов
5350-3513005 Блок ресиверов с гнездом АКБ
5350-3518010 Блок управления тормозами задней тележки
5350-3518012 Блок управления тормозами второго контура
53205-3541110 Датчик скорости с кронштейном
65115-3542005-80 Блок передних модуляторов АБС
740.60-3701001-10 Установка генератора
53228-3703001-85 Установка аккумуляторных батарей
740.60-3708005 Установка стартера и фиксатора
65111-3710001-11 Установка выключателей
65228-3710002 Установка выключателя коробки отбора мощности
5308-3710004 Установка выключателя аккумуляторной батареи
6520-3711001-10 Установка блок-фар
53205-3714001-10 Установка плафонов
53205-3714003 Установка плафона освещения вещевого ящика
5320-3715001 Установка подкапотной лампы
65115-3716002-80 Установка задних фонарей
6520-3718001 Установка блока управления корректором фар
5320-3721001-10 Установка звуковых электрических сигналов
4308-3722001-30 Установка предохранителей
65115-3722002 Установка блока предохранителей
43114-3723003-70 Установка розеток прицепа
53205-3723005 Установка розетки переносной лампы
740.70-3724050 Установка блока управления
5480-3726001-10 Установка бокового повторителя указателя поворота
43118-3731001 Установка боковых габаритных фонарей
4310-3737001-01 Установка малогабаритного выключателя массы
53205-3738001 Установка фонарей автопоезда
5425-3738002 Установка габаритных фонарей
6520-3740001 Установка блока управления ЭФУ
65111-3741016-70 Установка электрооборудования системы подогрева топлива
65115-3741017 Установка оборудования обогрева зеркал
65115-3741018 Установка электрооборудования обогрева зеркал
65117-3743001 Установка противотуманных фар
4308-3747001-54 Установка реле
5308-3741001 Установка электрооборудования подогревателя
740.62-3800001-55 Установка заглушек
740.55-3800002-10 Установка датчиков на коробку передач
5308-3805001 Установка щитка приборов
4308-3830005 Установка датчиков указателя давления воздуха
43114-3830002 Установка датчиков аварийного давления воздуха
6520-4000010-74 Система управления двигателем
5350-4000012-11 АБС. Расположение на автомобиле
4308-4012004-10 Установка выключателя диагностики АБС
4308-4011034-15 Установка переключателей на панели выключателей
65115-5000003 Переднее крепление и механизм уравновешивания кабины
53205-5000014 Кабина с дверями окрашенная
65111-5000079-10 Установка механизма опрокидывания кабины
5460-5000121 Установка сиденья водителя
5460-5000122 Установка сиденья пассажира
5460-5000123 Установка среднего сиденья
65115-5001006 Установка задней подвески кабины
43114-5002051-10 Установка ограничителя подъема кабины
65115-5003079 Установка гидроцилиндра кабины
65115-5004079-70 Установка насоса и трубопроводов
65115-5206005 Установка ветровых стекол
6520-5205001 Установка стеклоочистителя
6520-5208004 Установка омывателя
6560-5300023-10 Установка панели приборов
6522-5325160 Установка поручней панели приборов
53205-5310001 Установка ручки передка
55111-5614200 Установка шумоизоляционного экрана
53205-5713008 Установка вентиляционного люка крыши
65115-6100005 Установка стекол и арматуры двери
53205-6104011/010 Стеклоподъемник двери
53205-6104030 Механизм стеклоподъемника двери
5320-6105020-10/021-10 Замок двери правый/левый
5320-6105035-10 Фиксатор замка левый
5320-6105080/81 Привод замка двери правый/левый в сборе
5320-6105150 Ручка двери наружная в сборе
5320-6106083 Ограничитель двери
65115-6108005 Установка косынок передка и ограничителя открывания двери
54115-6800900-02 Схема подключения пневмосистемы сидений
4308-8100006 Установка системы отопления
5350-8106002 Установка топливного бачка и топливопроводов подогревателя
5320-8118027 Улитка вентилятора с распределителем левая
5320-8118069 Колесо рабочее с электродвигателем
43118-8403008-30 Установка задней части переднего крыла правая
65115-8405020 Установка подножки дополнительной
65111-8410003-10 Установка боковой защиты
65115-8405009-50 Установка подножек левая
65115-8416010-50 Установка облицовки буфера
1
2
4
6
7
8
8
8
8
9
9
9
9
10
10
10
11
12
12
12
12
12
12
Позиция на иллюстрации
Заводской номер детали
Название детали
1
5350-3506192-04
Трубка
2
6520-3506060
Шланг гибкий соединительный
4
53205-3506221
Втулка трубки
6
53205-3506441
Скоба
7
53205-3506452
Штуцер проходной
8
1/60434/21
Болт М8-6gх20
9
1/61008/11
Гайка М8х1,25-6Н
10
864411-01
Хомут
11
1/05196/01
Шайба плоская 8х17
12
1/05166/77
Шайба 8 пружинная
Содержащиеся в справочниках-каталогах запасные части и детали не предлагаются к продаже, а носят исключительно информационный характер
Дополнительная информация
×
Название:
Номер:
Примечание: