Вернуться на главную
Поиск
Каталоги запчастей к технике
Грузовые автомобили и прицепы
Камский автозавод
6460 (Евро 4)
5308-3722001 Установка силовых предохранителей
Каталог запасных частей к технике: Камский автозавод 6460 (Евро 4). 5308-3722001 Установка силовых предохранителей
zoom-in
zoom-out
enlarge
shrink
circle-right
circle-left
file-text2
info
cart
Тип техники
Не выбрано
Легковые автомобили
Грузовые автомобили и прицепы
Автобусы
Сельхозтехника
Спецтехника
Двигатели
Мототехника
Марка
Не выбрано
BAW
DAF
DongFeng
FAW
Foton
HOWO
Hyundai
IVECO
JAC Motors
LGMG
MAN
Shaanxi
SITRAK
Studebaker
Tata
Volvo
Автокомпонент Плюс
БелАЗ
Брянский Арсенал
ГАЗ
ЗИЛ
КАЗ
Камский автозавод
КрАЗ
Мадара
МАЗ
МЗКТ
МоАЗ
Нефтекамский автозавод
Ставропольский Завод АвтоПрицепов
ТАТРА
Тонар
УралАЗ
ЧМЗАП
Модель
Не выбрано
4308 (2004)
4308 (2008)
4308 (Евро 3) (2013)
4308 (Евро 4) (2012)
4308-C4 (2019)
4308-C4 (2019)
4308-H3 (2019)
4308-R4 (2019)
4310
4310
43101
43114
43118 (2002)
43118 (Евро 4) (2012)
43253 (Часть-1) (2011)
43253 (Часть-2) (2011)
43253, 43255 (Евро-4) (2012)
43255 (Евро-2) (2012)
43255 (Евро-3) (2012)
4326 (2001)
4326 (2003г)
43261 (Евро-1, 2) (2007)
4350 (4х4) (2004)
43501 (4х4) (2007)
43502 (Евро 4) (2013)
45141 (2009)
45142 (2009)
45143 (2009)
5308 (Евро 3) (2012)
5308 (Евро 4) (2013)
5315
5320
53212
53228, 65111 (2004)
53229 (Евро 2) (2010)
5350 (6х6) (2004)
53501 (6х6) (2007)
53504 (6х6) (2007)
5360
53605 (Евро-4) (2013)
5410
54112
5460
5460 (2005)
5490 (2016)
55102
5511 (2003)
6350 (8х8) (2004)
63501 (8х8) (2007)
6450 (8х8) (2007)
6460
6460 (Евро 3, 4) (2013)
6460 (Евро 4) (2013)
65111 (2008)
65111 (Евро 4) (2012)
65115 (2001)
65115 (2009)
65115 (Евро-3) (2013)
65115, 65116 (Евро-4) (2010)
65116 (2006)
6520
6520 (Euro-2, 3) (2009)
6520 (Euro-4) (2012)
6520 (Euro-4) (2016)
65201 (2007)
65201 Евро 2-3 (2016)
6522 (2005)
6522 (Euro-2, 3) (2009)
6522 (Евро-4) (2016)
65226 (2009)
65226 (2013)
6540
KNORR-BREMSE применяемых на технике Камского автозавода
Общий (5320, 53212, 5410, 54112, 5511, 55102)
Самосв. установка 6520 (2011)
Схема
>
Не выбрано
6520-1000264-13 Агрегат силовой 740.73-400, укомплектованный для установки на автомобиль
5460-1000264-24 Агрегат силовой 740.74-420, укомплектованный для установки на автомобиль
740.73-1000304 Агрегат силовой 740.73-400
740.74-1000300-24 Агрегат силовой 740.74-420
740.73-1000404 Двигатель 740.73-400 с оборудованием
740.74-1000404-10 Двигатель 740.74-420 с оборудованием
65205-1001000 Установка кронштейнов силового агрегата
5460-1001000-63 Установка кронштейнов силового агрегата
65222-1001005 Установка силового агрегата
5460-1001005-63 Установка силового агрегата
5320-1001062-10 Башмак задней опоры силового агрегата
740.70-1002004 Установка картера маховика
740.70(73)-1002010 Блок цилиндров
740.21-1002011 Блок цилиндров
740.63-1002260 Крышка блока цилиндров передняя
740.70-1002310 Картер маховика
740.90-1003000 Установка головок цилиндра и механизма газораспределения
740.90-1003010 Головка цилиндра с клапанами и стойкой коромысел
740.90-1003014 Головка цилиндра
740.60-1004000-96 Установка цилиндропоршневой группы и форсунок охлаждения поршня
740.60-1004010-42 Поршень с шатуном и кольцами
740.1004045 Шатун
740.60-1004065 Установка форсунки охлаждения поршня
740.50-1005007 Установка коленчатого вала
740.50-1005008 Коленчатый вал
7406.1005031 Шестерня коленчатого вала
740.21-1005059-10 Установка гасителя крутильных колебаний и полумуфты отбора мощности
7406.1005060-20 Установка шкива коленчатого вала
740.60-1005100-20 Установка маховика
740.50-1005115-10 Маховик
740.50-1005116 Маховик
740.70-1005200 Установка привода отбора мощности переднего
740.30-1005535 Вал отбора мощности
7406.1005250 Корпус подшипника
740.70-1005500-10 Привод агрегатов
740.21-1006010 Распределительный вал
7406.1007091 Стойка коромысел
7406.1007140 Коромысло клапана
740.74-1008000 Установка газопровода
740.63-1009001-20 Установка картера масляного
740.50-1009048 Трубка указателя уровня с кольцом
740.11-1009050-01 Указатель уровня в сборе
740.60-1011001 Установка масляного насоса
740.60-1011005 Насос масляный с маслозаборником
740.60-1011010 Масляный насос с шестерней
740.11-1011014-02 Насос масляный
740.11-1011016-01 Крышка с клапаном
740.1011018-50 Корпус насоса
740.11-1011019-01 Крышка масляного насоса
740.1011030-50 Шестерня ведомая масляного насоса
7406.1011398 Маслозаборник
740.90-1012001 Установка фильтра и теплообменника
740.90-1012006 Фильтр масляный с теплообменником
7406.1012010 Фильтр очистки масла
7406.1012015 Корпус масляного фильтра
740.20-1012068 Колпак масляного фильтра
740.90-1013200 Теплообменник маслянный
740.63-1014100 Установка системы вентиляции
65115-1015265 Бачок топливный
740.70-1022800 Установка магнитного клапана и штифтовых факельных свечей
740.70-1022860-10 Клапан с кронштейном, штуцером и трубкой
740.65-1029120 Шестерня ведущая
740.30-1029125 Ось ведущей шестерни
6520-1080010-20 Капотирование нижнее моторного отсека
6460-1100068-62 Установка топливных баков и топливопроводов
6460-1102001 -10 Установка кожуха защитного на топливный бак Protection casing on fuel tank installation
740.70-1104000 Установка топливопроводов
65115-1104004-70 Установка топливопроводов
740.70-1104230 Штуцер
6520-1109001-60 Установка воздушного фильтра
6520-1109002-60 Фильтр воздушный в сборе с переходником и патрубком сдатчиком
6520-1109003-60 Установка воздухозаборника
6520-1109400-61 Воздухозаборник с уплотнителем
740.90-1111000 Установка ТНВД
740.90-1111005-10 Редуктор привода ТНВД
740.90-1111010 Корпус редуктора привода ТНВД с подшипником и втулками
740.90-1111020 Крышка редуктора привода ТНВД с подшипником
740.90-1111030-10 Вал редуктора привода ТНВД с подшипниками
740.90-1111040-10 Колесо редуктора привода ТНВД в сборе
740.90-1112000 Установка форсунки
740.74-1115000 Установка системы впуска
740.90-1115012-10 Коллектор впускной правый
740.90-1115014-10 Коллектор впускной левый
740.63-1115030-20 Патрубок соединительный
7406.1115045-40 Патрубок объединительный
7406.1115122-10 Труба подводящая
740.74-1118000 Установка турбокомпрессора на двигатель
740.74-117001 Установка патрубков
6460-1200006 Установка системы выпуска - Exhaust system
5460-1208001 Установка бака нейтрализующей жидкости
5460-1208500-10 Установка насоса дозирующего
5460-1208500-20 Установка насоса дозирующего
5460-1208550-20 Насос дозирующий
6520-1208650-10 Клапан
6520-1208650-20 Клапан
6520-1208650-30 Клапан
6520-1300023-50 Установка блока охлаждения
6460-1300023-50 Установка блока охлаждения
6520-1301005-50 Блок охлаждения
5460-1301500-10 Установка кожуха защитного радиатора
7406.1303002 Установка водяных труб
740.63-1303005-20 Установка корпуса водяных каналов
740.63-1303005-30 Установка корпуса водяных каналов
740.63-1303010-20 Корпус водяных каналов с термостатами
740.63-1303010-30 Корпус водяных каналов с термостатами
7406.1303100-10 Труба водяная правая
6460-1303400 Установка водяных труб теплообменника интардера
5490-1303090 Установка трубы байпасной
740.63-1307005 Установка водяного насоса
740.63-1307010 Насос водяной
740.65-1307500 Установка привода агрегатов переднего
740.74-1308005 Установка вентилятора с вязкостной муфтой
5460-1311005 Установка бачка расширительного
5320-1311060 Пробка расширительного бачка
6520-1311100 Крышка наливной горловины
5460-1580004 Установка нижнего шумоизоляционного экрана КПП
5460-1600006-19 Установка педали и привода выключения сцепления
20.1600010 Сцепление
20.1600010-60 Сцепление
5490-1600300 Установка трубки вентиляции
65205-1600300-10 Установка трубок вентиляции
5460-1602008 Педаль сцепления с кронштейном и главным цилиндром
6460-1602010 Педаль сцепления
5320-1602510-10 Главный цилиндр управления сцеплением
5320-1602560 Бачок главного цилиндра привода сцепления
5320-1602568 Толкатель поршня главного цилиндра
5490-1700005 Установка коробки передач на двигатель
6520-1700005-30 Установка коробки передач на двигатель
6520-1703005-41 Установка привода управления механизмом переключения передач
53602-1703204 Опора рычага переключения передач
6540-1703325-06 Тяга
43085-1703520 Тяга реактивная
6520-1703545-41 Кронштейн с осью и скобой
6460-1772005-04 Установка пневмопривода управлением переключения передач
6460-2200001-42 Установка карданных валов
6460-2200001-43 Установка карданных валов
6520-2201011-11 Вал карданный заднего моста
6520-2201015-10 Вал карданный
6520-2400015-10 Мост задний
6520-2401007 Картер моста заднего с механизмом блокировки
43081-2401114 Сапун
6520-2402011-10 Передача главная заднего моста
6520-2402015 Картер редуктора заднего моста
6520-2402021-10 Шестерня ведущая коническая - Conical driving gear
6520-2402048 Стакан подшипников
6520-2402050-01 Крышка подшипника
6520-2402076 Крышка подшипника
6520-2403011-10 Дифференциал моста заднего
53212-2403054 Сателлит дифференциала заднего моста с втулкой
6520-2405024 Водило с кожухом и сателлитами
6520-2405061 Шестерня ведомая колесной передачи
55102-2409016 Вилка блокировки
6460-2500011-10 Мост средний
6520-2502011-10 Передача главная среднего моста
6520-2502015 Картер редуктора среднего моста
6520-2502050-01 Крышка подшипника
6520-2502208 Крышка подшипника
6520-2503011-10 Дифференциал моста среднего
6520-2506010 Межосевой дифференциал среднего моста
5320-2511060 Кран включения блокировки
6460-2800010-65 Рама
6520-2806040 Установка буксирной вилки
5460-2809001-55 Установка переднего противоподкатного защитного устройства
5460-2900001-55 Установка передней подвески
6460-2900002-10 Установка задней подвески
6460-2912012 Рессора задняя
5460-2902012-15 Рессора передняя
5520-2918068 Башмак рессоры с втулками и манжетой
6520-3000012 Ось передняя с тормозами
6520-3000015 Ось передняя
6520-3001012 Кулак поворотный
6460-3101002 Установка передних стальных колес
65205-3101002 Установка передних колес
6460-3101002-10 Установка передних алюминиевых колес
65205-3101003 Установка сдвоенных колес
6460-3101003 Установка сдвоенных стальных колес
6460-3101003-10 Установка сдвоенных алюминиевых колес
6460-3101011 Колесо 9.0x22.5 стальное с шиной
65205-3101011 Колесо с шиной
6460-3101011-10 Колесо 9,00x22,5 алюминиевое с шиной
6520-3103009 Ступица переднего колеса с барабаном, подшипником и манжетой
6520-3103010 Ступица с тормозным барабаном
6520-3104009 Ступица заднего колеса с манжетами
4308-3400002-19 Установка рулевого колеса
6520-3400004-40 Установка колонки рулевого управления
6520-3400006-19 Установка круиз-контроля
6520-3400012-40 Установка рулевого механизма
65222-3400018-20 Установка трубопроводов ГУР
6520-3401001-40 Механизм рулевой с сошкой
6520-3406014-19 Установка крана регулировки рулевой колонки
6520-3407001-40 Установка насоса рулевого усилителя
6520-3414010-40 Тяга сошки с наконечниками
6520-3414011-40 Тяга с наконечником
6520-3414052 Тяга рулевой трапеции
6520-3414055 Наконечник тяги
6520-3422008-30 Вал карданный
6520-3422010-30 Вал карданный
6520-3422010-31 Вал карданный
6520-3422012-30 Шарнир с корпусом подшипника
6520-3422014-30 Шарнир с втулкой
6520-3444006-30 Колонка рулевого управления с карданным валом
6520-3444008-19 Колонка рулевого управления
6520-3444010-19 Колонка рулевого управления
6520-3444075-19 Колонка рулевого управления с кронштейном
6460-3500006-04 Установка пневмопривода тормозов
6460-3500006-07 Установка пневмопривода тормозов
6460-3500006-08 Установка пневмопривода тормозов - Air brakes installation
6520-3500011 -86 Установка осушителя
6460-3500013-04 Установка ресиверов
6460-3500013-07 Установка ресиверов
6520-3500014-34 Установка двухсекционного тормозного крана
5460-3500080-05 Установка пневмопривода в кабине
6520-3501011-12 Тормоз передний
6520-3501012 Суппорт тормоза
6520-3501090-40 Колодка тормоза с накладками
6520-3501090-41 Колодка тормоза с накладками
6520-3501121 Кронштейн тормозной камеры и разжимного кулака
6520-3502011-12 Тормоз задний
6520-3502128 Кронштейн с втулками
6520-3506001 Установка блока управления тормозами передней оси
6460-3506002 Установка блока управления тормозами задней тележки
65201-3506170-07 Установка охладителя
65201-3506174-07 Охладитель
5460-3506500-05 Установка пневмовыводов к полуприцепу
5460-3506500-72 Установка пневмовыводов к полуприцепу
7406.3509003-05 Установка компрессора
740.30-3509004-01 Установка компрессора
53205-3509015-20 Компрессор
53205-3509018 Картер компрессора
53205-3509039-20 Головка цилиндра с крышкой
53205-3509088 Крышка задняя в сборе
53205-3509154 Поршень в сборе
6520-3511001 Блок подготовки воздуха
6520-3511001-86 Осушитель
6460-3513007-01 Блок ресиверов
6460-3513007-02 Блок ресиверов
6460-3513007-07 Блок ресиверов
6460-3513009-07 Ресивер с фитингами
6460-3513010 Ресивер с фитингами
6460-3513010-01 Ресивер с фитингами
6460-3513010-02 Ресивер с фитингами
65115-3513010-04 Ресивер с фитингами
6460-3513010-07 Ресивер с фитингами
6460-3513010-12 Ресивер с фитингами
6520-3513011-86 Ресивер
5320-3514108 Кран тормозной двухсекционный с педалью
65225-3518010-04 Блок управления тормозами задней тележки
6460-3518010-04 Блок управления тормозами задней тележки
6520-3519500 Тормозная камера тип 30/24
54115-3521110 Головка соединительная автоматическая правая в сборе с трубопроводом спиральным
5460-3531010 Клапан накачки шин и кран экстренного растормаживания
6520-3541110 Датчик скорости с кронштейном
53205-3541109-01 Датчик скорости с втулкой
5460-3542005 Блок модуляторов АБС
6460-3542005 Модуляторы с соединительной арматурой
6460-3542007-05 Блок задних модуляторов АБС
6460-3570009 Клапан электромагнитный с фитингами
6520-3570010 Электромагнитный клапан с фитингами
65115-3570010-04 Корпус вспомогательного тормоза с заслонкой
65115-3570014-04 Корпус вспомогательного тормоза с заслонкой
53205-3570205 Пневмоцилиндр вспомогательного тормоза
53215-3570210 Цилиндр пневматический ф35х65
6460-3700001-57 Электрооборудование. Расположение на автомобиле
6460-3700001-57 Светотехника
53215-3700005 Установка электрооборудования на козырьке
65115-3700014 Установка кнопки управления АЦС
6460-3700060-57 Электрооборудование. Расположение на панели приборов
740.60-3701001-10 Установка генератора
65115-3703001-30 Установка аккумуляторных батарей
740.60-3708005 Установка стартера и фиксатора
65111-3710001-28 Установка выключателей
65116-3710001-30 Установка выключателей
6460-3710001-51 Установка выключателей
6460-3710001-52 Установка выключателей
65228-3710002 Установка выключателя коробки отбора мощности
5308-3710004 Установка выключателя аккумуляторной батареи
65115-3710007 Установка выключателя ЭФУ
53205-3711040 Установка таблички регулировки пучка света фар
6520-3718001 Установка блока управления корректором фар
5320-3721001-10 Установка звуковых электрических сигналов
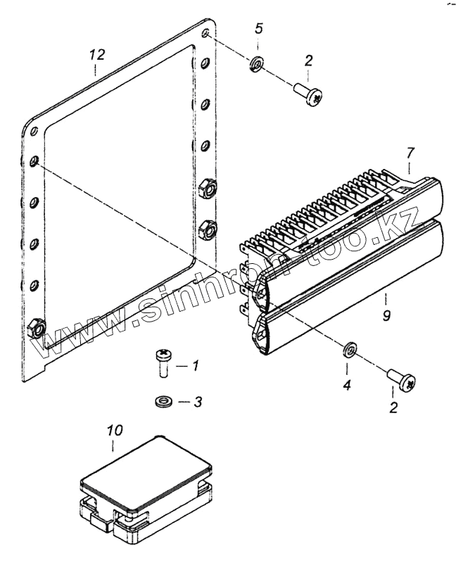
5308-3722001 Установка силовых предохранителей
65115-3722002 Установка блока предохранителей
6460-3723003 Установка розеток прицепа
6460-3723003-10 Установка розеток прицепа
53205-3723005 Установка розетки переносной лампы
5460-3724002-66 Установка проводов на панели приборов
740.70-3724010 Установка жгута проводов
740.70-3724050 Установка блока управления
740.70-3724060 Блок управления в сборе
6540-3737001 Установка выключателя массы
65115-3738002 Установка габаритных фонарей
6520-3740001 Установка блока управления ЭФУ
5308-3741001 Установка электрооборудования подогревателя
5460-3741006-34 Установка электрооборудования воздушного отопителя
5460-3741006-35 Установка электрооборудования воздушного отопителя
65111 -3741016-70 Установка электрооборудования системы подогрева топлива на панели приборов
65115-3741017 Установка оборудования обогрева зеркал
65115-3741018 Установка электрооборудования обогрева зеркал на кабине
5308-3747005 Установка реле и блока управления электрооборудованием
740.62-3800001-55 Установка заглушек
5308-3802001 Пломбировка спидометра
5308-3805001 Установка щитка приборов
53205-3830002 Установка датчиков аварийного давления воздуха
4308-3830005 Установка датчиков указателя давления воздуха
65115-3840001 Установка тахографа
6520-3840002-50 Пломбировка датчика скорости
6520-4000010-74 Система управления двигателем. Расположение на автомобиле
5460-4000011-11 Система управления коробкой передач. Расположение на автомобиле
6460-4000012-11 АБС. Расположение на автомобиле
5460-4000016 Система нейтрализации. Расположение на автомобиле
43253-4000120-10 АБС. Расположение на панели приборов
43253-4000220-10 АБС. Расположение на кабине
65201-5000003 Установка передней подвески кабины
65201-5000007-10 Установка подвески кабины и ограничителя подъема кабины. Условная сборочная единица.
43253-5000012-12 Кабина в сборе с оперением
5460-5000014-82 Кабина с дверями окрашенная
65225-5000014-87 Кабина с дверями окрашенная
6520-5000079-50 Установка механизма опрокидывания кабины
65222-5000090 Установка пробок и заглушек на кабине
5460-5000121 Установка сиденья водителя
5460-5000122 Установка сиденья пассажира
5460-5000123 Установка среднего сиденья
65201-5001006-10 Установка задней подвески кабины
65201-5002051-10 Установка ограничителя подъма кабины
6520-5003179-20 Механизм опрокидывания кабины
53205-5101250 Установка облицовок порогов
5460-5108075 Установка запоров дверок инструментальных ящиков
6520-5205001 Установка стеклоочистителя
65115-5206005 Установка ветровых стекол
65115-5208004 Установка омывателя
6560-5300023-10 Установка панели приборов
53205-5310001 Установка ручки передка
6522-5325160 Установка поручней панели приборов и облицовок стоек
6560-5325300 Щиток нижний с приборами
65115-5603005 Установка стекол окна задка
5460-5614200-70 Установка шумоизоляционного экрана над двигателем
53205-5713008 Установка вентиляционного люка крыши
65115-6100005 Установка стекол и арматуры двери
65115-6102005 Установка обивок двери
65115-6103005 Установка форточек двери
65115-6104005 Установка стеклоподъемников двери
65115-6104011 Стеклоподъемник двери
65115-6104030 Механизм стеклоподъемника двери
5320-6104060 Ручка стеклоподъемника
5320-6105011 Установка замков и ручек двери левая
65115-6105011 Установка замков и ручек двери левая
5320-6105021-10 Замок двери левый
5320-6105035-10 Фиксатор замка левый
5320-6105080 Привод замка двери правый в сборе
5320-6105150 Ручка двери наружная
65115-6108005 Установка косынок передка и ограничителя открывания двери
65115-6110005 Установка опускных стекол
65115-6114005 Установка подлокотников двери
6460-6540001 Установка системы автоматической централизованной смазки
6460-6800900-02 Схема подключения пневмосистемы сидений
54115-6800900-02 Схема подключения пневмосистемы сидений
4308-7900010 Радиооборудование. Расположение на панели приборов
4308-7900020 Радиооборудование. Расположение на кабине
65201-8100005-10 Установка системы отопления
5320-8102030 Сопло обдува ветрового стекла
5320-8105010 Кран сливной
5320-8105160-01 Кран отопления
6520-8106002-93 Установка топливного бачка и топливопроводов подогревателя
6520-8106003-92 Установка жидкостных рукавов
6460-8106004-10 Установка воздушного отопителя
6520-8106005-92 Установка подогревателя и электронасоса
5460-8106008 Установка насоса.топливопроводов отопителя AT2000ST
6460-8106120 Установка воздушного отопителя "Планар-4Д-24"
4308-8109020 Привод управления отоплением
5320-8118027 Улитка вентилятора с распределителем левая
5320-8118069 Колесо рабочее с электродвигателем
6460-8136008 Установка насоса.топливопроводов отопителя «Планар-4Д-24»
5460-8201002-01 Установка зеркал заднего вида
53205-8201229 Кронштейн зеркала нижний
6522-8202005 Установка поручней входа
5460-8207020-10 Установка столика-крышки
6520-8212008-01 Установка заводских боковых знаков
65115-8212180 Установка маркировки светоотражающей на кабине
65115-8212291-14 Установка знаков двигателя
65115-8212291-57 Установка знаков двигателя
53205-8212300 Установка окантовок и уплотнителей
53229-8212410 Установка проблесковых маяков
65115-8213005 Установка надоконных полок
65115-8217005-01 Установка ремня безопасности водителя
65115-8217006-01 Установка ремня безопасности пассажира
65115-8217007-01 Установка ремня безопасности среднего пассажира
43255-8400006-08 Установка оперения кабины
63501-8401009 Установка облицовочной панели
6520-8403010-42 Установка задней части переднего крыла правая
6520-8403011 -42 Установка задней части переднего крыла левая
6460-8404002-70 Установка задних крыльев
5460-8404400-40 Установка настила рамы
5460-8404522-20 Установка поручня
5460-8404522-30 Установка поручня
5460-8405011 Установка подножек левая
65222-8405011 Установка подножек левая
53205-8415002 Установка аэродинамического козырька
6460-8415002-15 Установка козырька солнцезащитного
5460-8416012-10 - Установка облицовки буфера
5460-8416012-50 - Установка облицовки буфера
6460-2700001 -20 Установка седельно-сцепного устройства
6460-2700001-11 Установка седельно-сцепного устройства
6520-4202005 Установка коробки отбора мощности
1
2
2
3
4
5
7
9
10
12
Позиция на иллюстрации
Заводской номер детали
Название детали
1
1/32742/01
Винт М5-6gх16
2
1/32762/01
Винт М6-6gх16
3
1/05193/01
Шайба плоская 5,45х10х1
4
1/26397/01
Шайба регулировочная 6х11х1
5
1/05164/73
Шайба 6 пружинная
7
4573731678
Блок предохранителей БПР-13.04 Ф54.811.000 ТУ
9
45104372201800
Блок предохранителей
10
4573731382
Блок предохранителей 111.3722 ТУ37.003.754-76
12
504308-5325144-10
Кронштейн силовых предохранителей
Содержащиеся в справочниках-каталогах запасные части и детали не предлагаются к продаже, а носят исключительно информационный характер
Дополнительная информация
×
Название:
Номер:
Примечание: