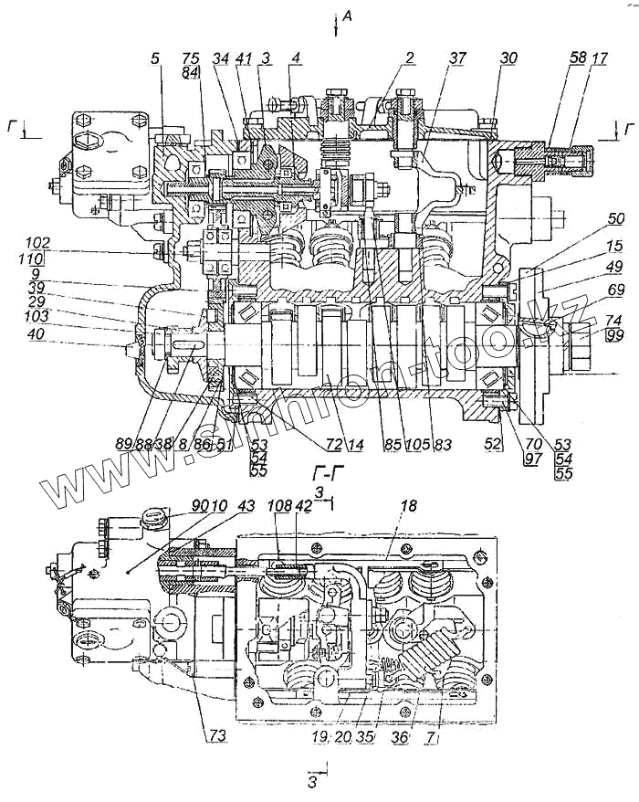
Каталог запасных частей к технике: Камский автозавод 6460. Насос топливный высокого давления
2
3
3
4
5
7
8
9
10
14
15
17
18
19
20
29
30
34
35
36
37
38
39
40
41
42
43
49
50
51
52
53
53
54
54
55
55
58
69
70
72
73
74
75
83
84
85
86
88
89
90
99
102
103
105
108
110
| Позиция на иллюстрации | Заводской номер детали | Название детали | |
|---|---|---|---|
| 337.1111005-20.04 | 337.1111005-20.04 | Насос топливный высокого давления | |
| 1 | 332.1106010 | Топливный насос низкого давления | |
| 2 | 33.1110024 | Крышка регулятора верхняя в сборе | |
| 3 | 333.1110040-20 | Державка грузов регулятора | |
| 4 | 33.1110060 | Муфта регулятора | |
| 5 | 333.1110128-30 | Крышка регулятора задняя | |
| 6 | 333.1110160-32.03 | Рычаги с корректорами | |
| 7 | 33.1110505 | Рычаг стартовой пружины | |
| 8 | 333.1110515-30 | Шестерня регулятора ведущая | |
| 9 | 333.1110670-30 | Шестерня регулятора промежуточная | |
| 10 | 333.1111700-30 | Корректор по наддуву | |
| 12 | 337.1111020-30 | Корпус топливного насоса | |
| 13 | 323.1111039-01 | Секция топливного насоса | |
| 14 | 337.1111050-01 | Вал кулачковый | |
| 15 | 337.1111070-21 | Крышка подшипника кулачкового вала | |
| 16 | 337.1111110 | Толкатель плунжера | |
| 17 | 338.1111140-20 | Клапан перепускной | |
| 18 | 337.1111180 | Рейка правая | |
| 19 | 337.1111181 | Рейка левая | |
| 20 | 33.1111400 | Рычаг реек в сборе | |
| 23 | 33.1106240 | Толкатель | |
| 24 | 236-1106242 | Ролик толкателя | |
| 25 | 33.1106244 | Ось ролика толкателя | |
| 27 | 33.1106248 | Пружина толкателя | |
| 28 | 33.1106285 | Прокладка топливного насоса | |
| 29 | 332.1106352 | Эксцентрик привода топливного насоса | |
| 30 | 33.1110026 | Прокладка верхней крышки регулятора | |
| 31 | 33.1110088 | Ось рычага регулятора | |
| 32 | 33.1110089 | Втулка дистанционная | |
| 34 | 332.1110154-10 | Прокладка задней крышки регулятора | |
| 35 | 332.1110448 | Пружина рычага реек | |
| 36 | 33.1110462-10 | Пружина регулятора | |
| 37 | 33.1110466 | Рычаг пружины | |
| 38 | 33.1110517-10 | Сухарь ведущей шестерни | |
| 39 | 33.1110521 | Фланец ведущей шестерни | |
| 40 | 33.1110656 | Заглушка задней крышки регулятора | |
| 41 | 33.1110684 | Кольцо пружинное упорное | |
| 42 | 333.1110707-30 | Наконечник шпильки | |
| 43 | 333.1110984 | Прокладка корректора | |
| 49 | 337. 11 11 059-01 | Фланец | |
| 50 | 337.1111066 | Полумуфта ведомая | |
| 51 | 337.1111074 | Крышка подшипника задняя | |
| 52 | 337.1111076 | Прокладка | |
| 53 | 78.1111077 | Прокладка | |
| 54 | 78.1111078 | Прокладка | |
| 55 | 78.1111079 | Прокладка | |
| 56 | 33.1111098 | Кожух защитный | |
| 58 | 33.1111306-01 | Заглушка | |
| 60 | 33.1111575 | Пята толкателя | |
| 69 | 320-35001 | Шпонка 6х9 | |
| 70 | 320-88145 | Винт М8х20 | |
| 71 | 320-88150 | Винт М6х43 | |
| 72 | 320-88164 | Винт М8х6g-19 | |
| 73 | 320-88166 | Винт М6х43 | |
| 74 | 320-88337 | Гайка М20х1,5-6Н | |
| 75 | 320-88720 | Шайба 17 | |
| 76 | 320-88727 | Шайба плоская 10х18 | |
| 80 | 870003-П29 | Болт М6-6gх20 | |
| 81 | 870355-П29 | Винт М6-6gх32 | |
| 83 | 870456-П15 | Шайба 16 | |
| 84 | 870614-П2 | Шайба 17 | |
| 85 | 870615-П2 | Шайба 7 | |
| 86 | 870643-П15 | Шайба 21 | |
| 88 | 870800-П | Шпонка | |
| 89 | 870868-П2 | Шайба 15 стопорная | |
| 90 | 870880-П | Пробка М10х1,25-6g | |
| 92 | 870941-П | Заглушка штуцера | |
| 98 | 1/05168/77 | Шайба 10 пружинная | |
| 99 | 1/05174/71 | Шайба пружинная | |
| 102 | 1/07344/01 | Шплинт разводной 2х25 | |
| 103 | 1/07913/11 | Гайка низкая М14х1,5-6Н | |
| 104 | 1/09026/21 | Болт М6-6gх25 | |
| 105 | 1/10877/76 | Шайба стопорная 5х11х0,7 | |
| 106 | 1/11977/71 | Шайба коническая пружинная 6х12 | |
| 107 | 1/21647/21 | Гайка М10х1,25-6Н | |
| 108 | 1/58962/11 | Гайка ЕМ6-6Н | |
| 110 | 1/61056/11 | Гайка М8-6Н |
Содержащиеся в справочниках-каталогах запасные части и детали не предлагаются к продаже, а носят исключительно информационный характер