Вернуться на главную
Поиск
Каталоги запчастей к технике
Грузовые автомобили и прицепы
Камский автозавод
5490
5490-4011101-10 Кронштейн блока коммутации
Каталог запасных частей к технике: Камский автозавод 5490. 5490-4011101-10 Кронштейн блока коммутации
zoom-in
zoom-out
enlarge
shrink
circle-right
circle-left
file-text2
info
cart
Тип техники
Не выбрано
Легковые автомобили
Грузовые автомобили и прицепы
Автобусы
Сельхозтехника
Спецтехника
Двигатели
Мототехника
Марка
Не выбрано
BAW
DAF
DongFeng
FAW
Foton
HOWO
Hyundai
IVECO
JAC Motors
LGMG
MAN
Shaanxi
SITRAK
Studebaker
Tata
Volvo
Автокомпонент Плюс
БелАЗ
Брянский Арсенал
ГАЗ
ЗИЛ
КАЗ
Камский автозавод
КрАЗ
Мадара
МАЗ
МЗКТ
МоАЗ
Нефтекамский автозавод
Ставропольский Завод АвтоПрицепов
ТАТРА
Тонар
УралАЗ
ЧМЗАП
Модель
Не выбрано
4308 (2004)
4308 (2008)
4308 (Евро 3) (2013)
4308 (Евро 4) (2012)
4308-C4 (2019)
4308-C4 (2019)
4308-H3 (2019)
4308-R4 (2019)
4310
4310
43101
43114
43118 (2002)
43118 (Евро 4) (2012)
43253 (Часть-1) (2011)
43253 (Часть-2) (2011)
43253, 43255 (Евро-4) (2012)
43255 (Евро-2) (2012)
43255 (Евро-3) (2012)
4326 (2001)
4326 (2003г)
43261 (Евро-1, 2) (2007)
4350 (4х4) (2004)
43501 (4х4) (2007)
43502 (Евро 4) (2013)
45141 (2009)
45142 (2009)
45143 (2009)
5308 (Евро 3) (2012)
5308 (Евро 4) (2013)
5315
5320
53212
53228, 65111 (2004)
53229 (Евро 2) (2010)
5350 (6х6) (2004)
53501 (6х6) (2007)
53504 (6х6) (2007)
5360
53605 (Евро-4) (2013)
5410
54112
5460
5460 (2005)
5490 (2016)
55102
5511 (2003)
6350 (8х8) (2004)
63501 (8х8) (2007)
6450 (8х8) (2007)
6460
6460 (Евро 3, 4) (2013)
6460 (Евро 4) (2013)
65111 (2008)
65111 (Евро 4) (2012)
65115 (2001)
65115 (2009)
65115 (Евро-3) (2013)
65115, 65116 (Евро-4) (2010)
65116 (2006)
6520
6520 (Euro-2, 3) (2009)
6520 (Euro-4) (2012)
6520 (Euro-4) (2016)
65201 (2007)
65201 Евро 2-3 (2016)
6522 (2005)
6522 (Euro-2, 3) (2009)
6522 (Евро-4) (2016)
65226 (2009)
65226 (2013)
6540
KNORR-BREMSE применяемых на технике Камского автозавода
Общий (5320, 53212, 5410, 54112, 5511, 55102)
Самосв. установка 6520 (2011)
Схема
>
Не выбрано
5490-1001000-07 Установка кронштейнов силового агрегата
5490-1001005-05 Установка силового агрегата
5490-1001205-05 Установка поддерживающей опоры силового агрегата
5490-1080010 Капотирование нижнее моторного отсека
5490-1080090 Установка кронштейнов шумоизоляционного экрана под двигателем
5490-1100070 Установка топливных баков и топливопроводов
65206-1105005-20 Установка фильтра грубой очистки топлива
65207-1109002-10 Установка воздушного фильтра
65207-1109004 Установка воздухопровода
5490-1200004 Установка системы выпуска на автомобиле
5490-1200004-01 Установка системы выпуска на силовом агрегате
5490-1208001-10 Установка бака нейтрализующей жидкости
5490-1208500-10 Установка подающего модуля
5490-1300023-10 Установка блока охлаждения
5490-1301005-10 Блок охлаждения в сборе
5490-1301005-20 Блок охлаждения
5490-1303300-10 Установка элементов системы охлаждения на двигатель
5490-1303400-10 Установка водяных труб теплообменника интардера
5490-1580004-10 Установка шумоизоляционного экрана нижнего коробки передач
5490-1580090-10 Установка кронштейнов шумоизоляционного экрана под коробкой передач
5490-1600006-10 Установка привода выключения сцепления
20.1600010-80 Установка сцепления
5490-1600300-10 Установка трубок вентиляции
0000-1602009 Установка главного цилиндра сцепления
5490-1703005 Установка привода коробки передач
0000-1703200 Установка опоры рычага переключения передач с крышкой
5490-2200001-20 Установка карданного вала
5490-2400948-10 Мост задний
5490-2800011 Рама в сборе с кронштейнами
5490-2809001 Установка переднего противоподкатного защитного устройства
5490-2900002-45 Установка задней подвески
5490-2900005-45 Установка кронштейнов подвески на раму
65205-2900006 Установка кронштейнов передней подвески
5490-2900101 Рессора передняя со стабилизатором
5490-2902012-15 Рессора передняя
5480-2902542 Серьга со втулкой
5490-2906001 Штанга стабилизатора с кронштейнами и стойками
0000-2950010 Модуль передний
5480-3000012 Ось передняя с тормозами
5480-3000015 Ось передняя
5460-3101702-60 Установка передних стальных колес
5360-3103009-02 Ступица переднего колеса с диском тормоза, подшипниками и манжетой
5360-3103010-02 Ступица переднего колеса с диском тормоза
5460-3101703-61 Установка сдвоенных стальных колес
5460-3101711-60 Колесо 9.00x22,5 стальное с шиной
0000-3400014 Установка колонки рулевого управления
5490-3400012-10 Установка агрегатов рулевого управления
5490-3400018-15 Установка трубопроводов
5490-3400019 Установка бачка и насоса ГУР
0000-3400114 Колонка рулевого управления без подрулевых переключателей
5490-3414010 Тяга сошки
5490-3422008 Вал карданный
5490-3422010 Вал карданный
5490-3422010-02 Вал карданный
5490-3422012 Шарнир со стаканом подшипника
5490-3422030 Шарнир со шлицевым валом
5490-3444006 Колонка с карданным валом
0000-3500014 Установка педального блока
5360-3501011 Тормоз передний
5490-3506050-30 Клапан электромагнитный с фитингами
5490-3506051-30 Клапан электромагнитный с фитингами
5490-3506052-30 Блок электромагнитного клапана с фитингами
5490-3506180-15 Охладитель в сборе с кронштейном
5490-3509000-05 Установка отвода воздуха от компрессора в пневмосистему
5490-3511001-15 Осушитель в сборе с ресивером
5490-3511010-15 Осушитель в сборе с фитингами
5490-3513002-30 Ресивер малый с фитингами
5490-3513002-31 Ресивер малый с фитингами
5490-3513003-30 Блок ресиверов с фитингам
5490-3513005-30 Ресивер в сборе с фитингами
5490-3513006-30 Ресивер с фитингами
5490-3513011-15 Ресивер малый в сборе с фитингами
0000-3514001 Блок педалей с элементами крепления и датчиками
0000-3514005 Блок педалей
0000-3514010 Тормозной кран с фитингами
5490-3542001-30 Блок управления тормозами передней оси
5490-3542003-30 Модулятор передний правый
5490-3542005-30 Модулятор передний левый
5490-3542007-30 Блок управления тормозами второго контура
6580-3703001 Установка ящика с аккумуляторами
6580-3703002 Установка аккумуляторных батарей
6580-3703173 Установка крышки верхней ящика аккумуляторных батарей
6580-3703180 Установка кронштейнов АКБ
0000-3710008 Установка концевого выключателя
5490-3711001-10 Установка фар
0000-3714001 Установка электрооборудования кабины
0000-3715003 Установка освещения подножки
5490-3716002-80 Установка задних фонарей
5490-3721001-10 Установка звуковых сигналов
5490-3723007 Установка парковочной розетки и спирального кабеля
5490-3726001-10 Установка бокового повторителя указателя поворота
5490-3727001 Установка прожектора освещения сцепного устройства
5490-3731001-40 Установка боковых габаритных фонарей на боковой защите
5490-3731001-50 Установка боковых габаритных фонарей на задних крыльях
5490-3731001-60 Установка боковых габаритных фонарей на передних крыльях
5490-3737001-10 Установка малогабаритного выключателя массы
0000-3738001 Установка фонарей автопоезда
0000-3738002 Установка габаритных фонарей
5490-3743001 Установка противотуманных фар
5490-3765002-10 Установка блока управления коммутацией элетрооборудования
0000-4000200 Установка электроники в кабине
0000-4000230 Установка электроники в двери левой
0000-4000240 Установка электроники в двери правой
0000-4000700 Установка электроники в надоконной полке
0000-4000800 Установка электроники на крыши
0000-4000900 Установка электроники на спальном месте
0000-4011100 Установка кронштейнов в панель приборов
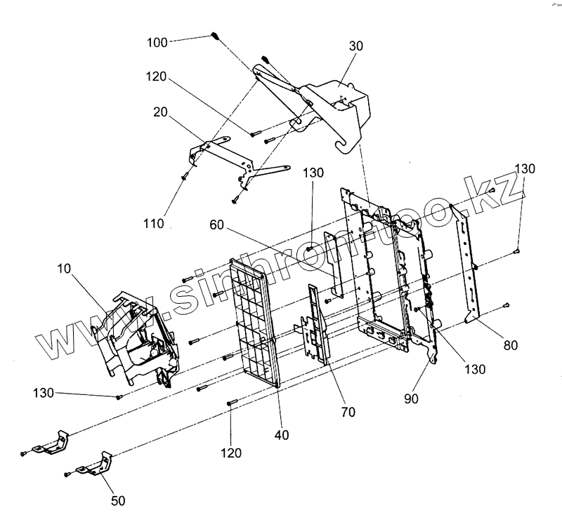
5490-4011101-10 Кронштейн блока коммутации
5490-4012001 Установка щитка приборов
0000-4014100 Установка органов управления в панели приборов
0000-4015100 Установка блоков управления в панели приборов
0000-4015101 Установка блоков в блоке коммутации
0000-4017100 Установка реле в блоке реле и предохранителей
0000-4018100 Установка предохранителей в блоке реле и предохранителей
0000-4019220 Установка датчиков в педальном блоке
0000-4023100 Установка розеток
0000-4023101 Установка прикуривателя
0000-4070100 Установка жгута проводов в панели приборов
0000-4070220 Установка жгута проводов в педальном блоке
5490-4015361 Установка блока нейтрализации
5490-4019321 Установка датчика угловых скоростей
5490-4019351 Установка датчиков температуры и влажности
5490-4030010-30 Электромагнитный клапан ECAS с соединительной арматурой
5490-4055002-30 Установка датчика положения кузова
5490-4055010-30 Датчик положения в сборе с кронштейном
0000-5000003 Установка элементов подвески кабины на кабину
0000-5000014 Каркас кабины окрашенный с дверями
0000-5000120 Установка сидений
5490-5000079-25 Установка механизма опрокидывания кабины
5490-5001002-20 Установка кронштейнов опорных
5490-5001009-20 Установка кронштейнов задней подвески нижних
5490-5001410 Кронштейн облицовки правый
5490-5003179-25 Механизм опрокидывания кабины
0000-5205001 Установка стеклоочистителя
0000-5206005 Установка лобового стекла
0000-5208004 Установка бачка омывателя
0000-5300023 Установка панели приборов
0000-5301350 Установка облицовки передних стоек
0000-5310001 Установка панели ручек передка
0000-5325010 Установка панели приборов с оборудованием
0000-5325015 Установка каркаса панели приборов
0000-5325020 Установка верхней панели
0000-5325030 Установка нижней и боковой панели
0000-5325040 Установка декоративных прокладок
0000-5325042 Установка облицовок
0000-5325050 Установка панели проема рулевой колонки
5490-5614090-20 Установка кронштейнов шумоизоляционного экрана над двигателем
5490-5614200-20 Установка шумоизоляционных экранов боковых над двигателем
0000-5713008 Установка вентиляционного люка
0000-6100005 Установка арматуры двери
0000-6105005 Установка фиксаторов замков дверей
0000-6107002 Установка уплотнителя двери
0000-8101010 Установка климатическая
0000-8101030 Кондиционер
0000-8101060 Трубопровод кондиционера
0000-8101070 Фильтр пылевой
5490-8106002 Установка автономного топливного бачка
5490-8106003 Установка жидкостных рукавов
5490-8106005-40 Установка подогревателя
5490-8114025 Установка трубок компрессора
0000-8201002 Установка комплекта зеркал
0000-8202005 Установка поручней
5490-8212180 Установка маркировки светоотражающей на кабине
0000-8213005 Установка надоконной полки
0000-8219002 Установка спальных мест
5490-8400006-10 Установка оперения кабины
0000-8401008 Установка облицовочной панели и боковых обтекателей
0000-8415002 Противосолнечный козырек
0000-8424008 Установка молдингов
5490-8403040-10 Крышка ящика инструментального
5490-8401008 Установка облицовочной панели и боковых обтекателей
5490-8401100 Панель облицовочная верхняя с замками
5490-8401214 Обтекатель правый
5490-8401215 Обтекатель левый
5490-8401217 Панель обтекателя внутренняя правая в сборе с панелью нижней
5490-8401218 Панель обтекателя внешняя правая
5490-8401219 Панель обтекателя внешняя левая
5490-8401308 Панель облицовочная нижняя с логотипом
5490-8401310 Решетка радиаторная с логотипом
5490-8403012-10 Панель передней части переднего крыла с накладкой подножки правая
5490-8403014-10 Панель передней части переднего крыла
5490-8403032-10 Панель средней части переднего крыла правая
5490-8403033-10 Панель средней части переднего крыла левая
5490-8403070-10 Держатель панели крыла правого
5490-8423008 Установка верхних и боковых обтекателей
5490-8403010-30 Установка задней части переднего крыла правая
5490-8403011-30 Установка задней части переднего крыла левая
5490-8403020-30 Задняя часть переднего крыла правая
5490-8403021-30 Задняя часть переднего крыла левая
5490-8404003-20 Установка задних крыльев
5490-8404006-20 Крыло заднее №1 правое
5490-8404007-20 Крыло заднее №1 левое
5460-8404009-50 Крыло заднее верхнее
5490-8404010-20 Крыло заднее №2 правое
5490-8404011-20 Крыло заднее №2 левое
5490-8404055 Установка кронштейнов заднего крыла
5490-8404400-10 Установка настила рамы
5490-8404520 Установка поручня
5490-8405010-10 Установка подножек правая
5490-8405011-10 Установка подножек левая
5490-8405100-10 Щиток подножки с люком правый
5490-8407160(2) Петля
5490-8410003-10 Установка боковой защиты
5490-8416012-10 Установка облицовки буфера
5490-8416014-10(2) Облицовка буфера с накладками
5490-2700001-10 Установка седельно-сцепного устройства
10
20
30
40
50
60
70
80
90
100
110
120
120
130
130
130
130
Позиция на иллюстрации
Заводской номер детали
Название детали
5490-4011101-10
5490-4011101-10
Кронштейн блока коммутации
10
A9405400240
Держатель
20
A9405430940
Кронштейн
30
A9405420334
Рамка блока реле и предохранителей
40
A0005400723
Рамка
50
A9405450086
Скоба для крепления
60
A9445423040
Кронштейн
70
A9405430640
Держатель
80
A9405430840
Кронштейн
90
A9405420134
Опора
100
A0039948245
Гайка М5
110
N000000000888
Винт
120
N000000002490
Шестигранный болт
130
A0019846329
Болт
Содержащиеся в справочниках-каталогах запасные части и детали не предлагаются к продаже, а носят исключительно информационный характер
Дополнительная информация
×
Название:
Номер:
Примечание: