Вернуться на главную
Поиск
Каталоги запчастей к технике
Грузовые автомобили и прицепы
Камский автозавод
45143
55102-8500050 Установка упор
Каталог запасных частей к технике: Камский автозавод 45143. 55102-8500050 Установка упор
zoom-in
zoom-out
enlarge
shrink
circle-right
circle-left
file-text2
info
cart
Тип техники
Не выбрано
Легковые автомобили
Грузовые автомобили и прицепы
Автобусы
Сельхозтехника
Спецтехника
Двигатели
Мототехника
Марка
Не выбрано
BAW
DAF
DongFeng
FAW
Foton
HOWO
Hyundai
IVECO
JAC Motors
LGMG
MAN
Shaanxi
SITRAK
Studebaker
Tata
Volvo
Автокомпонент Плюс
БелАЗ
Брянский Арсенал
ГАЗ
ЗИЛ
КАЗ
Камский автозавод
КрАЗ
Мадара
МАЗ
МЗКТ
МоАЗ
Нефтекамский автозавод
Ставропольский Завод АвтоПрицепов
ТАТРА
Тонар
УралАЗ
ЧМЗАП
Модель
Не выбрано
4308 (2004)
4308 (2008)
4308 (Евро 3) (2013)
4308 (Евро 4) (2012)
4308-C4 (2019)
4308-C4 (2019)
4308-H3 (2019)
4308-R4 (2019)
4310
4310
43101
43114
43118 (2002)
43118 (Евро 4) (2012)
43253 (Часть-1) (2011)
43253 (Часть-2) (2011)
43253, 43255 (Евро-4) (2012)
43255 (Евро-2) (2012)
43255 (Евро-3) (2012)
4326 (2001)
4326 (2003г)
43261 (Евро-1, 2) (2007)
4350 (4х4) (2004)
43501 (4х4) (2007)
43502 (Евро 4) (2013)
45141 (2009)
45142 (2009)
45143 (2009)
5308 (Евро 3) (2012)
5308 (Евро 4) (2013)
5315
5320
53212
53228, 65111 (2004)
53229 (Евро 2) (2010)
5350 (6х6) (2004)
53501 (6х6) (2007)
53504 (6х6) (2007)
5360
53605 (Евро-4) (2013)
5410
54112
5460
5460 (2005)
5490 (2016)
55102
5511 (2003)
6350 (8х8) (2004)
63501 (8х8) (2007)
6450 (8х8) (2007)
6460
6460 (Евро 3, 4) (2013)
6460 (Евро 4) (2013)
65111 (2008)
65111 (Евро 4) (2012)
65115 (2001)
65115 (2009)
65115 (Евро-3) (2013)
65115, 65116 (Евро-4) (2010)
65116 (2006)
6520
6520 (Euro-2, 3) (2009)
6520 (Euro-4) (2012)
6520 (Euro-4) (2016)
65201 (2007)
65201 Евро 2-3 (2016)
6522 (2005)
6522 (Euro-2, 3) (2009)
6522 (Евро-4) (2016)
65226 (2009)
65226 (2013)
6540
KNORR-BREMSE применяемых на технике Камского автозавода
Общий (5320, 53212, 5410, 54112, 5511, 55102)
Самосв. установка 6520 (2011)
Схема
>
Не выбрано
45143-8500002 Установка платформы
55102-8500012-30 Установка дополнительных бортов
55102-8500012-40 Установка надставных бортов
45143-8500020 Платформа
55102-8500032 Установка запоров боковых бортов
55102-8500050 Установка упор
55102-8500054-10 Установка торсионов
45143-8500060 Установка канатов
55102-8502503-10 Уплотнитель горизонтальный бокового борта
55102-8502610-10 Борт дополнительный боковой
55102-8504310-10 Борт дополнительный передний
45143-8600003 СПГ Опрокидывающее устройство
45143-8600064 Установка надрамника, опор платформы и поперечин
45143-8603001 Установка гидроцилиндра
45143-8603010 Гидроцилиндр
55102-8606012-10 Установка электропневмоклапана
55102-8607001-20 Установка блока управления
55102-8607003-20 Блок управления
182-8607005 Блок гидрораспределителей
5511-8607010 Кран управления
5511-8607070 Клапан предохранительный
45143-8608001 Установка масляного бака
45143-8608010 Бак масляный
5511-8608310 Фильтр маслобака
5511-8608320 Труба фильтра с клапаном
55111-8609135 Труба высокого давления
55102-8609135-10 Труба высокого давления
45143-8609141 Труба высокого давления
55102-8609143 Труба высокого давления
45143-8609170 Труба высокого давления
55102-8609220-10 Установка кронштейна
55102-8614005-10 Механизм ограничения подъема платформы
45143-8611410 Канат ограничения
5511-8614010 Клапан ограничительный
55102-3731001-80 Установка боковых габаритных фонарей
45143-3731073-80 Пучок проводов габаритных фонарей
45143-4202001 Установка коробки отбора мощности с насосом
45143-4202005 Коробка отбора мощности с насосом
5511-4202010-20 Коробка отбора мощности
НШ32А-3-Л Насос шестеренный
55102-3904005 Установка заводской таблички
45143-3927002 Установка противооткатных упоров
6520-3927080 Держатель
45143-0000010-15 Автомобиль-самосвал КАМАЗ-45143
45143-0000011-15 Автомобиль-самосвал КАМАЗ-45143
45143-0000012-15 Автомобиль-самосвал КАМАЗ-45143
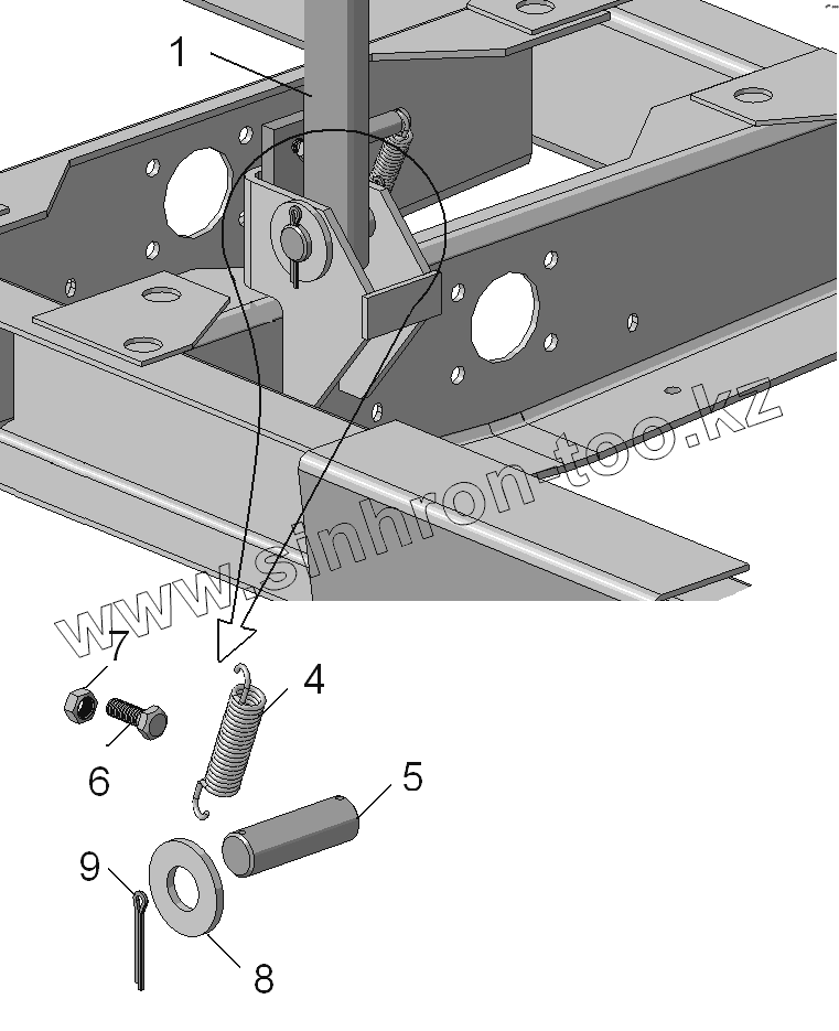
1
4
5
6
7
8
9
Позиция на иллюстрации
Заводской номер детали
Название детали
1
55102-8501440
Упор
4
5320-6815139
Пружина кронштейна спинки
5
55102-8501381
Ось упора
6
1/55405/21
Болт М12х1,25-6gх35
7
1/61036/11
Гайка М12х1,25-6Н
8
1/05208/01
Шайба плоская 30х54
9
1/07350/01
Шплинт 4,7х50
Содержащиеся в справочниках-каталогах запасные части и детали не предлагаются к продаже, а носят исключительно информационный характер
Дополнительная информация
×
Название:
Номер:
Примечание: